前言中华人民共和国国家标准
传统建筑工程技术标准 Technical standard for traditional building engineering GB/T 51330-2019 2019-04-09 发布
2019-08-01 实施 中华人民共和国住房和城乡建设部 国家市场监督管理总局 中华人民共和国住房和城乡建设部公告 2019年 第102号 住房和城乡建设部关于发布国家标准《传统建筑工程技术标准》的公告 现批准《传统建筑工程技术标准》为国家标准,编号为GB/T 51330-2019,自2019年8月1日起实施。 中华人民共和国住房和城乡建设部 根据住房和城乡建设部《关于印发〈2015年工程建设标准规范制订、修订计划〉的通知》(建标[2014]189号)的要求,标准编制组经广泛调查研究,认真总结实践经验,参考有关国际标准和国外先进标准,并在广泛征求意见的基础上,编制了本标准。 条文说明
编制说明 《传统建筑工程技术标准》GB/T 51330-2019,经住房和城乡建设部2019年4月9日以第102号公告批准、发布。 1 总则1.0.1 为规范传统建筑工程的设计和施工,传承传统工艺,做到安全可靠、技术成熟、经济合理、确保质量,制定本标准。 1.0.2 本标准适用于新建的具有典型传统规制和做法的建筑工程的设计和施工。 1.0.3 对传统建筑进行规划、设计时,抗震、消防、节能、防潮、防腐、防虫、防雷及节能等应符合国家现行标准的规定。 1.0.4 传统建筑工程的设计和施工除应符合本标准外,尚应符合国家现行有关标准的规定。 条文说明
1.0.2 规定了本标准适用范围。由于我国历史悠久、幅员辽阔,不同的历史时期、不同的地区、不同的民族,建筑形式都会有所不同,都有各自的传统建筑特色,当执行本标准遇到本标准未尽内容时,可以按当地的传统做法执行。1.0.3 与现代建筑相比,传统建筑施工在加工过程、安装过程、装饰装修过程中,存在着更多的手工操作,在规划、设计时一定要对其材料及使用功能提出明确要求。 2 术语2.0.1 传统建筑 traditional building 2.0.2 面阔 breadth,bay 平行于桁檩方向,且位于同一直线上相邻两根檐柱中心线至中心线间的水平距离。 2.0.3 进深 depth 平行于梁架方向,且位于同一直线上相距最远的两根柱中心线间的水平距离。 2.0.4 甬路 corridor 大型院落或墓地中间对着厅堂、坟墓等主要建筑物的路,多用砖石铺墁。甬路均有泛水,两边多做散水,两侧端头铺有牙子砖。 2.0.5 木构架 timber frame 木结构中承重木结构及其组合的总称。 2.0.6斗栱 bracket set 由方形的斗升和矩形的栱、斜的昂组成。在结构上挑出承重,并将屋面的荷载经斗栱传递到柱上,是建筑屋顶和屋身立面上的过渡,具有装饰作用。 2.0.7 榫卯 tenon and mortise 在两个木构件上所采用的一种凹凸结合的连接方式。凸出部分叫榫(榫头),凹进部分叫卯(榫眼、榫槽),榫和卯咬合,起到连接作用。 2.0.8 山墙 gable wall 建筑物两端的立墙,上部可呈三角形或阶梯形等。 2.0.9 檐墙 eave wall 处于檐檩下的围护墙。后檐位置的称为后檐墙,前檐位置的称为前檐墙。露出椽子的,称为老檐出或露檐出;不露出椽子的,称为封护檐或封后檐。 2.0.10 硬山 flush gable roof 一种屋顶的结构形式。屋面有前后两坡,两山墙直接承托两坡屋面,山面的桁檩不出头,檩木梁架全部封砌在山墙以内。 2.0.11 悬山 overhanging gable roof 一种屋顶的结构形式。屋面有前后两坡,两端各条桁或檩伸到山墙以外,以支托悬挑于外的屋面部分。悬山又称挑山。 2.0.12 歇山 gable and hip roof 一种屋顶的结构形式。由庑殿和悬山相交而成的屋顶结构,它有一条正脊、四条垂脊、四条戗脊,又称九脊殿。 2.0.13 庑殿 hip roof 一种屋顶的结构形式。屋顶的前后左右四面都有斜坡,并有一条正脊和四条垂脊的建筑,又称五脊殿。又因五条脊将屋顶分成四面流水的四个屋面和坡顶,故又称四阿顶。 2.0.14 上槛 headsill 安装隔扇所用框架的最上面紧贴檐枋的横木,又称替桩。 2.0.15 下槛 mudsill 安装门窗隔扇所用框架贴于地面的横木。 2.0.16 实榻门 matchboard door 用厚度相同的木板拼合的木门,又称实拼门。 2.0.17 攒边门 checkerboard door 四边用较厚的边抹攒起外框,门心装薄板穿带。因其形如棋盘,又称棋盘门。 2.0.18 撒带门 piedai door 只用一根门边,不用上下抹头,只用穿带销合门心板。穿带一端做榫,在门边上凿卯眼,将门心板与门边结合;穿带另一端撒头,凭另一根压带连接,门的其余三面不做攒边。 2.0.19 屏门 screen door 装在室内后金柱(后步柱)部位的门。 2.0.20 楣子 hanging panel 楣子有两种,安装在檐桁下面的叫倒挂楣子,安装在坐凳下面的叫坐凳楣子。 2.0.21 地园 floor fascia of circular gate 通道部位呈正圆形的地罩。 条文说明
2.0.1~2.0.21 传统建筑的术语很多,本标准仅对规定内容中的部分术语进行了编制。
3 工程设计3.1 一般规定 条文说明
传统建筑的类型较多,按屋顶形式分类,常用的有:庑殿建筑、歇山建筑、硬山与悬山建筑、攒尖建筑等。这些建筑的形式类别不同,但在设计和施工中,有一些基本规则是通用的,本标准对这些通用规则进行统一规定。传统建筑其型制、特色的选择与表现,应考虑该项目的历史、地理文化背景中各时期的风格,根据表现程度可依据或参考借鉴宋代的《营造法式》和清代的《营造则例》、《营造法原》或者其他地域典型传统建筑中的做法。
3.1 一般规定3.1.1 传统建筑工程项目,应符合城乡规划要求,经济、有效利用土地,保护生态,并应与周围环境相协调。 3.1.2 传统建筑工程项目,应根据当地气候和地貌特征、当地传统建筑的风格特征及满足现代社会的需要进行设计。 3.1.3 传统建筑工程设计应尊重传统人文习俗、民族习惯,传承传统建筑的特征,因地制宜地利用传统材料,采取经济合理的技术措施,体现地方性和民族性。 3.2 形制特征3.2.1 传统建筑的形制特征应符合下列规定: 3.2.2 传统建筑面阔和进深设计应符合下列规定: 1 带斗栱建筑各间的面阔与进深应以斗栱攒数确定; 3.2.3 传统建筑选用木结构时,其平面柱网应符合下列规定: 1 硬山与悬山建筑的柱网宜采用二排柱、三排柱、四排柱等形式; 3.2.4 传统建筑的主要构造应符合下列规定: 1 台基应由台身、台阶踏跺和栏杆三部分组成,位于柱与围护之下,并应符合下列规定: 3.3 木构架设计3.3.1 传统建筑木构架应分为抬梁式、穿斗式、干阑式、井干式构架。 3.3.2 抬梁式结构应符合下列规定: 1 基本构造方式应为立柱和横梁组成构架直至最上一层梁上立脊瓜柱; 3.3.3 穿斗式结构应符合下列规定: 1 应由柱和步架组成列架; 3.3.4 干阑式结构除应符合穿斗式结构的规定外,底层架空不得封闭。 3.3.5 井干式结构应以圆木或矩形、六角形木料平行向上层层叠置,在转角处木料端部交叉咬合,形成房屋四壁。 3.3.6 大木构架设计应符合下列规定: 1 木构架的设计应按传统建筑形制的要求进行,构件材料除选用天然木材外,宜选用现代工程木; 3.3.7 斗栱设计应符合下列规定: 1 斗栱设计应满足斗、栱、昂及素方等的构件结构安全和使用功能要求; 3.3.8 木构件采用榫卯连接应符合下列规定: 1 固定垂直构件应采用管脚榫或套顶榫; 4 工程材料4.1 建筑木材 4.1 建筑木材4.1.1 传统建筑木材用料应符合下列规定: 表4.1.1 承重结构木构件材质等级
4 木材材质等级应按承重结构的受力要求进行分级。其选材应符合现行国家标准《木结构设计标准》 GB 50005的规定,不得采用商品材的等级标准替代。 4.1.2 木装修用材的树种规格等级和质量应符合设计要求。木装修构件材质的选材标准应符合表4.1.2 的规定。 表4.1.2 木装修构件材质的选材标准
注:表中材料规格均为毛料规格。 条文说明
4.1.1 传统建筑的大木用材主要为松、杉木,少数用楠木;装修用料为硬杂木。随着近年进口木料的普遍使用,凡符合力学强度及外观质量要求者均可选用。
4.2 砖瓦4.2.1 传统建筑砖瓦宜采用当地生产的品种,规格应按设计要求选用。 4.2.2 传统砖的尺寸允许偏差和外观质量应符合表4.2.2的规定。 表4.2.2 传统砖尺寸允许偏差和外观质量标准
1 为装饰面施加的色差、凹凸纹、拉毛、压花等不应视为缺陷; 4.2.3 传统合瓦的尺寸允许偏差和外观质量应符合表4.2.3的规定。 表4.2.3 传统合瓦的尺寸允许偏差和外观质量标准
4.2.4 传统琉璃瓦及琉璃饰件的尺寸允许偏差和外观质量应符合表4.2.4的规定。 表4.2.4 传统琉璃瓦及琉璃饰件的尺寸允许偏差和外观质量标准
注:琉璃饰件釉色应基本一致,表面光滑整洁,釉色鲜亮纯正。 4.3 建筑石材4.3.1 天然石材的主要技术性能应符合表4.3.1的规定。 表4.3.1 天然石材主要技术性能
4.3.2 石砌体所用的石材应符合设计规定的强度等级和岩种的要求,并应质地坚实,无风化、剥落和裂纹。 4.3.3 传统建筑石材选用应符合下列要求: 1 石材按加工后的外形规则程度可分为料石和毛石。当设计对石料强度无具体要求时,抗压强度应按表4.3.3的要求执行。 表4.3.3 石材的抗压强度
2 石材应按工厂出厂检验的规定进行组批检验、抽样检测,检测内容包括规格尺寸偏差、平面度极限公差、角度极限公差、外观质量、表面光洁度等。 4.3.4 料石石材看面的外观质量应符合表4.3.4的规定。 表4.3.4 料石石材看面外观质量标准
4.3.5 料石表面的加工质量应符合表4.3.5的规定。 表4.3.5 料石表面加工质量要求
4.3.6 砌筑用料石的宽度、厚度均不宜小于200mm;长度不宜大于厚度的4倍。料石规格尺寸的加工允许偏差应符合表4.3.6的规定。 表4.3.6 料石规格尺寸加工允许偏差
4.4 建筑生石灰4.4.1 钙质生石灰氧化镁含量不应大于5%,镁质生石灰氧化镁含量应大于5%。传统建筑生石灰的技术指标应符合表4.4.1的规定。 表4.4.1 建筑生石灰的技术指标
4.4.2 建筑生石灰粉的技术指标应符合表4.4.2的规定。 表4.4.2 建筑生石灰粉的技术指标
4.4.3 建筑消石灰粉的技术指标应符合表4.4.3的规定。 表4.4.3 建筑消石灰粉的技术指标
4.5 桐油、生漆4.5.1 桐油的技术要求应符合下列规定: 表4.5.1 桐油的等级指标
7 各级桐油中均不得含有痴油; 4.5.2 生漆的技术要求应符合现行国家标准《生漆》GB/T 14703的规定。 4.6 钢材4.6.1 钢材进场检验应符合下列规定: 4.7 水泥、砂石4.7.1 建筑水泥用料进场检验应符合本标准第4.6.1条的规定。 4.7.2 水泥的技术要求应符合现行国家标准《通用硅酸盐水泥》GB 175的规定。 4.7.3 建筑用石子的技术要求应符合现行国家标准《建设用卵石、碎石》GB/T 14685的规定。 4.7.4 建筑用砂的技术要求应符合现行国家标准《建设用砂》GB/T 14684的规定。 5 台基工程5.1 一般规定 5.1 一般规定5.1.1 基础与台基工程所使用的材料及制品的规格和质量,必须符合设计要求。 5.1.2 冬期或雨期施工期间不宜进行挖方或地基施工。如进行施工时,应采取防冻或防雨措施。 5.1.3 基础与台基工程中有关砌体、混凝土、钢筋混凝土工程,除应符合本标准的规定外,尚应符合现行国家标准《建筑地基基础设计规范》GB 50007的规定。 5.2 地基工程5.2.1 传统建筑地基、地基处理和复合地基的设计、施工、质量检验应符合国家现行标准《建筑地基处理技术标准》JGJ 79、《复合地基技术标准》GB/T 50783和《建筑地基工程施工质量验收标准》GB 50202的规定。 5.2.2 传统建筑的素土和灰土地基采用机械夯实时,宜虚铺210mm~250mm,夯实150mm。 5.2.3 素土和灰土地基宜采用粉质黏土,土质宜纯净,土内不宜掺有落房渣土或煤灰炉渣等。 条文说明
5.2.1 本章适用于传统建筑工程的新建、修缮工程的地基与基础工程的施工及验收。5.2.2、5.2.3 夯筑灰土如不能在一天内完成时,应分段进行。 夯实的厚度:灰土的密实度是决定灰土强度的重要因素。同样的虚铺厚度,夯实后的厚度越小,密实度就越高。因此,操作时务必要保证将灰土夯至规定的厚度,如未达到标准,应不断夯筑,直至达到标准为止。 冻结的白灰和黄土不得用于拌合灰土;受雨水浸湿的基土或灰土,应在晾干后,重新夯打密实。
5.3 基础工程5.3.1 无筋扩展基础、钢筋混凝土扩展基础、桩基础等各类现代基础的设计应符合现行国家标准《建筑地基基础设计规范》GB 50007的规定。 5.3.2 基础工程的施工和质量验收应符合现行国家标准《建筑地基基础工程施工规范》GB 51004和《建筑地基工程施工质量验收标准》GB 50202的有关规定。 5.4 台明工程5.4.1 须弥座应传承地方传统做法。根据台明的规模和使用的材质,可分为带勾栏和不带勾栏两种形式进行设计和施工,勾栏式台明宜为规模大且由石质或琉璃砌筑的须弥座(图5.4.1)。
图5.4.1 带勾栏台明 5.4.2 须弥座台明(图5.4.2)可分为素须弥座和调作式须弥座两种。
图5.4.2 须弥座台明 5.4.3 复合型台明(图5.4.3)应为两种或三种台明混合使用的类型,宜用于较重要的宫殿和坛庙建筑。
图5.4.3 复合型台明 5.4.4 小式建筑的台明高度宜为檐柱高度的1/7~1/5,大式建筑的台明高度宜为檐柱高度的1/5~1/4。露台应设栏杆,且高度应比台明低一个踏步。台明下出宜为上檐的3/4~4/5。回水宜为200mm~400mm。 5.4.5 小式建筑的台明下出宜为300mm~400mm;大式建筑的台明下出不得小于500mm。 5.4.6 石鼓镜顶面的半径,在小式建筑中宜比柱底端半径大0mm~20mm,在大式建筑中宜比底端半径大30mm~40mm。石鼓镜高度与其顶面直径之比宜为0.6~0.7。檐柱与金柱柱顶石的厚度宜相同。 5.4.7 砖砌柱基应按独立砖柱基础设计,独立砖柱基础之间宜设置地垄墙,独立砖柱基础与地垄墙应同时设计。 5.4.8 当柱子为木柱时,小式建筑与大式建筑所有柱的磉石均宜采用整磉石。 5.4.9 普通台明的砌筑形式(图5.4.9)应符合下列规定:
图5.4.9 台明的砌筑形式 1 青砖台明,砖料宜采用城砖或条砖,宜用于民居、地方建筑或室内佛座等基座类砌体; 5.4.10 台明各部分尺寸应符合表5.4.10的规定。 5.4.12 石勾栏和护身墙应用于高台临空侧或高差较大的台阶临空侧。栏杆和墙的高度不应小于1.1m。 5.4.13 垂带踏跺,垂带中至中的水平距离宜为明间面阔的长度。 5.4.14 垂带石本身的宽度宜按檐柱柱径的1.5倍~2倍确定,且不应小于400mm。象眼石厚度应同垂带石或阶条石。若檐柱的垂带台阶为方梅花柱,垂带石宽度宜按400mm~500mm确定,厚度应为120mm~150mm。踏跺石的宽度应为320mm~370mm,其中叠压宽度为20mm、净漏宽度为300mm~350mm,厚度应为120mm~150mm。 5.4.15 如意台阶应无垂带、象眼石、燕窝石,各层台阶均应由踏跺基石组装拼装而成。如意台阶踏跺基石厚度尺寸应同垂带台阶踏跺基石,也可使用青砖砌筑。 表5.4.10 台明各部分尺寸
注:大型建筑物应特例规定。 5.4.16 礓
5.4.17 垂带踏跺与如意踏跺在归安时,应设计纵向排水坡度。 5.4.18 在斜坡道和踏道两侧的钩阑,其斜高应等于正钩阑的高度。 5.4.19 寻杖栏杆(图5.4.19)的主要构件应由望柱、寻杖扶手、腰枋、下枋、地栿、绦环板、牙子以及荷叶净瓶等组成。
图5.4.19 寻杖栏杆及其构造 a—寻杖扶手;b—望柱;c—中枋;d—绦环板;e—下枋;f—牙子;g—地栿;h—透榫;j—净瓶;k—双榫;m—荷叶 5.4.20 望柱应附着在檐柱侧面,望柱柱径宜为130mm~170mm,或按檐柱柱径的3/10确定。 5.4.21 望柱高宜为1300mm,望柱宽高比宜为2∶11。 5.4.22 扶手高度应为1000mm~1170mm,两端应采用榫交于望柱。 5.4.23 扶手断面形式应分为方形、圆混、四混、六混、八混。当扶手断面为圆形时,直径宜为70mm~100mm(图5.4.23)。
图5.4.23 寻杖断面形式 5.4.24 地栿宽度应等于或大于望柱,两端应交于檐柱根部。 5.4.26 腰枋和下枋断面应呈方形,宽度不应大于望柱。 5.4.27 绦环板每间应分成3块~5块,中间应由折柱分隔开。 5.4.28 荷叶净瓶应与折柱相对,应用一根木头做成。 5.4.29 长身地栿与上枋上皮之间应间隔适当距离设计过水沟,过水沟位置应在望柱之间(图5.4.29)。
图5.4.29 地栿示意 a—栏板;b—禅杖眼;c—望柱;d—栏板立槽;e—地栿;f—望柱槽;g—栏板平槽;h—扒锔槽;j—扒锔;k—望柱榫眼;m—地栿;n—过水沟 5.4.30 石栏杆地栿的位置应比台基阶条石或须弥座上枋退进1/5~1/2地栿厚度。 5.4.31 石栏杆柱身断面宜为正方形。柱子底面应凿出榫头,柱子的两个侧面应落栏板槽,槽内应按板榫的位置凿出榫窝。 5.4.32 当台基高度为0.8m~1.5m时,望柱的高度应比台基的高度略低。 5.4.34 垂带上寻杖栏杆及垂头地栿制作安装(图5.4.34)应符合下列规定: 1 踏跺上垂头地栿应比垂带退进地栿金边的1倍~2倍; 表5.4.33 各式柱头及其适用范围
图5.4.34 垂带上寻杖栏杆及垂头地栿 a—垂带;b—抱鼓;c—垂带栏板;d—垂带上柱子;f—台明柱子;g—垂带上地栿;h—踏跺上垂头地栿;j—踏跺上垂头地栿的几种变化形式;k—台明上垂头地栿 5.4.35 抱鼓石的内侧面和地面应凿石榫,并应安装在柱子和地栿的榫窝内(图5.4.35)。
图5.4.35 抱鼓石 5.4.36 寻杖栏杆每一段的高度与长度的标准比例宜为1∶2,寻杖栏杆各部分的比例应符合表5.4.36的规定。 表5.4.36 寻杖栏杆各部分比例
5.4.37 栏板柱安装前,应先在阶条石部位确定金边尺寸,并弹出墨线,然后接线稳定地栿,地栿稳定后,在地栿上分出望柱和栏板的位置。 5.4.38 立望柱和栏板时,应拉通线,并用线坠将望柱和栏板吊正,下面用铁片或铅铁片垫稳,构建缝隙处可用白油灰勾抹密实。 5.4.39 罗汉栏板栏杆地栿的尺寸设计应与寻杖栏板栏杆相同。地栿高宽比宜为1∶2,高宜为140mm~180mm,其中地栿槽深不宜超过1/10地栿高,宜为20mm~30mm,宽宜为250mm~360mm。地栿外皮至须弥座上枋石外皮的尺寸应为50mm~70mm。 5.4.40 罗汉栏板栏杆上面应剔凿栏板槽,不宜剔凿望柱槽及望柱。 5.4.42 罗汉栏板栏板肚的厚度宜为地栿宽度的60%~70%。栏板肚应分两阶凸出,每阶5mm~10mm。 5.4.43 使用罗汉栏板时,同一列的栏板数量应为奇数,居中一块应为最高,高度宜为700mm~900mm,其他各块依顺序递减,每级宜为50mm~100mm。居中栏板的长度应最长。 5.4.44 罗汉栏板栏杆抱鼓石的高度应与最末一块栏杆高度同高。厚度应与其他栏板相同。 条文说明 5.4.2 须弥座台明由土衬、圭角、下枋、下枭、束腰、上枭、上枋等构成。5.4.4、5.4.5 台明高度应符合地势、功能或群体空间组合的需要。 如果下出或两山位置的阶条石经常作为交通路线,其宽度可适当调整。如园林中的游廊、亭子的下出,又如台明高超过600mm的悬山、歇山、庑殿建筑的两山阶条,均应适当加大。必要时可加大至与上出相同的尺寸,特殊情况甚至可大于上出尺寸。 包砌台明一般应与台基的施工进度相同,但如果阶条之上没有墙体,可局部或全部延至屋顶工程竣工后再包砌台明。这样可以利于台明成品保护。 5.4.7、5.4.8 工程地质勘察应在每个柱基下布置钻孔,给基础设计提供可靠的地质资料。 磉石或柱顶石以下为柱基(磉墩)。当做砖砌柱基时,应按独立砖柱基础进行施工。独立砖柱基础之间宜设置地垄墙(拦土),独立砖柱基础与地垄墙应同时施工,不能同时施工时,应留出插筋进行连接。如做混凝土柱基时应先砌地垄墙,按抗震要求留出拉结筋,后浇柱基础,保证地垄墙与柱基形成整体。 5.4.10 台明的尺寸要考虑与周围环境及建筑物的关系,必要时应适当调整。 相邻的建筑不但要考虑台明之间的关系,还要考虑屋顶之间的关系。确认耳房的台明宽度时,如不事先考虑屋顶的情况,就可能发生屋顶相互碰撞或遮挡阳光的现象。 5.4.16 礓嚓是一种剖面呈锯齿状、表面如搓衣板状的石构或砖砌坡道。礓嚓砖砌台阶应用青砖砌成,砖厚为礓嚓厚度。 5.4.36 抱鼓应位于垂带上栏板柱子的下方。抱鼓的大鼓内一般仅仅做简单的“云头素绒”,但栏板合子心内做雕刻,则抱鼓上也可雕刻相同题材的图案花饰。抱鼓的尽端形状多为麻叶头和角背头两种式样。 6 木构架工程6.1 一般规定 6.1 一般规定6.1.1 传统建筑木构架宜采用抬梁式、穿斗式、干阑式、井干式等结构体系,设计应体现不同时代、不同地域的结构特点及风格,施工应结合各地传统建筑特点采用传统施工工艺。 6.1.2 传统建筑木构架使用的材料品种、规格和质量,应符合设计要求。 6.1.3 传统建筑木构架承重结构木构件材质等级应满足设计要求,木材含水率应符合本标准第4.1.1条的规定,并应对木材含水率和相关物理、力学性能进行检测。 6.1.4 传统建筑木构架的防火设计应满足木构件防火和结构整体防火要求,并应符合国家现行标准的规定。 6.1.5 传统建筑木构架构件宜采用传统技术加工制造。如因构件构造复杂或受力所限,可采用现代加工和节点连接技术。 6.1.6 传统建筑木构架除应符合本标准外,尚应符合国家现行标准《古建筑修建工程施工与质量验收规范》JGJ 159、《木结构工程施工质量验收规范》GB 50206 等相关标准的规定。 条文说明
6.1.1~6.1.6 传统建筑木结构承重体系、构造做法等应体现中式建筑不同时代、不同区域的特点及风格,施工也应结合各地建筑特点优先采用传统施工工艺,但是也不排斥使用现代工艺加工形成的材料和构造做法。传统建筑作为新建建筑,其木构架设计、验收等应按照国家现行相关标准执行。
6.2 大木构架6.2.1 大木构架的制作应符合下列规定: 6.2.2 大木构架上层木构件制作应符合下列规定: 1 梁类构件宜标注构件名称,同一建筑的梁类构件不应重名。书写构件名称的位置应在构件隐蔽处,书写应清晰易认。 表6.2.2-1 梁类构件制作的允许偏差和检查方法
3 枋类构件的断面尺寸、形状、连接形式应符合设计要求,对形状复杂的应放大样后按样板制作。 表6.2.2-2 枋类构件制作的允许偏差和检查方法
注:L为枋长。 5 檩类构件制作应放出断面足尺大样,大样应符合设计要求,并应按样板制作。 表6.2.2-3 檩类构件制作的允许偏差和检查方法
注:L为檩长度;d为椽径;b为宽度;h为高度。 6.2.3 大木构架下层木构件制作应符合下列规定: 2 断面为圆形柱构件类的收分率应符合设计要求,方形、多角形柱不宜收分; 6.2.4 木构架安装应符合下列规定: 1 木构架安装应按设计要求复核平面尺寸,正确弹出各落地柱中线,中线应与木结构尺寸一致。 表6.2.4-1 大木构架下架安装的允许偏差和检查方法
10 大木构架上架安装的允许偏差和检查方法应符合表6.2.4-2的规定。 表6.2.4-2 大木构架上架安装的允许偏差和检查方法
6.2.5 木构架防护应符合下列规定: 1 木构架的防腐、防虫措施应符合设计文件规定的木构件使用环境类别; 6.2.6 木构架防火应符合下列规定: 1 木构架构件的燃烧性能和耐火极限应符合现行国家标准《建筑设计防火规范》GB 50016规定; 条文说明
6.2.1 传统建筑木构架构件制作时可能采用现代工程木,因此宜以机械加工与手工操作相结合的办法进行,但最后工序必须使用传统工具进行加工。6.2.2 本条是对大木构架上层木构件制作的规定。主要构件梁、檩(桁)、枋等按照现行行业标准《古建筑修建工程施工与质量验收规范》JGJ159执行。 6.2.3 本条是对大木构架下层木构件制作的规定。主要构件柱等按照现行行业标准《古建筑修建工程施工与质量验收规范》JGJ 159执行。 6.2.4 鉴于各地传统建筑木构架安装可能有本地常规做法,但是作为国家标准应做统一规定,因此本条从安装顺序、安装偏差及检验方法等方面做了规定。 6.2.5 木构架防护一方面应采取各种构造措施,保证构件的正常使用。另一方面通过对构件本身采用化学方法处理,提高其耐久性,且要保证药剂的安全性。 6.2.6 作为新建建筑,传统建筑木构架的防火应满足现行国家标准《建筑设计防火规范》GB50016关于木结构建筑防火的相关规定。木结构构件往往直接暴露,展现木质材料的天然纹理,因此可利用木构件燃烧后表面形成隔火炭化层的特性,将木构件截面加大,《木结构设计标准》GB50005-2017规定了具体计算方法。 6.3 斗栱6.3.1斗栱制作应符合下列规定: 6.3.2 斗栱安装应符合下列规定: 1 下构架安装结束后,应经检查、固定后方可进行斗栱安装; 表6.3.2 斗栱各构件制作组装允许偏差和检查方法
条文说明 7 墙体工程7.1 一般规定 7.1 一般规定7.1.1 砖砌体工程应在地基或基础验收合格后进行。 条文说明
7.1.2 传统建筑墙体砌筑工程如使用现代材料,应在不影响建筑的传统形式基础上使用,即在建筑的观感上应符合传统建筑形式特点。
7.2 砌筑砂浆7.2.1 砂浆的品种和强度等级应符合现行行业标准《砌筑砂浆配合比设计规程》JGJ/T 98的规定。 7.2.2 传统建筑中的石灰砂浆宜采用中砂,使用细砂时其含泥量不得超过15%。 7.2.3 传统建筑配制砂浆使用的石灰膏,由生石灰及生石灰粉熟化的时间分别不得少于7d和2d,并应符合现行行业标准《建筑生石灰》JC/T 479的有关规定。 7.2.4 石灰砂浆和纸筋灰的配比应符合设计要求,设计无要求时应符合本标准附录B的规定。 7.2.5 水泥、砂、石灰、水的质量要求,塑化剂、早强剂、缓凝剂、防冻剂、防水剂的品种及用量应按现行国家标准《砌体结构工程施工质量验收规范》GB 50203的规定执行。 7.2.7 墙体的灰浆应符合设计要求,设计无要求时应符合表7.2.7的规定。 表7.2.6 砖砌体的砂浆稠度
表7.2.7 灰浆的配置方法及用途
条文说明 7.2.7 本条所列均为传统建筑常用灰浆,灰浆材料无明确设计要求的,可按照本条比例配制,在使用过程中可根据实际情况适当调整配比。7.3 砖料制作7.3.1 砖的规格、质量、品种应符合设计要求,并应配有同批次出厂合格证或检测报告。 7.3.2 清水墙面砖的看面必须磨平、磨光,不得有局部糙麻不平和斧花。 7.3.3 砖肋不得将转头肋磨成圆弧形,不得有倒包灰。 7.3.4 砖包灰必须留有适当的转头肋,不得砍成刀口料。 7.3.5 砖的表面应完整、平直,不得有缺棱掉角和翘曲面。 7.3.7 直檐砖下棱应为棒子面。侧面露面的转头必须大于出檐尺寸。 7.3.8 砖雕雕刻内容和形式必须符合设计要求或传统做法,造型应准确,比例恰当。接槎应通顺、图案完好、无缺棱掉角。外观应形象生动美观,立体感强,线条流畅清晰。 7.3.9 砖细的制作应符合下列规定: 1 应根据设计对砖细的要求,选择合格的砖料; 条文说明
7.3.2 墙体砖面除了设计有特殊要求不进行打磨外,均应按照传统做法磨平磨光,但不得在砖面留有机械打磨痕迹。7.3.9 砖的质量、规格是否符合要求会直接影响墙体砌筑效果,所以砖的选料及各加工步骤应按照本条规定实施。 7.4 墙体砌筑7.4.1 山墙及檐墙的形式、做法及各部位的尺寸应符合下列规定: 7.4.2 硬山墙的墀头可分为下碱、上身和盘头,其做法应符合下列规定: 1 带挑檐石腿子的小台阶应按4/5柱径确定; 表7.4.2 盘头出檐尺寸要求
3 戗檐的出檐尺寸应由戗檐砖自连檐以下的长度和戗檐的扑身算出,戗檐的扑身可由两层盘头的出檐得到;
图7.4.3 山墙屏风和观音兜 1 屏风墙宽度应以屋面前后檐口的进深作为总宽; 7.4.4 廊心墙的上身不得采用卧砖墙面做法。廊心墙下碱高度应与山墙下碱相近,缝子形式应为十字缝。廊心墙墙心砌筑应每层完成后灌浆,并应采用铁丝或木仁拉结。 7.4.5 槛墙厚不宜小于柱径,应先确定槛墙高,后做槛窗,宜按3/10檐柱高确定。厕所的槛墙可加高,书房、花房或柱子较高的房间的槛墙高度可降低。槛墙的两端,里外皮应砍成八字柱门,与山墙里皮或廊心墙下碱交接处不得留柱门。 7.4.6 隔墙的形式、做法及各部位的尺寸应符合下列规定: 1 隔墙应沿柱中线砌筑; 7.4.7 院墙的形式、做法及各部位的尺寸应符合下列规定: 1 院墙的宽度与高度应使人不能徒手翻越; 7.4.8 墙体的出檐应符合下列规定: 1 冰盘檐的出檐宜为方出方入;
图7.4.7 院墙檐子及墙帽的形式 6 后口应砌压后砖,盖板的后口应抹大麻刀灰; 条文说明
7.4.1~7.4.3 房屋进深方向两侧的墙体即为山墙,山墙由下碱、上身、山尖、墀头等组成;戗檐砖自连檐以下的长度应为博缝砖的高度减去博缝在连檐以上的部分尺寸,不同部位的做法要求均是根据传统建筑特点而编制。其中三山屏风、五山屏风及观音兜为南方做法,是根据《营造法原》编制。不同地区传统做法不同,本标准均为官式做法,根据设计要求具体做法应符合传统建筑做法。7.4.5 槛墙也就是南方地区的半墙,根据位置不同分为半窗外墙和半窗内墙两种,位于檐柱为半窗外墙,位于金柱(步柱)为半窗内墙,而位于廊柱间,其上不装半窗。具体做法应符合传统建筑做法要求。 7.5 砖券7.5.1 砖券按其形式可分为平券、半圆券、车棚券和木梳券等。 7.5.2 砖券的起拱应符合下列规定: 1 发券用的券胎,应增高起拱。半圆券起拱髙度应为跨度的5%;木梳背券的起拱高度应为跨度的4%;平券起拱应为跨度的1%。 条文说明
7.5.1、7.5.2 砖券的砌筑也叫“发券”,在砖券中立砖称为“券砖”,卧砖称为“伏砖”,统称“几券几伏”。各种形式砖券一般券伏使用层数不同,平券大多只做券砖不做伏砖,木梳背券大多为一券一伏,半圆券、车棚券和锅底券大多为两券两伏以上做法。砖券砌筑前应进行放样,并制作砖胎。砖胎可为木砖胎,也可用砖搭成大致形状。大型砖券一般需搭设满堂脚手架,在脚手架上铺装木板成券胎;小型砖券一般应放大样制作木砖胎。 7.6 漏窗7.6.1 制作漏窗的砖、瓦、石、水泥、砂等材料的品种、规格、质量应符合设计要求和地方传统做法。 7.6.2 漏窗的图案、内容、风格应符合设计要求。 7.6.3 漏窗的安装应牢固、稳定,外观线条应均匀、光滑流畅,楞角应完整,表面应洁净。 7.6.4 花窗芯子宽可根据墙厚作调整,调整范围应控制在80mm~100mm。对半砖墙,芯子宽不得小于60mm。 7.6.5 如墙体较厚,应将墙的厚度扣除常规的芯子宽后作均分,应单独调整镶边的进深距离。 7.6.6 对安装于同一立面的花窗,除异形花窗外,其大小应一致,安装高度应统一。 7.6.7 当花窗安装于带有坡度的走廊檐墙上时,其底边及顶边应与走廊室内地面平行,两侧边线应垂直于地面。 7.6.8 经粉刷后的花窗,其平直线条应横平竖直,弧形线条应流畅和顺。整宕花窗必须表面平整,花窗空宕应大小合理,芯子看面厚薄应一致,芯子应上下平整、口角整齐。镶边应宽度相等、进出一致,应与墙面平行。 7.7 墙体排列及组砌规定7.7.1 墙身砌筑排列应符合下列规定: 7.7.2 砌体内的组砌应符合下列规定: 1 砌体内外砖(包括砂浆)厚度相同时,每皮砖均应有内、外搭接措施。 7.7.3 干摆、丝缝、淌白墙做法应符合下列规定: 1 干摆墙砖应使用五扒皮,砍砖前应先样活。 表7.7.3-1 干摆、丝缝墙允许偏差和检查方法
注:1 轴线位移不包括柱顶石掰升所造成的偏移; 表7.7.3-2 淌白墙允许偏差和检查方法
注:1 轴线位移不包括柱顶石掰升所造成的偏移; 条文说明
7.7.1 墙身砌砖排列方式的要求,主要是从墙面艺术形式及墙体结构两方面考虑,墙面艺术形式是在保证墙体结构安全的前提下实现。7.7.2 砖砌体结构方式是否合适、细部处理是否得当,均会直接影响墙体结构安全。 8 屋顶工程8.1 一般规定 8.1 一般规定8.1.1 传统建筑屋面工程应由具有相应资质的专业队伍施工,操作人员应持证上岗。 8.1.2 传统木构建筑苫背或钢筋混凝土传统建筑屋面垫层施工完成后,应及时铺设瓦材。 8.1.3 传统建筑应按建筑构造层次、环境条件和功能要求选择屋面材料,材料应配置合理、安全可靠。 8.1.4 屋面铺设瓦材应在屋面上均匀分散堆放,自下而上作业。 8.1.5 屋面铺设中路轴线应与建筑轴线重合;瓦垄应符合地方传统做法。 8.1.6 屋面周边必须设置安全护栏和安全网或其他防止坠落的防护措施。 8.1.7 屋面工程质量检查除应符合本标准要求外,尚应符合现行国家标准《屋面工程质量验收规范》GB 50207的规定。 条文说明
8.1.1~8.1.7 本节规定了传统建筑屋面施工前、施工过程中需要注意的安全和工程质量检查要求。
8.2 屋面木基层工程8.2.1 老角梁、仔角梁的断面形状应符合设计要求。 8.2.2 挑梁的里端应穿过檐柱用透榫连接在金柱上。挑梁的外挑长度不得超过金柱与檐柱之间的距离。 8.2.3 翼角椽的数量应为单数。 8.2.4 传统建筑的木基层应符合设计要求。 8.2.5 椽子铺钉应符合下列规定: 1 椽子的断面尺寸应一致,长度应符合设计要求; 8.2.6 大连檐、勒望、小连檐、瓦口板、望板、椽碗的制作应符合下列规定: 1 大连檐宽度应为椽径的3/5~4/5,厚度应为望砖厚的1.5倍~2.5倍,四面应刨光,同一建筑眠檐宽厚应一致。 8.2.7 屋面工程质量检查应符合下列规定: 1 出檐椽出挑长度不得超过步架深度的1/2,飞椽伸出的长度不应超出檐椽出檐长度的1/2; 表8.2.7 屋面木基层构件制作的允许偏差和检查方法
8.3 屋面瓦作工程8.3.1 木构架传统建筑屋顶的屋面做法应符合设计要求。 8.3.2 屋面坡度应符合传统举折、举架做法。 8.3.3 沟眼部位构造应符合下列规定: 1 采用传统苫背做法时,高差应增大,沟眼应加宽; 8.3.4 天沟部位构造应符合下列规定: 1 采用传统苫背做法时,天沟应在顺流水方向做出高差,沟底应赶轧坚实、平顺,应无局部凹凸;在天沟断面应做出下凹; 8.3.5 立墙部位构造应符合下列规定: 1 采用传统苫背做法时,阴角部位应施用较硬的灰,或在夹角处砌筑围脊或胎子砖; 8.3.6 檐口部位构造应符合下列规定: 1 采用传统苫背做法时,灰背应抹出连檐外; 8.3.7 传统建筑屋面工程望砖、望板铺钉应符合下列规定: 1 望板、望砖应厚薄均匀,规格一致; 8.3.8 传统建筑屋面工程苫背、灰砂垫层处理应符合下列规定: 1 望板护板灰及望砖浇刷用的材料、品种、质量及配比必须符合设计要求; 8.3.9 传统建筑屋面工程水泥砂浆垫层处理应符合下列规定: 1 水泥砂浆垫层处理可按现代坡顶屋面防水垫层要求执行; 8.3.10 传统建筑屋面工程琉璃屋面铺设应符合下列规定: 1 瓦屋面在铺设前应进行分中、号垄及排瓦当等工序,做法应符合设计要求; 8.3.11 传统建筑屋面工程筒瓦灰顶屋面铺设应符合下列规定: 1 瓦屋面在铺设前应进行分中、号垄和排瓦当等工序,做法应符合设计要求; 8.3.12 传统建筑屋面工程合瓦灰顶屋面铺设应符合下列规定: 1 在屋面铺设前应进行分中、号垄和排瓦当等工序,做法应符合设计要求; 8.3.13 望砖、望板工程质量检查应符合下列规定: 1 望板规格、质量和铺设方法应符合设计要求,望砖的规格、品种、强度等级、外观质量和铺设方法应符合设计要求; 表8.3.13 望板、望砖安装的允许偏差和检查方法
8.3.14 苫背、灰砂垫层工程质量检查应符合下列规定: 1 苫背垫层的分层、厚度应符合设计要求; 表8.3.14 苫背垫层铺筑的允许偏差和检查方法
8.3.15 水泥砂浆垫层工程质量检查应符合下列规定: 1 垫层所用材料、配比应符合设计要求; 表8.3.15 水泥砂浆垫层铺筑的允许偏差和检查方法
8.3.16 琉璃屋面工程质量检查应符合下列规定: 1 屋面严禁有漏水现象; 表8.3.16 琉璃瓦屋面的允许偏差和检查方法
8.3.17 筒瓦灰顶屋面工程质量检查应符合下列规定: 1 屋面严禁有渗漏现象; 表8.3.17 各类筒瓦屋面的允许偏差和检查方法
8.3.18 合瓦灰顶屋面工程质量检查应符合下列规定: 1 屋面不得漏水; 表8.3.18 合瓦屋面的允许偏差和检查方法
条文说明 8.3.1~8.3.19 本节规定了悬山、硬山、歇山、庑殿、攒尖、单坡等传统建筑屋顶的屋面构造与瓦作工序、质量检验程序与方法等。8.4 筑脊工程8.4.1 屋脊造型应按建筑的规模、功能选用。 8.4.2 屋脊的形式应与地方传统建筑的风格相一致。 8.4.3 屋脊的类型应与该建筑屋面相统一。 8.4.4 琉璃屋脊的构造应符合下列规定: 1 卷棚式硬山、悬山建筑的正脊应在前后屋面灰背上用三或五块折腰瓦、一或三块罗锅瓦相互连续搭接铺设。垂脊宜采用铃铛排山、箍头脊和卷棚罗锅脊,构造由下到上应为铃铛瓦、当沟,垂兽后应为垂通脊、盖脊筒瓦,垂兽前应为螳螂勾头、咧角埫头、咧角撺头、仙人走兽等,构造方法应符合设计规定。 8.4.5 大式黑活屋脊的传统构造应符合下列规定: 1 卷棚式硬山、悬山建筑的正脊应在前后屋面顶端灰背上使用续折腰、正折腰与续罗锅、正罗锅形成前后兜通的屋脊。垂脊构造自下而上应为铃铛瓦、当沟,垂兽后应为瓦条、混砖、陡版、混砖、眉子,垂兽前应为圭角、瓦条、咧角盘子,上列狮马。 8.4.6 小式黑活屋脊的传统构造应符合下列规定: 1 筒瓦过垄脊的构造应按大式尖山黑活屋脊执行。鞍子脊用合瓦可按合瓦过垄脊执行,宜在瓦圈上置当沟条头砖;皮条脊的屋面两侧应做出两垄低坡垄,应在正脊两端形成小脊,小脊应由枕头瓦、盖瓦泥、条砖构成,大脊应由圭角、盘子、枕头瓦、瓦条、草砖组成,皮条脊可按大式卷棚黑活屋脊执行。 8.4.7 正脊的调脊施工应符合下列规定: 1 选用的正脊构件与饰件质量、规格应符合设计要求;调脊灰浆质量和配比应符合设计要求; 8.4.8 垂脊的调脊施工应符合下列规定: 1 选用的垂脊构件与饰件质量、规格应符合设计要求;调脊灰浆质量和配比应符合设计要求; 8.4.9 戗脊、角脊的调脊施工应符合下列规定: 1 选用的戗脊、角脊构件与饰件质量、规格应符合设计要求;调脊灰浆质量和配比应符合设计要求; 8.4.10 博脊的调脊施工应符合下列规定: 1 选用的博脊构件与饰件质量、规格应符合设计要求;调脊灰浆质量和配比应符合设计要求; 8.4.11 围脊的调脊施工应符合下列规定: 1 选用的围脊构件与饰件质量、规格应符合设计要求;调脊灰浆质量和配比应符合设计要求; 8.4.12 宝顶施工应符合下列规定: 1 选用的宝顶构件与饰件质量、规格应符合设计要求;调脊灰浆质量和配比应符合设计要求; 8.4.13 工程质量检查应符合下列规定: 1 选用屋脊及饰件材料的规格、品种、质量应符合设计要求; 表8.4.13 各式屋脊饰件的允许偏差和检查方法
条文说明 8.4.1~8.4.13 本节规定了各类传统建筑屋顶施用的正脊、垂脊、戗脊、博脊、围脊、角脊等的设计、施工及质量检验程序与方法。8.4.2 不同造型的传统建筑屋顶要选用相应的屋脊形式。 8.4.4~8.4.6 不同材料传统建筑屋面的屋脊形式选用要遵循相应的规定。铃铛排山脊在屋面外缘用排山沟滴,垂脊为箍头脊形式,屋脊自下而上为当沟、瓦条、混砖、眉子沟、眉子;披水排山脊外缘以披水取代排山沟滴,屋脊自下而上为胎子砖、瓦条、混砖、眉子沟、眉子;披水梢垄是在博风砖上施披水砖,在边垄底瓦和披水砖间瓦一垄筒瓦。 8.4.8~8.4.13 屋脊的施工次序应符合相关规定与要求。 9 木装修工程9.1 一般规定 9.2 槛框、门窗制作与安装 9.4 倒挂楣子、坐凳楣子、木栏杆制作安装 9.1 一般规定9.1.1 传统建筑木装修工程应按设计要求足尺放样,异形构件应制作样板。 9.1.2 木装修制作应合理选材,严禁无计划用材。 9.1.3 木装修制作应采用手工与机械相结合的方式生产,并做好防晒、防潮、防污染工作。 9.1.4 木装修的半成品、成品在搬运过程中应避免磕碰,成品运输过程中应采用铺垫、绑扎、覆盖的技术措施,绑扎固定用绳不得使用钢丝绳,成品堆置离地面不应小于500mm,堆置场地应设排水措施。 9.1.5 胶合板替代木板用于木装修工程时,胶合板的质量标准应按现行国家标准《普通胶合板》GB/T 9846的规定执行,且不宜用于建筑外立面装修的最外层。 9.1.6 木装修的每道工序结束后应进行验收,合格后方可进行下一道工序,并应做好验收记录。 9.1.7 木装修表面应平整光滑、图案准确、线条流畅自然,无缺棱、掉角、刨痕、毛刺、雀斑、锤印、胶迹。 9.1.8 在木装修榫卯结合部位、安装五金配件处不得有木节或填补。木装修加固金属件和五金配件的材质、规格、型号、形状应符合设计要求。 9.1.9 传统建筑木装修用其他材料制作时,应按现行国家标准《建筑装饰装修工程质量验收标准》GB 50210的规定执行。 条文说明
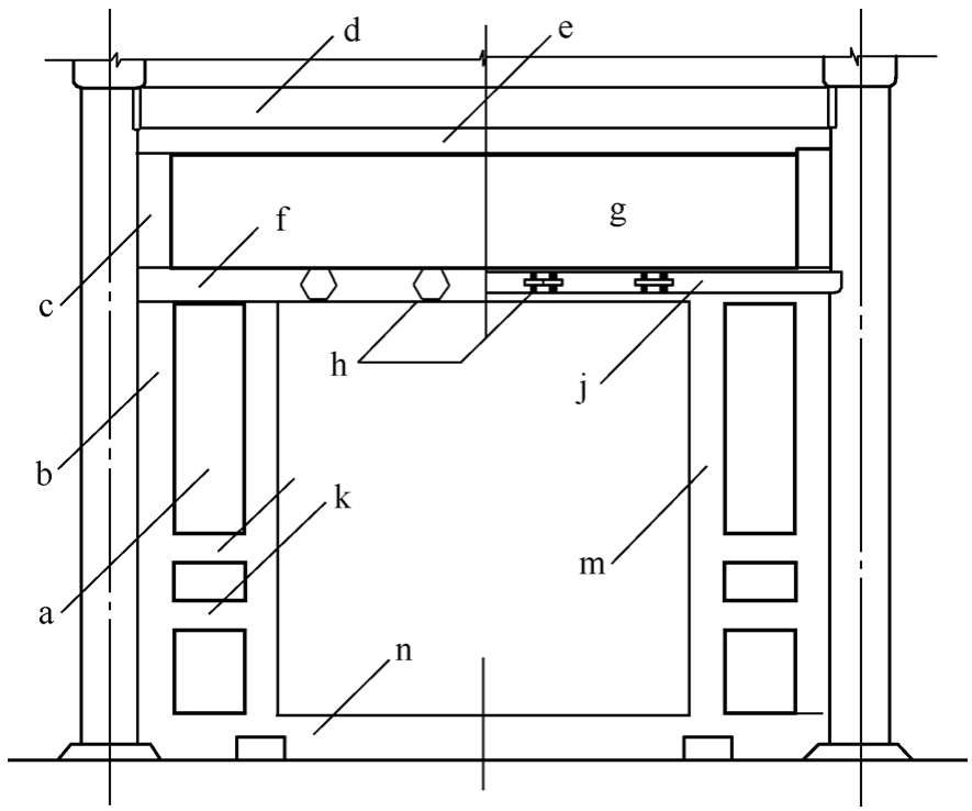
9.1.1 本条规定了木装修应按图纸设计进行放样,复杂的装饰构件应制作样板,以保证施工质量。9.1.2 本条规定了木装修过程中应本着节约用材的原则,不得无计划用材或大材小用、优材劣用。 9.1.3 为提高木装修制作的效率,提倡木装修制作采用手工与机械相结合的方式,以提高工效,降低成本。但制作过程中,为提高质量,要求每个工程的每类装修件应先做标准实样,经检验合格后再全面生产。 9.1.4 木材本身为软质材料,在外力磕碰下易发生变形。为了避免木装饰材料翘曲、弯曲、开裂,要求半成品、成品在搬运过程轻拿轻放。成品堆放要妥善保管,做好防晒、防潮、防污染工作。 9.1.5 胶合板是一种人造板,是由木段旋切成单板或由木方刨切成薄木,再用胶粘剂胶合成三层或多层的板状材料,并使相邻层单板的纤维方向互相垂直。由于破坏了木材本身的物理性能,里面起主导作用的成分是胶,故不宜用于建筑外立面装修的最外层。 9.1.6 本条规定了木装修的每道工序结束并经验收合格后方可进行下一道工序,并应做好施工验收记录。 9.1.7 本条规定了木装修表面应符合的特征,平整光滑,无缺棱、掉角、刨痕、毛刺、雀斑、锤印、胶迹。木装修构件应结合牢固、严密,图案准确,线条流畅自然,榫卯连接一般应横向构件做榫,竖向构件做卯。 9.2 槛框、门窗制作与安装9.2.1 槛框(图9.2.1)的尺寸应符合下列规定:
图9.2.1 大门槛框部位名称 a—余塞板;b—抱框;c—短抱框;d—金(中)柱;e—上槛;f—中槛;g—走马板;h—门簪;j—连楹(门龙);k—余塞腰枋;m—门框;n—下槛 9.2.2 实榻门制作时,门板之间应采用高低缝或凹凸缝相拼而成,高低缝的深度宜为8mm~15mm。 9.2.3 攒边门制作时板缝应采用竹钉连接,竹钉间距宜为400mm~500mm,且应避开穿带位置,门挺与横头应做独榫连接,榫厚宜为门挺厚的1/4。 9.2.4 撒带门制作时门板厚度宜为30mm~50mm,采用凭穿带锁合,穿带一端做榫,在门边上凿作门眼,将门板与门边结合在一起,穿带另一端撒头。 9.2.5 屏门宜采用50mm厚木板拼攒而成,板缝拼接除应做企口缝外,还应辅以穿明带,为固定门板不散落,上下两端应贯装横带。 9.2.6 当安装的楹子、摇梗等构件较厚,应先打孔,打孔深度宜为钉长的6/10,孔直径不应大于钉直径1mm。楹、槛应用铁钉连接,每楹不应少于2枚铁钉,铁钉埋入槛深度不应小于1/3槛厚,且不应小于50mm。连楹安装在每一摇梗支承部位不应少于2枚铁钉。 9.2.7 槛框、门扇安装应五金齐全,规格应符合设计要求,安装应牢固,开启应灵活。 9.2.8 槛框制作与安装的质量检查应符合下列规定: 1 各类槛框制作前应有装修分丈杆,并应按丈杆进行制作; 表9.2.8 槛框安装允许偏差和检查方法
9.2.9 大门制作与安装质量检查应符合下列规定: 1 实榻门、攒边门、撒带门、屏门等各种传统建筑大门门板粘结,应做企口缝或龙凤榫; 表9.2.9-1 大门制作允许偏差和检查方法
6 大门安装的允许偏差和检查方法应符合表9.2.9-2的规定。 表9.2.9-2 大门安装允许偏差和检查方法
条文说明 9.2.1 槛框是古建门窗外框的总称,在古建筑装修槛框中,处于水平位置的构件为槛,处于垂直位置的构件为框。槛依位置不同,又分为上槛、中槛、下槛,下槛是紧贴地面的横槛,左右竖立的部分叫抱框,紧靠着立柱。9.2.2 实榻门是用厚木板拼装起来的实心镜面大门,是各种板门中型制最高、体量最大、防卫性最强的大门,专门用于宫殿、坛庙、府邸及城垣建筑。门板厚者可达150mm以上,薄的也有100mm上下,门扇宽度根据门口尺寸定,一般都在1670mm以上。当实榻门厚度在25mm以上时,应在两端向内1.5/10~1/5门长范围内各穿硬木梢一道,木销厚度应为门厚的1/4~1/3,木梢宽度宜为40mm~60mm;当实榻门厚度在25mm以内时,应用实拼拍横做法,横头与门板采用榫卯连接,连接时每横头应不少于三处出榫,出榫宽度为门厚1倍~1.2倍,拍横头的两端应做合角与门挺结合。 9.2.3 攒边门用于一般府邸民宅的大门,四边用较厚的边抹攒起外框,门心装薄板穿带。因其形如棋盘,又称棋盘门。这种门的门心板与外框一般都是平的,但也有门心板略凹于外框的做法。 9.2.4 撒带门是街门的一种,常用作木场、作坊等一类买卖厂家的街门。在北方农舍中,也常用作居室屋门。撒带门的门板多用30mm~50mm厚的木板,凭穿带锁合,穿带一端做榫,在门边上凿作门眼,将门板与门边结合在一起。穿带另一端撒头,凭一根压带连接。门的其余三面不做攒边,故称撒带门。 9.2.5 屏门是一种用较薄的木板拼攒的镜面板门,它的作用主要是遮挡视线,分隔空间,多用于垂花门的后檐柱间或院子内隔墙的随墙门上,园林中常见的月漏门、瓶子门、八角门、室外屏风上也常安装这种屏门。屏门多为四扇一组,由于门扇体量较小,一般没有门边门轴,凭鹅项、碰铁等铁件做开关启合的枢纽。门涂刷绿色油饰,上面常书刻“吉祥如意”、“四季平安”、“福寿绵长”一类吉辞。 9.2.6 摇梗是指门窗扇上用于开关的旋转轴,楹子是指套住旋转轴的木轴套。 9.2.8 本条规定了槛框制作与安装的允许偏差和质量检查方法。 9.2.9 本条规定了大门制作与安装的允许偏差和质量检查方法。 9.3 窗扇、隔扇的制作与安装9.3.1 各类窗扇制作时,窗扇的挺、横木、夹宕应做双夹出榫连接,榫厚宜为木料厚的1/6~1/5。窗芯四周应做边条,边条断面尺寸应与窗芯一致,窗芯十字相交处应采用合巴嘴做法,深度应为窗芯厚的1/2。 9.3.2 窗扇、隔扇安装应符合设计要求,并应五金齐全、安装牢固、开启灵活。 9.3.3 菱花心和花纹复杂、无规则的棂条花心(冰裂纹、回纹、乱纹等)的制作应放实样,套样板,按实样进行制作和组装,样板应精确。 9.3.4 窗扇、纱窗、隔扇制作与安装质量应符合下列规定: 1 各式窗扇内花格制作应按样板制作,样板应符合设计要求; 表9.3.4-1 边框、抹头外框安装允许偏差和检查方法
5 隔扇、槛窗、支摘窗等安装的允许偏差和检查方法应符合表9.3.4-2的规定。 表9.3.4-2 隔扇、槛窗、支摘窗等安装允许偏差和检查方法
9.4 倒挂楣子、坐凳楣子、木栏杆制作安装9.4.1 木栏杆(图9.4.1)制作应符合下列规定:
图9.4.1 木栏杆 1 栏杆的各部尺寸应符合大样及设计要求; 9.4.2 栏杆安装应符合下列规定: 1 底层栏杆一端应采用两个榫与抱柱连接,另一端应采用两个硬木销与抱柱连接,其他楼层栏杆可采用底层栏杆的安装方法; 表9.4.2 木栏杆安装允许偏差和检查方法
9.4.3 倒挂楣子(图9.4.3)制作应符合下列规定:
图9.4.3 倒挂楣子 1 楣子高度宜为300mm~400mm;框料厚度宜40mm~45mm,宽度宜50mm~60mm;棂条厚度宜为18mm~20mm,宽度宜为25mm~30mm; 9.4.4 倒挂楣子安装应符合下列规定: 1 倒挂楣子安装应根据设计要求采用传统销子或钢钉与柱、枋进行连接; 9.4.5 坐凳楣子(图9.4.5)制作应符合下列规定:
图9.4.5 坐凳楣子 1 凳面高宜为500mm~550mm,凳面宽度宜同柱径,厚度宜为30mm~60mm; 9.4.6 坐凳楣子安装应符合下列规定: 1 坐凳楣子安装应在下边框底部设腿支于地面; 9.4.7 倒挂楣子、坐凳楣子安装质量检查应符合下列规定: 1 倒挂楣子、坐凳楣子安装应牢固,不得有松散、晃动等现象; 表9.4.7 倒挂楣子、坐凳楣子安装允许偏差和检查方法
条文说明 9.4.1 栏杆的主要功能是围护和装饰。在楼阁建筑中,上层的平座回廓是供人行走或登临远眺的地方,在檐柱间安装栏杆,有防止游人失足坠落的重要功能。建在高台上的建筑,其月台四周安装栏杆(或石制栏板),其作用也在于此。而安装在商业建筑平台屋面边缘的朝天栏杆,则主要用作装饰。除以上两种之外,常见的还有一种鹅颈椅,又称靠背栏杆。既有围护作用,又可供休息。9.4.2 本条规定了栏杆安装的相关要求。 9.4.3~9.4.6 规定了倒挂楣子、坐凳楣子制作的相关要求。 楣子是安装于建筑檐柱间(如民居中正房、厢房、花厅的外廊或抄手游廊)的兼有装饰和实用功能的装修。依位置不同,分为倒挂楣子和坐凳楣子。倒挂楣子安装于檐枋之下,有丰富和装点建筑立面的作用;坐凳楣子安装在檐下柱间,除有丰富立面的功能外,还可供人坐下休息。楣子的棂条花格形式同一般装修,常见者有步步锦、灯笼框、冰裂纹等较为讲究的做法。还有将倒挂楣子用整块木板雕刻成花罩形式的,称为花罩楣子,这种做法费时费工,但装饰效果更强,多见于私家园林中。 9.5 美人靠、木坐槛制作安装9.5.1美人靠制作应符合下列规定: 9.5.2 美人靠安装应符合下列规定: 1 美人靠安装应牢固稳定、配件齐全; 9.5.3 木质坐槛面制作应符合下列规定: 1 木质坐槛面的厚度宜为30mm~50mm; 9.5.4 木质坐槛面安装应符合下列规定: 1 坐槛安装应牢固; 9.5.5 美人靠、木坐槛制作与安装应按下列要求进行质量检查: 1 各式美人靠、坐槛应按样板制作,样板及榫卯结点应符合设计要求; 表9.5.5 美人靠、木坐槛制作安装允许偏差和检查方法
条文说明 9.5.1、9.5.2 本条规定了美人靠制作、安装的相关要求。9.5.3、9.5.4 本条规定了木质坐槛面制作、安装的相关要求。 9.5.5 本条规定了美人靠、木坐槛制作与安装的质量检查内容和允许偏差值。 9.6 挂落、飞罩、落地罩、地园制作安装9.6.1 挂落、飞罩(图9.6.1-1、图9.6.1-2)和落地罩、地园制作应以中线为准左右对称一致、图案准确。
图9.6.1-1 挂落
图9.6.1-2 飞罩 9.6.2 挂落、飞罩、落地罩、地园的制作及安装应符合下列规定: 1 制作时应按设计要求足尺放样; 9.6.3 挂落、飞罩、落地罩、地园制作与安装应按下列要求进行质量检查: 1 挂落、飞罩、落地罩、地园制作应放足尺大样,大样的各部尺寸、图案应符合设计要求; 表9.6.3 挂落、飞罩、落地罩制作安装允许偏差和检查方法
条文说明 9.6.2 本条规定了挂落、飞罩、落地罩、地园的制作及安装的相关要求。挂落、飞罩、落地罩主要用来分隔室内空间,并有很强的装饰功能,由于花罩、碧纱厨做工十分讲究,集各种艺术、技术于一身,足以成为室内重要的艺术装饰品。 传统建筑中花罩有几腿罩、落地罩、落地花罩、栏杆罩、炕罩等。其中落地罩当中又有不同的形式,常见者有圆光罩、八角罩以及一般形式的落地罩。各种花罩除炕罩外,通常都安装于居室进深方向柱间,起分间的作用,造成室内明、次、梢各间既有联系又有分隔的环境氛围。 几腿罩由槛框、花罩、横陂等部分组成,其特点是整组罩子仅有两根腿子(抱框),腿子与上槛、挂空槛组成几何形框架,两根抱框恰似几案的两条腿,安装在挂空槛下的花罩,横贯两抱框之间。挂空槛下也可只安装花牙子。几腿罩通常用于进深不太的房间。 栏杆罩主要由槛框、大小花罩、横陂、栏杆等部分组成,整组罩子有四根落地的边框,两根抱框、两根立框,在立面上划分出中间为主、两边为次的三开间形式。中间部分形式同几腿罩,两边的空间,上安花罩、下安栏杆(一般做成寻杖栏杆形式),称为栏杆罩。这种花罩多用于进深较大的房间。整组罩子分为三樘,可避免因跨度过大造成的空旷感觉,在两侧加立框装栏杆,也便于室内其他家具陈设的放置。 落地罩形式略同于栏杆罩,但无中间的立框栏杆,两侧各安装一扇隔扇,隔扇下置须弥墩。 落地花罩形式略同几腿罩,不同之处是安置于挂空槛之下的花罩沿抱框向下延伸,落在下面的须弥墩上。这种形式较之几腿罩和一般落地罩更加豪华富丽。 炕罩,又称床罩,是专门安置在床榻前面的花罩,形式同一般落地罩,贴床榻外皮安在面宽方向,内侧挂软帘。室内顶棚高者,床罩之上还要加顶盖,在四周做毗卢帽一类装饰。 9.6.3 本条规定了挂落、飞罩、落地罩制作与安装的质量允许偏差。 9.7 天花、藻井、卷棚制作与安装9.7.1 天花四周外边缘应固定在木构架的梁、枋、桁类构件上,且四周应在同一水平线上,当边缘交于矩形构件时,构件外露高度应为该构件断面高度的1/2~3/4;当边缘交于圆形构件时,构件外露高度应为该构件截面高度的1/3~1/2。天花中间应在天花短边长度的1/200起拱。 9.7.2 天花为棋盘格时,棋盘格板厚宜为15mm~25mm,制作时板缝应做高低缝,并应用竹钉拼接,支条纵、横相交应采用榫卯连接。 9.7.3 藻井制作应按设计要求足尺放样。藻井内四周各构件应采用板材与吊顶空间隔开。 9.7.4 卷棚的各构件应采用榫卯连接,榫卯厚度宜为两根相交构件中较小构件厚度的1/4~1/3。榫卯宽度宜为构件宽度的1/2~1;当构件榫卯宽度大于50mm时,超过部分应做半榫,半榫的深度宜为相交构件厚度的1/4~1/3。 9.7.5 卷棚制作与安装质量检查应符合下列规定: 1 弧形卷棚应按样板制作,样板应符合设计要求; 表9.7.5 卷棚制作与安装允许偏差和检查方法
9.7.6 天花、藻井的制作与安装应按下列要求进行质量检查: 1 井口天花支条线条应直顺,表面应光平,天花板拼缝应严实、穿带牢固、表面平整; 表9.7.6 天花、藻井安装允许偏差和检查方法
条文说明
9.7.1 本条规定了天花四周外边缘的固定措施及构件的尺度关系。 9.7.2 本条规定了天花为棋盘格时,棋盘格板厚度、制作技术措施。 9.7.3 本条规定了藻井制作应根据设计要求进行足尺放样。 9.7.4 本条规定了卷棚的各构件连接方式、榫卯宽度与厚度。 9.7.6 本条规定了天花、藻井的制作与安装及质量检查要求。 9.8 博古架制作与安装9.8.1 博古架的各部尺寸、图案、材质、材种及整体效果应符合设计要求,且应与建筑室内陈设相协调。 9.8.2 博古架制作板材可采用两块板材拼合,拼缝应做高低缝,并应设竹钉,竹钉间距宜为300mm,构件两端直角相交应采用燕尾榫连接,榫宽应与料厚一致,榫的净间距不宜大于板厚的2倍。 9.8.3 博古架安装应牢固。 9.8.4 博古架制作与安装的允许偏差和检查方法应符合表9.8.4的规定。 表9.8.4 博古架制作与安装允许偏差和检查方法
10 楼地面工程10.1 一般规定 10.1 一般规定10.1.1 传统建筑楼地面铺设应适用、经济、美观。 条文说明
10.1.1~10.1.3 古建筑地面以砖墁地为主,砖墁地包括方砖类和条砖类两种。方砖类包括尺二方砖、尺四方砖、尺七方砖以及金砖等。条砖类包括城砖、地趴砖、亭泥砖、四丁砖等。城砖和地趴砖可统称为“大砖地”,亭泥和四丁砖可统称为“小砖地”。石活地面也是古建地面的常见形式,包括条石地面、仿方砖形式的方石板地面、毛石地面、碎拼石板(冰裂纹)地面和卵石地面(石子地)等。 北方部分地区流行焦渣地面做法,这是古代利用废料作为建筑材料的范例。 夯土地面是历史上最早的地面做法,最初以纯净的黄土为材料,后来发展成为灰土地面。至清代,由于砖的大量生产,一般建筑已经很少使用夯土地面了,但在做法简单的建筑中仍然继续沿用。至今日,夯土地面已经很少见了。 细墁地面多用于大式或小式建筑的室内,做法特点是:砖料应经过砍磨加工,加工后的砖规格统一准确、棱角完整挺直、表面平整光洁。地面砖的灰缝很细,表面经桐油浸泡,地面平整、细致、洁净、美观,坚固耐用。 淌白地面的转料砍工程度不如细墁地面用料那么精细,墁地的操作程序可与细墁地做法相同,也可稍微简化一些。墁好后的外观效果与细墁地面相似。 金砖地面可视为细墁做法中的高级做法。其砖料使用金砖,作法也更加讲究,多用于重要宫殿建筑的室内。 糙墁地面多用于一般建筑的室外,或做法简单的建筑及地方建筑室内。其做法特点是:砖料不需砍磨加工,地面砖的接缝较宽,砖与砖相邻处的高低差和地面平整度都不如细墁地面那样讲究,相比之下显得更粗糙些。 10.2 楼面、地面构造及做法10.2.1 砖墁地面的做法及形式应符合设计要求。
图10.2.8-1 建筑散水砖的常用式样
a—一顺出;b—方砖;c—褥子面(兀子面);d—车辋;e—联环锦;f—套褥子面;g—拐子锦;h—八方锦(套八方);j—卐子纹;k—山子别;m—双笔管;n—步步锦;p—席纹;q—人字纹
图10.2.8-2 甬路散水砖的常用式样
图10.2.8-3 散水转角处的排砖式样
10.2.9 甬路可分为大式做法与小式做法。小式甬路(图10.2.9-1)应用于小式建筑及园林中,大式甬路(图10.2.9-2)应用于大式建筑中。1 甬路根据所使用的材料可分为砖墁甬路和石墁甬路,趟数应为单数;甬路的宽窄应按其所处位置的重要性决定,最重要的甬路砖的趟数应最多,砖的排列应以路心为中心,成单数排列; 2 甬路路面应呈肩形或鱼脊形,路面应中间高、两边低; 3 大式建筑的甬路,牙子可用石活。
图10.2.9-1 小式甬路常用式样
图10.2.9-2 大式甬路常用式样
10.2.10 海墁地面应符合下列规定:1 室外墁地的工序应为砸散水,冲甬路,最后做海墁; 2 海墁应解决全院的排水问题; 3 甬路砖的通缝应与甬路平行,斜墁者除外,而海墁砖的通缝应与甬路互相垂直; 4 排砖应从甬路开始,如有破活,应安排到院内不显眼的位置。 10.2.11 焦渣地面的操作方法应符合下列规定: 1 素土或灰土垫层应按设计标高找平后夯实。 2 应将地面浇湿。 3 铺底层焦渣灰,厚应为80mm~100mm。铺平后应采用木拍子反复拍打,直至焦渣拍打坚实。高出的局部应拍打平整。 4 随打随抹做法:不再抹面层,应在此基础上继续将表面打平,低洼处可补抹。应在表面浆汁充足时用铁拍子反复揉轧,并顺势将表面轧光,局部糙麻处可洒一些焦渣浆。 5 抹面层做法:抹一层细焦渣灰,厚度宜刚能把地面找平,不应超过10mm~20mm。应先用木抹子抹一遍,然后用平尺板刮一遍,低洼之处用灰补平。 6 应在焦渣灰干至七成时进行赶轧,并应进行必要的养护。地面应经常洒水,保持湿润。3d内地面不得行走,15d内不得用硬物磨蹭地面。 10.2.12 灰土地面做法应符合下列规定: 1 应按设计要求找平夯实。 2 白灰、黄土应过筛、拌匀。灰土配合比应为3∶7或2∶8。灰土虚铺厚度应为210mm~250mm,夯实厚度应为150mm。 3 夯土做法应符合现行国家标准《建筑地基工程施工质量验收标准》GB 50202的规定。 4 洒水湿润,当灰土不再粘鞋时,可进行夯筑。 5 应用平锹将灰土找平。灰土地面应用于室内时,应将表面蹭亮。 10.2.13 素土地面做法应符合下列规定: 1 应按设计要求找平、夯实。 2 应虚铺素土,厚度应为200mm。素土应为较纯净的粉土。 3 夯土做法应符合现行国家标准《建筑地基工程施工质量验收标准》GB 50202的有关规定。 4 洒水湿润,当灰土不再粘鞋时,可进行夯筑。 5 最后应采用平锹找平。 10.2.14 木地面应用于传统建筑室内2层以上;常用木地板规格、层数、选用树种应符合表10.2.14的规定;接缝形式(图10.2.14)应按设计执行。 表10.2.14 常用木地板规格、层数、选用树种
图10.2.14 木地板接缝形式
10.2.15 砖墁地面的允许偏差和检查方法应符合表10.2.15的规定。
表10.2.15 砖墁地面的允许偏差和检查方法
表10.2.16 石墁地面的允许偏差和检查方法
表10.2.17 整体和预制仿方砖(金砖)地面允许偏差和检查方法
条文说明
10.2.3 钻生即钻生桐油。 10.2.8 由于土衬石为水平而室外地面并不水平,因此散水的里、外两条线不是在同一个平面内,即散水两端的栽头大小不同。 10.2.10 海墁指将除甬路和散水以外的全部室外地面铺墁的做法。
11 装饰工程11.1 一般规定 11.1 一般规定11.1.1 传统建筑装饰工程施工前应进行设计,应具有完整的施工图。 条文说明
11.1.1~11.1.8 本节规定了传统建筑仿古面砖、装饰花饰、传统抹灰、地仗、刷浆、大漆、涂料油饰、描金贴金的施工与质量检查。
11.2 仿古面砖11.2.1 仿古面砖施工应符合下列规定: 表11.2.3 仿古面砖的允许偏差和检查方法
条文说明
11.2.1~11.2.3 本节规定了仿古面砖的施工与质量检查。
11.3 装饰花饰11.3.1 装饰花饰与基层应粘结牢固。 表11.3.5 装饰花饰允许偏差和检查方法
条文说明
11.3.2 装饰花饰可用多种材料制作:如混凝土、水磨石、水刷石、水泥砂浆、石膏、纸筋灰、GRC制品等。
11.4 传统抹灰11.4.1 传统抹灰的底层灰、面层灰所用材料及颜色应符合设计要求。 表11.4.7 传统抹灰的允许偏差和检查方法
条文说明
11.4.1~11.4.7 规定了传统抹灰的施工技术措施及质量检查。传统抹灰是指红灰、黄灰、青灰等各种古式抹灰,其颜色和材料应符合设计要求。 室外传统抹灰北方做法:当下碱砌整砖时抹墙碱以上墙身,不抹下碱。如下碱为碎砖时,墙碱上下全部抹灰,不管墙身抹灰为何颜色,墙下碱抹青灰。 室外传统抹灰南方做法:当下碱为砖砌又无勒脚时,整个墙身全部抹同色灰浆或刷同样色浆。当下碱有砖砌勒脚时,一般勒脚抹灰后刷灰色浆。当墙下碱为石材或有台基时不抹灰也不刷浆。 11.5 地仗11.5.1 地仗工程的基层施工应符合下列规定: 表11.5.7 木基层面麻布地仗施工主要工序
11.5.8 麻布地仗灰施工前的准备工作应符合下列规定: 1 地仗灰施工构件相邻的成品部位应进行保护,墙腿、槛墙、柱顶石、台明、踏步等砖石活应覆盖、糊纸或刷泥保护; 2 木构操油的浓度应根据木质现状调整配比,以涂刷不结膜、增加木质强度为宜。 11.5.9 麻布地仗支浆应先将木构件表面的浮土杂物清扫干净;支油浆用糊刷或刷子涂刷均匀;除异形构件外,不得使用机器喷涂支浆。 11.5.10 麻布地仗的施工应符合下列规定: 1 使用铁板操作,应掖满捉实,无蒙头灰;残损缺陷、变形部位应成形完整;大构件应找捉出板口、线口,不得遗漏。平口线的规格尺寸应为槛框厚度的1/10;磨缝灰应将飞翅、浮籽打磨光滑平整,清扫后用湿布掸净。 2 地仗工程使麻的麻丝应与木结构的木丝或构件对接缝交插或垂直。木混结构的交接缝麻丝搭接宽度不应少于30mm。木结构的断面应使粘乱麻。麻层应密实平整、粘结牢固,厚度一致。不得出现干麻、露籽、干麻包、空鼓、崩秧、窝浆等缺陷。磨麻必须断斑、出绒,不得遗漏。 3 糊布应拉结结构构件的对接缝,明柱应缠绕糊布,木混结构的交接缝糊布搭接宽度不应少于30mm。布面应平整、严实牢固、搭接严紧、不露灰底、不露白、秧角严实,阴阳角处不得有搭接缝,不得有窝浆、干布、空鼓等缺陷。 4 压麻灰应使用灰板顺麻丝、布纹滚籽刮灰。压麻灰表面应平整,圆秧角楞应直顺,应无脱层、空鼓、龟裂、露麻、露布等缺陷。 5 磨细灰应使用平整的细金刚石块穿磨,面积大时应横穿竖磨。磨细灰应断斑,表面应平整光滑,秧角、楞方正,直顺整齐。圆构件应平、圆、直;各类线形、线口尺寸、肩、角、肚及花活不得打磨走样变形;不得出现漏磨、露籽、交叉磨及划痕等缺陷。 6 钻生桐油应采用搓涂和刷涂方法,不得采用喷涂方法。麻布地仗的钻生桐油不得掺兑汽油稀释或催干剂等材料;钻生油应磨一段钻一段,不得间断,应一次性连续钻透并擦净浮油。钻生油的表面颜色应一致,不得出现遗漏、挂甲、龟裂、污染成品等缺陷。 11.5.11 木结构单披灰地仗施工应符合表11.5.11的规定。 表11.5.11 木结构单披灰地仗施工主要工序
11.5.12 木结构面与混凝土面、抹灰面相连时单披灰地仗工程施工应符合表11.5.12的规定。 表11.5.12 木结构面与混凝土面、抹灰面相连时单披灰地仗施工主要工序
11.5.13 混凝土面及抹灰面胶溶性单披灰地仗工程每道工序应待前道地仗灰干燥后,方可进行下道工序。 11.5.14 混凝土面及抹灰面胶溶性单披灰地仗施工应符合表11.5.14的规定。 表11.5.14 混凝土面及抹灰面胶溶性单披灰地仗施工主要工序
11.5.15 混凝土构件及抹灰表面做胶溶性地仗应符合下列规定: 1 混凝土表面的缺陷部位应采用水泥砂浆进行修补,修补质量的允许偏差和检验方法应符合现行国家标准《建筑装饰装修工程质量验收标准》GB 50210的相关规定; 2 当混凝土基层含水率大于10%时,应通过防潮湿处理后施工,可采用15%~20%浓度的氯化锌或硫酸锌溶液涂刷数遍,待干燥后除去盐碱等析出物;也可用15%的醋酸或5%浓度的盐酸溶液进行中和处理,再用清水冲洗干净,待干燥后可进行油灰地仗施工; 3 涂刷界面剂时,应采用刷子涂刷,并应随时搅拌均匀,涂刷应均匀一致、不漏刷,界面剂的浓度待干燥后,其表面不得结膜起亮; 4 磨通灰应采用金刚石打磨平整、光洁、无浮籽,打磨后应由上至下将表面的灰尘、杂物等清扫干净; 5 混凝土面应在通灰操油干燥后,进行中灰、细灰、磨细灰、钻生桐油施工,当混凝土构件与木构件交接时,应与木构件同步施工。 11.5.16 水泥胶灰地仗施工应符合下列规定: 1 混凝土抹灰面胶灰地仗应在基层处理完并检查合格后进行; 2 胶灰地仗的主要工序应符合表11.5.16的规定。 表11.5.16 胶灰地仗的主要工序
11.5.17 胶灰地仗基层的处理应符合下列规定: 1 基层应充分干燥; 2 高低不平处应用砂轮机打磨光滑平整; 3 存在形状不规则时,应用1∶2的聚合物水泥砂浆找抹圆方; 4 混凝土面的碱性可用弱酸性溶液刷2遍~3遍进行处理,最后应用清水洗净后做地仗,或可将混凝土构件隔一年后再做地仗。 11.5.18 胶灰地仗施工应符合下列规定: 1 基层处理应符合本标准第11.5.9条的规定,满涂聚乙烯醇缩甲醛胶结合层,应涂全、涂到位; 2 刮水泥胶灰三道,第一道应重点补平,第二道应基本补平、补直、补圆、补方,第三道披完应做到平、直、圆、方外,尚应做出线脚,达到设计的要求,每道灰刮完干燥后应打磨; 3 最后一道聚乙烯醇缩甲醛胶应涂满、涂全,为油漆做好准备。 11.5.19 漆灰地仗的主要工序应符合表11.5.19的规定。 表11.5.19 漆灰地仗主要工序
1 抄生漆应用原生漆,其头道抄生漆可加入汽油,但不得大于10%,最后一道抄生漆不得加汽油; 2 捉缝灰、通灰、压布灰、细灰应用生漆加土籽灰或生漆加瓷粉,其比例为1∶1;使用土籽粉,在调细灰时应用碾细的土籽灰;使用瓷粉,在调压布灰和细灰时,应用碾细的瓷粉; 3 溜缝、糊布所用的漆灰,应用三份原生漆和一份土籽灰调匀使用。 11.5.21 漆灰地仗施工应符合下列规定: 1 基层处理应符合本标准第11.5.9条的规定。 2 生漆应刷均匀,无漏刷。最后一道抄生漆应随刷随用皮子或水布理开栓路。头道生漆干后,应采用金刚石通磨平整,清扫掸净。 3 应采用铁板将缝隙横掖竖划捉饱满,缺楞补齐,捉规矩,遇缝以整铁板灰捉出布口,以使布与缝灰结合牢固。缝灰干后,用金刚石通磨平整,应无飞翘、野灰等缺陷,并清扫掸净。 4 应以铁板宽度提出的缝隙布口将夏布斜剪成布条。按缝隙布口刷糊布漆,应薄厚均匀。布条应轧实贴牢,不得出现崩秧、窝浆。干后应采用金刚石磨平,无疙瘩为止,随后清扫掸净。 5 应采用皮子、板子、铁板竖通灰一道,并补平、刮直、找圆,干后应采用金刚石磨平,清扫、水布掸净。 6 应将夏布轧实贴牢,糊圆柱时应缠绕糊圆。干后应采用金刚石磨平,清扫、水布掸净。 7 应采用皮子、板子、铁板横压布一道,并刮平、衬圆、找直。干透后应以铲刀修整、金刚石磨平,清扫、水布掸净。 8 漆灰应采用铁板找灰,将楞角找出规矩。过线应用轧子轧成型。圆面应用皮子溜,接头位置应与压布灰错开。大平面应用板子过平、小面以铁板细平。接头应平整,细漆灰厚度约 2mm,细瓷粉漆灰由压布灰至细灰宜刮二、三道。 9 细漆灰干透后,应采用细金刚石蘸水磨平、直、圆,楞角应整齐,清水洗净,干后抄生漆,不得漏刷。 11.5.22 各种工程与基层的连接应牢固。地仗材料对人与环境应无有害影响。 11.5.23 地仗工程的施工应符合下列规定: 1 地仗工程所选用材料的品种、规格和颜色应符合设计要求和现行材料标准的规定,材料进场后应验收,合格后方可使用; 2 地仗材料的配合比、原材料、熬制材料和自加工材料的计量、搅拌应符合设计要求; 3 使麻糊布的工艺流程应按地仗砍净挠白、剁斧迹、撕缝、下竹钉或楦缝、除锈、汁浆、捉缝灰、通灰、使麻、糊布、压麻灰、压布灰、中灰、细灰、磨细灰和钻生油执行; 4 四道灰和三道灰地仗的工艺流程应按砍净挠白、剁斧迹、撕缝、楦缝除锈、汁浆、捉缝灰、通灰、中灰、细灰、磨细灰和钻生油执行,三道灰地仗应省去通灰; 5 二道灰地仗的工艺流程应按除铲、汁浆、捉中灰、找细灰或满细灰、操油执行。 11.5.24 传统建筑木基层面麻布油灰地仗材料应由油满、血料、砖灰、光油、清水等调配制成,并应由专人统一负责调配。传统建筑木基层麻布油灰地仗材料配比应按表11.5.24的规定执行。 表11.5.24 传统建筑木基层麻布油灰地仗材料配比
表11.5.25 传统建筑木基层面与混凝土面、抹灰面相连地仗单披灰地仗材料配比
表11.5.26-1 传统建筑混凝土面、抹灰面胶溶性单披灰地仗材料配比(重量)(传统做法)
表11.5.26-2 传统建筑混凝土面、抹灰面胶溶性单披灰地仗材料配比(重量)(新做法)
表11.5.26-3 传统建筑混凝土面、抹灰面众霸胶溶性单披灰地仗材料配比(重量)(新做法)
表11.5.27 各种地仗的质量要求
条文说明
11.5.23 地仗工程的做法主要有两种:1 上架大木和下架大木的使麻糊布做法; 2 四道灰三道灰以及二道灰做法。 11.6 刷浆11.6.1 刷浆工程应在基层抹灰面充分干燥后进行。基层的含水率不宜大于10%,环境温度不得低于5℃。 表11.6.4 室内外刷浆施工主要工序
11.6.5 刷浆工程质量检查应符合下列规定: 1 墙边刷色、拉线应表面平整,粉线肩角交圈,线条横平竖直,宽窄一致,曲线流畅、整齐,颜色一致,无接头、错位、虚花等缺陷,不得掉粉、透底; 2 墙面刷浆工程的做法,材料品名、种类、质量、颜色,花墙边、色墙边拉线的做法、图案、颜色均应符合设计要求; 3 刷浆工程应涂饰均匀、光洁、粘结牢固。不得脱层、空鼓、裂缝、漏刷、起皮、透底、掉粉。 条文说明
11.6.1 规定了传统建筑内外墙面抹灰面上的刷浆工程施工与质量检查。
11.7 大漆11.7.1 大漆工程应在地仗做完,经检查合格后方可进行。 表11.7.3 施涂大漆的主要工序
11.7.4 施涂大漆所用材料应符合下列规定: 1 漆灰地仗的浆漆灰应按生漆与细土籽灰的重量比为1∶1配制,传统油灰地仗应用血料加细灰调配的浆灰,其腻子应为血料腻子; 2 地仗漆腻子可用生漆加团粉或石粉,应按生漆与团粉(石粉)的重量比为1∶1.5配制; 3 大漆品种的选用、质量、做法应符合设计要求和有关规定。 11.7.5 大漆施工应符合下列规定: 1 地仗干透后,应用砂纸打磨平整光洁,不得漏磨,清扫干净后用水布掸净浮尘; 2 平面用铁板、圆形面用皮子,批刮浆灰应满克骨刮、平整光洁,无飞翘、接头和漏刮缺陷,干后应用400号砂纸打磨光洁平整,用湿布掸净浮尘; 3 底层处理应将表面灰砂、铁锈、污垢、毛刺等缺陷铲除干净; 4 满刮腻子前掸净粉尘应将木缝、钉眼、凹坑、缺角等严重缺陷嵌补找平,待干净后经打磨清理干净后,再满刮腻子; 5 腻子干燥后,应用400号砂纸仔细打磨腻子,表面应光滑平整,无残余腻子; 6 用漆刷上漆、理漆应理顺光油,阴干后应用旧砂布或水砂纸顺木纹打磨,应磨到、磨平,不得遗漏; 7 罩面漆应上推光漆,用牛角刮翘批漆,再用漆刷横竖理顺、刷理均匀一致; 8 水磨应采用水砂纸蘸水打磨,应顺木纹磨且长度适宜、刷纹平整、光滑,楞角轻磨,不得磨透底; 9 退光应采用水砂纸或头发团成把蘸瓦灰浆细磨,不得遗漏,直至灰浆变色,手感光滑,漆膜呈现暗光时,再用手掌按住瓦灰浆,将每个局部摩擦发热出亮; 10 打上光蜡或川蜡薄片撒在漆面上,应采用洁净的细白棉布或毛巾反复擦蜡发热,直至漆面光亮柔和,光滑平整,无挡手感。 11.7.6 大漆工程质量检查应符合下列规定: 1 大漆工程所选用的材料品种、规格、质量、颜色应符合设计要求; 2 大漆工程的施工操作程序应符合设计要求; 3 大漆涂层与基层应粘结牢固,不得有漏刷、脱皮、空鼓、裂缝等缺陷; 4 大漆工程的质量要求应符合表11.7.6的规定。 表11.7.6 大漆工程质量要求
条文说明
11.7.1 大漆即天然漆,又叫生漆、土漆、国漆。大漆与熟桐油配制而成广漆,又叫配漆、熟漆、金漆。
11.8 涂料、油饰11.8.1 涂料工程的做法等级和加工材料、成品材料的品种、质量、颜色应符合设计要求及有关规定。颜色的分色无设计要求时应符合传统要求。 表11.8.11 常规构件及椽望揩搓颜料光油施工主要工序
11.8.12 施涂颜料光油、成品混色油漆应符合下列规定: 1 施涂颜料光油、成品混色油漆工序应在地仗表面充分干燥后进行; 2 刮血料腻子前应用砂纸将地仗表面打磨平整、光滑,扫清掸净,不得遗漏; 3 刮血料腻子应刮严刮到、光滑平整,无明显接头、无遗漏等缺陷; 4 垫光油前应用砂纸把腻子打磨光滑、平整,无遗漏,无接头并除净粉尘; 5 施涂二道光油应揩搓到位,无遗漏;油皮表面应平整饱满,颜色均匀,栓路直顺,四边及分色处平直整齐,无流坠、超亮、皱纹等缺陷; 6 施涂三道油应搓严搓到,牛尾栓理顺;油皮表面应平整饱满,栓路直顺,颜色均匀,分色界线平直流畅整齐,无流坠、超亮、皱纹、漏刷等缺陷; 7 罩清光油的油皮表面应平整、光亮、饱满一致,无起皱流坠、超亮、漏刷现象。 11.8.13 常规构件及椽望涂刷成品混色油漆施工主要工序应符合表11.8.13的规定。 表11.8.13 常规构件及椽望涂刷成品混色油漆施工主要工序
11.8.14 涂料、油漆的其他要求及腻子应符合现行国家标准《建筑装饰装修工程质量验收标准》GB 50210的规定。 11.9 贴金、描金11.9.1 贴金、描金应在彩画饰金部位及油漆饰金部位的油漆、涂料、沥粉等充分干燥后方可进行。所用的金箔、赤金箔、铜箔的材质应符合国家相应标准的规定,库金箔不得小于98%的含金量,苏大赤不得小于95%的含金量,赤金箔不得小于74%的含金量。 表11.9.3 彩画贴金、油漆贴金主要工序
11.9.4 库金应用于主要建筑。赤金应用于次要部位或次要建筑。 11.9.5 贴金箔的具体作法应符合下列规定: 1 彩画饰金部位应在沥粉、上色工序完毕并干燥后,对沥粉条进行打磨和修整,不得出现粉条变形、断条等现象。 2 包黄胶应用浅黄色油漆沿施贴部位涂刷一遍,表面应颜色一致、漆膜饱满,薄厚均匀,无裹楞、流坠、刷纹、接头、漏刷、污染颜色等缺陷。干燥后应用细砂纸轻磨,并除净浮物。 3 打金胶油应符合下列规定: 1)室内外作业粉尘较多的施工环境,风力较大的天气,应采取遮挡封闭措施,方可进行打金胶油工序;打金胶油不得超晾,出现超晾应打磨后重新打金胶; 2)油漆饰金部位打金胶前应对贴金相邻部位进行呛粉; 3)油漆地、广漆地、油漆黄胶地应打一道金胶,色胶地、乳胶漆地应打两道金胶,其表面应光亮饱满,涂层均匀一致,无裹楞、洇色、接头、串秧、皱纹、超亮、遗漏、污染、染色等缺陷。 4 拆金箔包装后,应检查金箔材质、数量,然后拆金打捆。 5 施贴金箔应符合下列规定: 1)贴金工程的基层做法、工艺、金胶油的兑配、图案试样及金色分配,均应符合设计要求; 2)贴金表面与基层应粘结牢固、光亮饱满,线路纹饰整齐、直顺、色泽一致,两色金分布界线准确,不得出现绽口、崩秧、飞金、遗漏、木、花等缺陷。 6 油漆部位贴金后应满扣油一道,对装饰线和纹饰齐金,直线扣油应直顺,曲线扣油应流畅,拐角处应整齐方正; 7 赤金箔、铜箔应罩丙烯酸清漆或清光油封闭一道,库金箔可不罩油。罩油应待贴金后的金胶油充分干燥后进行,罩油材料不得掺入稀释剂。罩油表面应光亮、饱满、整齐,无咬花、流坠、遗漏、污染等缺陷。 11.9.6 描金应符合下列规定: 1 应将金粉放入盛器中,先加少量清漆,用牛角刮刀将金粉碾拌成糊状,碾匀后再加入清漆调匀调制成调合漆状即可; 2 应以虫胶漆作底漆,待底漆干燥后,将金粉漆描于物面上; 3 物面描金后,应在金粉饰面上普罩清漆一道; 4 潮湿地区的描金做法、工艺、使用的材料应符设计要求。 11.9.7 贴金、描金工程质量检查应符合下列规定: 1 贴金箔、铝箔、铜箔等应与金胶油粘结牢固,无脱层、空鼓、崩秧、裂缝等缺陷; 2 贴金表面应色泽基本一致,光亮、不花,不得有绽口、漏贴,金胶油不得有流坠、皱皮等缺陷; 3 框线和各种线贴金扣油表面应线条直顺整齐,弧线应流畅。 条文说明
11.9.1~11.9.7 本节适用于传统古建筑的室内外各种彩画及牌匾、框线、云盘线、棱花线、梅花钉、绶带等部位的贴金、描金工程的施工与验收。
12 雕塑工程12.1 一般规定 12.1 一般规定12.1.1 传统建筑中的各类木雕、砖雕、石雕、灰塑、陶塑的手法、风格、纹样、特点都应与建筑的历史时代特征、地域特色以及建筑的性质相符合。 条文说明
12.1.7 雕刻按其工艺形式大体可分为:圆雕、浮雕、平浮雕、透雕、镂雕、阴雕、线刻七类。传统建筑雕塑可根据建筑的历史特点、构件位置、工程条件,融合多种雕刻形式。中国传统建筑的特征之一就是实用性与装饰性的完美结合,绝大多数的雕刻装饰构件本身就承担着结构或构造作用,很少有纯粹为了装饰而存在的构件,因此雕刻形式与图案的设计应满足其结构与功能的要求,符合构件的形态,融建筑结构、功能和装饰艺术于一体。 表1~表3列举了木雕、砖雕、石雕在传统建筑中的使用情况,供设计者参考。
12.2 木雕12.2.1 木雕用材的树种、规格、材质应根据构件类别选择,宜选择耐腐、耐用、耐候、保证受力强度、不易变形的木料,建筑木雕材料的选择可根据本标准附录D执行。 表12.2.9-1 木雕件制作允许偏差和检查方法
表12.2.9-2 木雕件安装允许偏差和检查验方法
条文说明
12.2.2 本条规定了木雕用材应避免的缺陷,以保证木雕成品的质量和美观。纹理清楚、颜色均匀的木料可以使木雕件达到装饰美、材料美和整体美相统一;腐朽、霉变、裂缝、虫眼、节疤缺陷等处,无法雕刻出图案物象,影响成品的外观质量。当无法避免时,可采取挖补的办法,即锯下缺陷部分,用相同木料粘补。12.2.3 未经干燥的木材不宜用来雕刻,否则会出现弯曲、开裂、变形等现象。即使能够完成雕刻,时间久了,也会出现腐朽、虫蛀,所以雕刻前应对木材进行干燥处理。 当木材含水率高于环境的平衡含水率时,木材会排湿收缩,反之会吸湿膨胀;另一方面,当木材含水率降到8%~12%时,不利于真菌生长,可达到防腐的目的。 12.2.4 小型木雕件不应用多块木材拼接。大型雕刻需要木料拼接时,应选择同种、同质木材相拼接,否则因木材密度、胀缩程度的不同,以及因材质软硬不同而给雕刻带来困难。 12.2.5 木雕的传统工艺形式有:线雕、阴雕、平浮雕、浅浮雕、深浮雕、镂雕、透雕、圆雕等。雕刻中根据不同部位选用不同类别以及多种工艺的结合使用。木雕的制作工艺流程一般包括:选料、画样(拓样)、雕作、修光打磨和表面装饰处理等阶段。不同形式、不同地域的木雕基本上都依此程序制作,但在“雕作”工序细节和雕刻技法上有所区别,其中镂雕和圆雕更为复杂、细致。当使用雕刻机雕刻时,仅替代了画样和雕作工序,其他工序不得省略,仍应按本标准执行。 1 选料应根据设计要求选用木材树种和木材质量,并根据雕刻构件大小选取。不作漆饰的木雕优先选用纹理细密优美、色泽光亮的木材。木材需要拼接时,应用穿带、暗梢和胶结等方式,将雕坯连接拼装后再进行雕刻。 2 雕刻前应按设计要求绘制1:1图样,将图样准确地拓到雕坯上进行雕刻。对于圆雕、高浮雕及镂雕等复杂图样,应随画随雕、边雕边画,先画主要图案的轮廓,待凿出形象后再进一步画出细部图样。当相同的雕件比较多时,应按图样制造出样板,通过样板绘到雕坯上雕刻,保证雕件完全一致。 3 雕刻应先粗雕图样的大体外形,再精心雕刻图样的准确外形和细部。应做到图样完整,线条清楚和谐,外形丰满生动。 4 修光是用精雕细刻及薄刀密片法修去细坯中的刀痕凿垢,要求刀迹清楚细密,表现出各部分的细微末节及其质感,同时对缺损、伤疤、虫眼、开裂等缺陷进行修补。最后根据需要,用不同型号的木工砂纸由粗到细进行打磨,要求顺着木纤维方向反复打磨,直至刀痕砂路消失,表面细润光滑。 5 木雕的表面装饰主要有三种基本形式:素色打蜡上光、染色打蜡上光和髹漆(油漆)法。素色打蜡上光是在打磨出光后直接上蜡抛光或擦核桃油。染色打蜡上光是局部或全部染色,干后打蜡上光,宜采用自然干燥,如烘干要防裂,且只适于不易开裂的木材。表面漆饰有透明漆和非透明漆两种,涂漆后应根据漆膜种类选择砂纸打磨,再上蜡抛光。 12.3 砖雕12.3.1 砖雕应选用水磨青砖,其规格型号应符合设计要求,颜色应青灰均匀,表面应平整,棱角应完整方正,质地应精纯细腻,击声应清脆,强度不应小于MU10。 表12.3.8-1 砖雕件制作允许偏差和检查方法
表12.3.8-2 砖雕件安装允许偏差和检查方法
条文说明
12.3.1 砖雕用的砖材一般比普通砖厚,通常要50mm以上,所以需要定制砖材。砖雕需要质地细密、含沙量少且质地均匀的澄浆砖。在同一种砖材中,应选用材质较细致、硬度高、色泽一致、砂眼少的砖。 12.3.2 砖雕按表现形式的不同分为:线雕、阴雕、平浮雕、浅浮雕、深浮雕、镂雕、透雕、圆雕等八种。砖雕的制作方法有:雕刻法、捏制法和压模法。传统砖雕的雕刻工艺应按选料、磨砖、拓样、雕刻、修补打磨的工序进行,不同形式的砖雕在雕刻细节、技巧上有所区别。当使用雕刻机雕刻时,可替代拓样和雕刻作工序,选料和修补打磨工序仍应按本标准执行。 1 选料:按本标准第12.3.1条的规定进行选料。根据图案的规格尺寸,确定用砖的块数。如为大型砖雕,应按雕件的外形尺寸大小确定选用的砖型及组装块数。 2 磨砖:用人工或机械方法将各类砖块需要雕刻的一面磨光。大方砖应四边切边后,才可进行雕刻。 3 拓样:用复写纸或刻笔将1:1的图样拓到砖面上,或将纸样直接贴到砖面上进行雕作。当相同的雕件较多时,应按图案要求制成1:1的样板,通过样板把图案绘制到砖面上进行雕作。拓样应正确、清楚,不得走样。 4 雕刻:按打坯、粗雕、细雕的工序进行。先粗雕图样的大体外形,再细雕图样细部和层次,最后精雕动物的神态、人物的表情、植物的叶脉花蕊等,达到与图样基本相同的要求。 砖雕过程中如果局部有所损害,可以将损坏的部分重新粘好,当图案本身无严格规定时,也可以在损坏的部分结合整体图案重新设计图案和雕刻。 5 修补打磨:将雕作中失误损坏部分,或砖料中的砂眼、裂隙等残缺部分,用火漆或用砖灰配制的粘结物进行修补打磨。修补完后,用吹管或毛刷等把砖雕表面的砖灰清洁干净。 12.4 石雕12.4.1 石雕材料的品种、规格、质量、颜色应符合设计要求。应选择外观色彩质地均匀一致,边棱完整,无裂隙和隐残的石料,建筑石雕材料的选择可按本标准附录E执行。 表12.4.5-1 石雕件的制作允许偏差和检查方法
表12.4.5-2 石雕件安装允许偏差和检查方法
条文说明
12.4.1 石雕材料应根据成品规格大小、风格造型、在建筑中的位置,采用不同产地、不同颜色的石料,石料应色泽均匀、石质细腻、密度高、耐风化,没有裂缝、隐残、石瑕、石铁。这样的石料整体性好,不易折断、开裂。石料的纹理走向以顺纹理最好,斜纹理较易折断,横纹理最易折断,因此斜纹理和横纹理石料不宜用作石雕制品。 12.4.2 石雕按表现形式的不同分为:线雕、阴雕、平浮雕、浅浮雕、深浮雕、镂雕、透雕、圆雕八类,传统石雕制作的一般工序为:备料、放样、雕刻、修整打磨。不同形式的石雕在雕刻细节、技巧上有所区别。 1 备料:根据设计要求选择石料种类和尺寸,选择的石料应比作品略大,再用錾子粗平打磨。当雕刻件比较大时,可选用几块石材拼装后再进行雕作。 2 放样:将设计图样画或拓印在石料表面,再用小尖头錾子沿图样轮廓线条轻凿一遍后即可雕刻。图案复杂、高低层次较多的图案放样时,低处纹样应在雕刻过程中再描画,其细部也应后画。 3 雕刻:先凿粗胚,再打细坯。先根据放样的纹样,按照层次深浅、位置等要求,凿打出画面大致形状。在此基础上刻画图样局部,雕琢细部线条。如为形体复杂、层次较多的高浮雕、镂雕、圆雕,应按顺序分层次进行,即“画”、“穿”、“凿”分层进行,反复操作。 4 修整打磨:对石雕进行全面整理,重要部位再进行精工细刻,并对雕刻失误的地方、砂眼、孔洞、裂隙等缺陷用环氧树脂等材料进行修补。最后用打磨机、磨砂石、砂布等工具将石雕表面打磨至光洁、明亮、圆滑。 当用点线机辅助雕刻时,应先按图样大小和形状,用木材、铁钉和麻绑扎骨架,制作1:1泥模,然后翻制石膏或玻璃钢模型,再利用点线机辅助找好翻制模型的轮廓和不同的起伏高低尺寸进行雕刻。雕刻应由粗到细,先雕图样的外形和主要部分,再逐步深入,直至完成细部刻画,最后进行修整打磨工序。 当使用雕刻机雕刻时,可替代放样和雕刻作工序,备料和修整打磨工序仍应按本标准执行。 12.5 灰塑12.5.1 灰塑所用的泥灰配比、骨架材质、规格应符合设计要求。 表12.5.8 灰塑制作允许偏差和检查方法
条文说明
12.5.2 灰塑是以纸筋灰、麻刀灰、贝灰等为主要材料,在建筑墙壁、翼角或屋脊等位置塑形的一种建筑装饰艺术,多用于照壁、檐墙、山墙、门窗漏窗、屋脊等部位。灰塑的主要表现形式有:浅浮雕、高浮雕和圆雕。传统灰塑的一般制作工序为打底稿、扎骨架、上灰、上彩。 1 打底稿:根据画稿对图案定位,只大体勾画轮廓即可,不需要细化,可用棉纸擦去墙上误画、多余的线条。 2 扎骨架:根据设计的灰塑形体的大小、形象,在对应的建筑位置砌筑砖瓦骨架或制作金属骨架,后者需要预埋竹钉、铁钉,再用铜丝等金属线扎制造型骨架。大型骨架也可用钢筋进行绑扎,外包钢丝网或麻。 3 上灰:骨架成型后即可往骨架上抹灰。上灰应分层进行,应优先选用地方传统材料、传统工艺。先用草筋灰在骨架表面包灰,直至灰塑的雏形完成,再在定型的草筋灰表面抹纸筋灰进一步塑性,纸筋灰质地细腻,凝固后硬度比草筋灰高,适合用来粘结草筋灰和色灰。最后依据灰塑的设计颜色,将颜料与纸筋灰混合拌匀,在定型的灰塑上铺加一层色灰面(又称底色面),如此可让最后添加的颜料保持其自身色泽较长时间。加色灰是对灰塑的最后修正和定型。部分灰塑仅要求简单的色彩,做到色灰这一步即可完成。 4 上彩:灰塑上彩时,要求色灰尚未凝固,具有适当的湿度以吸收各种色彩颜料,因此上彩必须在完成色灰步骤后立即进行。上彩顺序由浅到深,颜色逐步叠加。如为起伏较小的浅浮雕,不需要扎骨架,在打底稿之后,直接敷灰,再雕刻塑形。 12.6 陶塑12.6.1 陶塑件的规格、质量、色彩、图样应符合设计要求,表面色泽均匀,无砂眼、釉垢和裂隙缺损。 表12.6.4 陶塑安装允许偏差和检查方法
13 彩画工程13.1 一般规定 13.1 一般规定13.1.1 承担彩画工程施工的施工单位应具备相应资质并建立质量管理体系,并对施工过程实行质量控制。 条文说明
13.1.1 传统建筑彩画工程专业性较强,施工队伍应具备相应资质,施工期间应对全过程实行质量控制。13.1.2 彩画施工时除了对基层质量进行验收外,还要求基层充分干燥,干燥程度经检查达到规范要求后方可进行彩画施工。 13.1.4 彩画所用材料时色差较大,所以本条规定应由专业特长技工统一负责、管理组织彩画工程所用各种颜、材料的加工、调制、调配、入胶、出胶、涂刷色样等相关工作,并要求大面积施工时所用材料与色样一致。 13.1.5~13.1.7 对材料配制提出了具体规定。 13.2 和玺彩画13.2.1 和玺彩画根据所画内容不同可分为金龙和玺彩画、龙凤和玺彩画、龙草和玺彩画。13.2.2 大木彩画金龙和玺彩画做法应符合下列规定: 1 金龙和玺彩画应按分三停规则构图,设箍头、找头、枋心、凡枋心、岔口线、皮条线、圭线光等造型均应采用折形斜线; 2 梁、枋大木的枋心、盒子、找头部位的细部主题纹饰应绘制各种龙纹; 3 找头部位可画西番莲或灵芝; 4 平板枋宜做龙纹,龙的个数应按建筑总体面宽确定,做龙时宜从两端向明间中心部位对跑; 5 彩画灶火门宜为沥粉贴金的图案; 6 额垫板各间宜分别做龙纹,且应左右对称。 13.2.3 大木彩画龙凤和玺彩画、龙草和玺彩画的做法应符合下列规定: 1 龙凤和玺彩画、龙草和玺彩画应按分三停规则构图,设箍头、找头、枋心、凡枋心、岔口线、皮条线、圭线光等造型均应采用折形斜线; 2 龙凤和玺彩画应根据色彩确定各部位的纹饰,宜采用青色画龙、绿色画凤; 3 在同一构件中,大额枋心画龙,小额枋画凤; 4 龙凤和玺彩画可不根据色彩的变化,只按间、部位确定龙凤的位置,在一间各枋心采用青绿色画龙,在找头画凤; 5 找头彩画画龙凤时,龙凤有升降之分,升龙升凤宜采用蓝色画在找头内,降龙降凤宜采用绿色画在找头内; 6 找头彩画可采用画西番莲和灵芝做法。 13.2.4 大木彩画质量要求和检查方法应符合表13.2.4的规定。 表13.2.4 大木彩画质量要求和检查方法
条文说明
13.2.1~13.2.3 和玺彩画除本节所列金龙、龙凤、龙草、金琢磨彩画外,还有金红玉龙凤枋心、凤和玺、梵纹龙和玺等多种形式。在实际使用中各地可抓住金龙、龙凤、龙草的特点,结合本地的传统做法,创造出更加丰富多彩的和玺彩画。和玺彩画多用于皇家宫殿中,佛教建筑中的和玺彩画多以梵文、莲座等为装饰。
13.3 旋子彩画13.3.1 旋子彩画根据施工工艺可分为浑金旋子彩画,金琢墨石碾玉旋子彩画、烟琢墨石碾玉旋子彩画、金线大点金旋子彩画、墨线大点金旋子彩画、小点金旋子彩画、雅伍墨旋子彩画、雄黄玉旋子彩画。 条文说明
13.3.1~13.3.9 本节所列旋子彩画的分类、特点及构图要求是根据北方地区实际做法总结提出的。在实际使用时各地应抓住这些特点,结合实际情况和当地传统做法,创作出更好的旋子彩画。
13.4 苏式彩画13.4.1 苏式彩画按施工工艺可分为金琢墨苏式彩画、金线苏式彩画、墨线与黄线苏式彩画。13.4.2 大木彩画金琢墨苏式彩画做法应符合下列规定: 1 金琢墨苏式彩画应按设箍头、包栿、卡子形式构图; 2 包栿内应绘制人物故事、花鸟鱼虫、走兽、风景山水; 3 找头应绘画黑叶子花,柁头绘画博古或洋抹山水图案; 4 箍头可绘制汉瓦箍头、金琢墨倒里万字、阴阳万字、倒里万字; 5 斗栱应采用不沥粉平金; 6 轮廓大线应采用沥粉贴金,箍头应采用金琢墨攒退,卡子应采用金琢墨攒或片金。 13.4.3 大木彩画线苏式彩画做法应符合下列规定: 1 线苏式彩画应按设箍头、包栿、枋心、卡子构图; 2 垫板、额枋的包栿或枋心应绘画人物故事、花鸟鱼虫、走兽、风景山水; 3 檩、额枋的找头应分别绘出墨叶子和聚锦图案; 4 檩、额枋、柱子的箍头可绘画汉瓦片箍头、阴阳万字箍头、回纹箍头、素池; 5 柁头应绘制博古或洋抹山水,主体框大线应沥粉贴金。 13.4.4 大木彩画墨线或黄线苏式彩画做法应符合下列规定: 1 墨线或黄线苏式彩画应按设箍头、包栿、卡子构图; 2 主体框架大线应采用墨线或黄线; 3 包栿应绘画人物故事、花鸟鱼虫、走兽、风景山水; 4 檩、额枋的找头应绘以墨叶子花和聚锦图案; 5 檩、额枋、垫板、柱子的箍头可绘制阴阳万字箍头、回纹箍头,卡子的纹饰应采用烟琢墨攒退或包卡子做法。 13.4.5 大木彩画质量要求和检验方法应按本标准第13.2.4条的规定执行。 条文说明
13.4.1~13.4.4 本节所列苏式彩画分类、特点及其做法是根据北方地区做法的实践总结提出的。在实际施作中应抓住这些特点,结合实际情况和当地传统做法,创造出更丰富多彩的苏式彩画。苏式彩画中的绘图部分常做白色涂料底子,在白色底子上染色。为使染色均匀、易染开、不洇色,可在底子上先刷一道矾水,再行染色。应每染色一次刷矾水一道,使上的颜色固定,不被着色搅混。 13.5 斗栱彩画与椽头彩画13.5.1 各类斗栱的用色做法应符合下列规定: 1 斗栱彩画应以青绿色为主,间配红油漆、青绿两色相间; 2 柱头科、升、斗应采用蓝色,栱、翘、昂应采用绿色; 3 平身科由柱头科向中间应采用青绿两色相间,两侧对称; 4 正身栱眼与外栈横坡棱应采用红油漆,垫栱板中部应采用红油漆、边框刷绿色。 13.5.2 各种斗栱彩画的做法应符合下列规定: 1 金琢墨斗栱彩画,边线应沥粉贴金、起晕、齐白粉线,并在底色中部画墨线; 2 金线斗栱彩画,边线应贴平金、齐白粉线,不退晕; 3 墨线斗栱彩画,应用墨线或黄线勾边、齐白粉线,不贴金。 13.5.3 斗栱板做法应符合下列规定: 1 轮廓应根据斗栱、金线采用沥粉,金线外边刷绿色; 2 斗栱带晕色的,应拉三绿晕色并拉粉; 3 斗栱板内部除金线采用龙凤外,其余应采用三宝珠金火焰; 4 龙凤三宝珠有金活的,应打谱子沥粉,垫光没、打金胶印、贴金后再点黑白龙眼。 13.5.4 椽头彩画应与大木彩画相配使用,其做法应符合下列规定: 1 设色应以青、绿色为主要色调; 2 飞椽头的底色应为绿色,老椽头应为青色,青绿色应相间使用; 3 当大木不做彩画只做油饰时,飞椽头应做绿色,老椽头应饰青色; 4 当大木彩画只作卡箍头或卡箍头搭包栿时,飞椽、老椽头均应做彩画; 5 飞椽头与老椽头的搭配使用应按设计要求执行,设计无明确要求时应按传统做法执行。 13.5.5 斗栱彩画质量要求和检查方法应符合表13.5.5 的规定。 表13.5.5 斗栱彩画质量要求和检查方法
13.5.6 椽头彩画质量要求和检查方法应符合表13.5.6 的规定。 表13.5.6 椽头彩画质量要求和检查方法
条文说明
13.5.1、13.5.2 斗栱彩画的类型繁多,是根据北方地区实践总结提出来的,在实际使用中应与当地传统做法相结合,遵守斗栱彩画用色构图的一般规定。同时应注意斗栱的用色,图案应与大木彩画相匹配。 13.5.3 斗栱板彩画根据斗栱彩画而定,斗栱板和斗栱彩画应根据大木彩画的情况进行选用。 13.5.4 椽子彩画是建筑彩画不可缺少的一个组成部分。椽子彩画应与大木彩画配合选用。 13.6 天花彩画13.6.1 天花彩画可分为软天花、硬天花,做法应符合下列规定: 1 软天花做法应以高丽纸用浆糊粘在墙上;应将纸的上口粘上,满刷矾水一道,再粘纸的两边及下口;干后,应拍谱子。施做时井口内的图案应与燕尾同时彩画,全部画完后应比好尺寸截齐,再糊天花及燕尾;全部糊好后再刷支条、井口线,最后贴金。 2 硬天花做法应将天花板摘下,标好号码;正殿应以南为上,东房应以西为上,西房应以东为上;号码字头应向上,以利按位就座;地仗做好后,应磨生油、过水布、打谱子、沥粉、刷色、包黄胶、打金胶、贴金,全部彩画完再安装到原位置上。 13.6.2 天花彩画按画法和图饰内容可分为龙凤天花彩画、坐龙天花彩画、金线天花彩画、金莲水草天花彩画、烟琢墨天花彩画、升降龙天花彩画、团鹤天花彩画、墨线天花彩画等,做法应符合下列规定: 1 龙凤天花彩画应以龙和凤的形象构成天花彩画的主题;龙应画升龙,凤应画降凤;龙凤中间应绘宝珠火焰,成为龙凤戏珠形式。 2 坐龙天花彩画应由方鼓子线、岔角、圆鼓子线和圆鼓子龙心构成;支条十字交叉处应绘轱辘燕尾云,凡沥粉均应贴金;天花圆鼓子心内绘坐龙,其龙形应适应圆鼓子的圆形;龙的周围应伴绘云气及宝珠焰。 3 金线天花彩画主要线路方鼓子线、圆鼓子线均应沥粉贴金;天花支条的井口线也应沥粉贴金;其他图案应着色处理。 4 金莲水草天花彩画内容应以荷花、水草为主构图;花头应沥粉贴金,荷叶水草应用颜色作染;圆光心内,花草以外地方应用蓝、白色接天地。方圆鼓子线、支条井口线、天花燕尾、轱辘图案均贴库金;其余应为三青底色玉作卡子。凡卡子之间的其他支条面均应刷原绿色。 5 烟琢墨天花彩画天花纹饰应填饰各种(金箔色除外)颜色;天花外部轮廓线应采用黑色完成天花彩画。 6 升降龙天花彩画圆鼓子以内应绘两条龙,一条作升龙,一条作降龙;两龙中间应绘宝珠火焰,或成二龙戏珠之式;应采用沥粉贴金的片金做法。 7 团鹤天花彩色应以鹤为主构图。鹤造型应基本成圆形,适于圆鼓子;圆鼓子空地应绘以灵芝、竹叶、寿桃;其他均应以作染技法绘完。 8 墨线天花彩画图案轮廓线应全部用黑色完成;天花图案线均不应贴金。 9 各种天花彩画与梁枋彩画的配置使用应符合下列规定: 1)梁枋彩画应为金龙和玺、金线大点金者,配片金或金线天花; 2)梁枋彩画应为金琢墨者,配金琢墨天花; 3)梁枋彩画应为黄线无金活者,配墨线或黄线天花。 13.6.3 天花彩画的施工操作应符合下列规定: 1 天花彩画的图案用色应符合设计要求或画稿、小样的要求; 2 天花彩画施绘的方法和程序应符合本标准第13.6.1条的规定; 3 各种沥粉的线条应粗细一致、圆滑,无崩裂、掉条卷翘现象; 4 天花彩画施涂的各种色彩应均匀一致,无翘皮、掉色、漏刷、透底现象。 13.6.4 天花彩画质量要求和检查方法应符合表13.6.4的规定。 表13.6.4 天花彩画质量要求和检查方法
13.6.5 楣子、牙子、雀替、花活彩画质量要求应符合下列规定: 1 楣子掏里应刷严、刷到,迎面应均匀一致,线条应流畅清晰直顺,色彩足实,分色线整齐,无裹面; 2 牙子掏里应刷严、刷到,涂色足实均匀,渲染均匀无斑迹,色调沉稳; 3 雀替、花活应色彩鲜明,足实盖地,层次清楚,渲染均匀,线道宽窄一致,留晕整齐,不褪色,不露缝,洁净无脏色污点。 条文说明 13.6.1、13.6.2 在实际使用中,天花彩画应注意与梁枋彩画搭配使用,如金龙和玺应配片金或金线天花,无金彩画应配墨线或黄线天花等。附录A 传统建筑墙体用砖表A 传统建筑墙体用砖
附录B 砌筑工程的传统灰浆配比及制作要点表B 砌筑工程的传统灰浆配比及制作要点
附录C 传统建筑砌筑用砖表C 传统建筑砌筑用砖
附录D 建筑木雕常用材表D 建筑木雕常用材
附录E 建筑石雕常用材表E 建筑石雕常用材
本标准用词说明1 为便于在执行本标准条文时区别对待,对要求严格程度不同的用词说明如下: 引用标准名录1 《木结构设计标准》 GB 50005
|
2. 盗版,破解有损他人权益和违法作为,请各位站长支持正版!

国家标准(推荐)