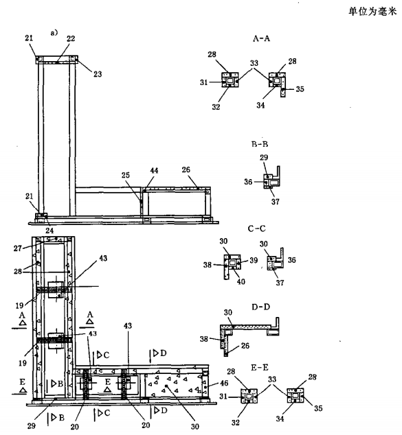
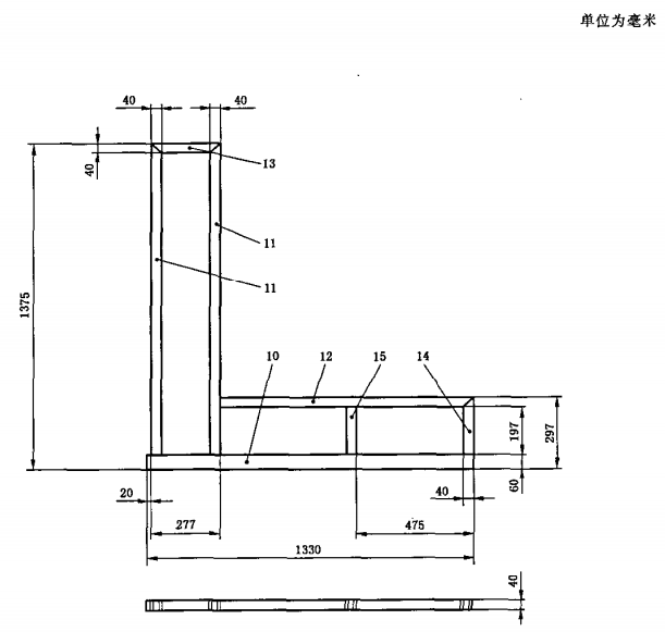
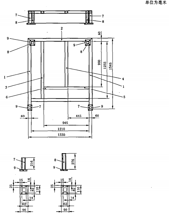
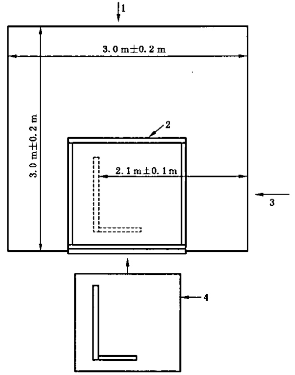
前言中华人民共和国国家标准 本标准等同采用EN 13823:2002《建筑制品对火反应——不含铺地材料的建筑制品单项燃烧试验方法(英文版)。建筑材料或制品的单体燃烧试验 Single burning item test for building materials and products GB/T 20284-2006 2006-06-02发布 2006-11-01实施 中华人民共和国国家质量监督检验检疫总局 中国国家标准化管理委员会 发布 本标准等同翻译EN 13823:2002。 为便于使用,本标准做了下列编辑性修改: a) 标准的名称作了修改,以适合我国的习惯。 b) 用我国国家标准代替了引用的国际标准(见“第2章规范性引用文件”)。 c) "本欧洲标准”一词改为“本标准”; d) 用小数点‘.'代替作为小数点的逗号“,”; e) 删除了EN标准的前言及引言; f) 增加了资料性附录H以指导使用。 本标准的附录A、附录C、附录E是规范性附录,附录B、附录D、附录F、附录G、附录H是资料性附录。 本标准由中华人民共和国公安部提出。 本标准由全国消防标准化技术委员会第七分技术委员会(SAC/TC 113/SC 7)归口。 本标准起草单位:公安部四川消防研究所。 本标准主要起草人:张羽、王莉萍、卢国建、邓小兵、赵丽。 1 范围本标准规定了用以确定建筑材料或制品(不包括铺地材料以及2000/147/EC号《EC决议》中指出的制品)在单体燃烧试验(SBI)中的对火反应性能的方法。计算步骤见附录A。试验方法的精确度见附录B,校准步骤见附录C和附录D。注:本标准的制定是用以确定平板式建筑制品的对火反应性能。对某些制品,如线性制品(套管、管道、电缆等)则需采用特殊的规定,其中管状隔热材料采用附录H规定的方法。 2 规范性引用文件下列文件中的条款通过本标准的引用而成为本标准的条款。凡是注日期的引用文件,其随后所有的修改单(不包括勘误的内容)或修订版均不适用于本标准,然而,鼓励根据本标准达成协议的各方研究是否可使用这些文件的最新版本,凡是不注日期的引用文件,其最新版本适用于本标淮。GB/T 16839.1 热电偶 第1部分:分度表(GB/T 16839.1—1997,idt IEC 584-1:1995) GB/T 6379.1-2004 测量方法与结果的准确度(正确度与精密度) 第1部分:总则与定义 (ISO 5725-1:1994,IDT) GB/T 6379.2—2004测量方法与结果的准确度(正确度与精密度) 第2部分:确定标准测量方法重复性与再现性的基本方法(ISO 5725-2,1994,IDT) ISO 13943 Fire safety-Vocabulary 消防安全术语 EN 13501-1 Fire classification of construction products and building elements—Part 1:Classification using test data from reaction to fire tests 建筑制品和构件的火灾分级 第1部分:用对火反应试验数据的分级 EN 13238 Reaction to fire tests for building products—Conditioning procedures and general rules for selection of substrates 建筑制品的对火反应试验—— 状态调节程序和基材选择的一般规则 3 术语和定义ISO 13943和EN 13501-1中的术语和定义以及下述术语和定义适用于本标准。3.1 背板 backing board 用以支撑试样的硅酸钙板,既可安装于自撑试样的背面与其直接接触,亦可与其有一定距离。 3.2 试样 specimen 用于试验的制品。 注:这可包括实际应用中采用的安装技术,亦可包括适当的空气间隙和/或基材。 3.3 基材 substrate 紧贴在制品下面的材料,需提供与其有关的信息。 3.4 THR600s 试样受火于主燃烧器最初600s内的总热释放量。 3.5 LFS 火焰在试样长翼上的横向传播。 注:LFS的详细说明见8.3.3。 3.6 TSP600s 试样受火于主燃烧器最初600s内的总产烟量。 3.7 FIGRA0.2MJ 燃烧增长速率指数。临界值达0.2MJ以后,试样热释放速率与受火时间的比值的最大值。 注:FIGRA0.2MJ的详细说明见附录A的A.5.3。 3.8 FIGRA0.4MJ 燃烧增长速率指数。 THR临界值达0.4MJ以后,试样热释放速率与受火时间的比值的最大值。 注:FIGRA0.4MJ的详细说明见附录A的A.5.3。 3.9 SMOGRA 烟气生成速率指数,试样产烟率与所需受火时间的比值的最大值。 注:SMOGRA的详细说明见附录A的A.6.3。 3.10 持续燃烧 sustained flaming 火焰在试样表面或其上方持续至少一段时间的燃烧。 4 试验装置4.1 概要4.2 燃烧室 4.3 燃料 4.4 试验设备 4.5 排烟系统 4.6 综合测量装置 4.7 其他通用装置 4.1 概要SBI试验装置包括燃烧室、试验设备(小推车、框架、燃烧器、集气罩、收集器和导管)、排烟系统和常规测量装置。这些部件的详细说明见4.2至4.7。设计图示见附录E。除非文中给出了公差,否则图示中的尺寸为名义尺寸。注:从小推车下方进入燃烧室的空气应为新鲜的洁净空气。 4.2 燃烧室4.2.1 燃烧室的室内高度为(2.4±0.1)m,室内地板面积为(3.0±0.2)X(3.0±0.2)m²。墙体应由砖石砌块(如多孔混凝土)、石膏板、硅酸钙板或根据EN 13501-1划分为A1或A2级的其他类板材建成。 4.2.2 燃烧室的一面墙上应设一开口,以便于将小推车从毗邻的实验室移入该燃烧室里。开口的宽度至少为1470mm,高度至少为2450mm(框架的尺寸)。应在垂直试样板的两前表面正对的两面墙上分别开设窗口。为便于在小推车就位后能调控好SBI装置和试件,还需增设一道门。4.2.3 小推车在燃烧室就位后,和U型卡槽接触的长翼试样表面与燃烧室墙面之间的距离应为(2.1±0.1)m。该距离为长翼与所面对的墙面的垂直距离。燃烧室的开口面积(不含小推车底部的空气人口及集气罩里的排烟开口)不应超过0.05 m²。 4.2.4 如图1所示,样品采用左向或右向安装均可(图1中的小推车与垂直线成镜面对称即可)。 注1:为在不移动收集器的情况下而能将集气罩的侧板移开,应注意SBI框架与燃烧室天花板之间的连接情况,应能在底部将侧板移出。 注2:燃烧室中框架的相对位置应根据燃烧室和框架之间连接的具体情况而定。
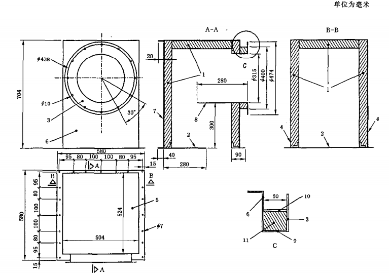
1—试验观察位置; 2—固定框架; 3—试验观察位置(左向安装的试样); 4—小推车(带左向安装的试样)。 注:样品既可左向安装亦可右向安装。对右向安装的试样而言,图形与垂直线成镜面对称即可。 图1 SBI燃烧室设计的俯视图(示意图) 4.3 燃料4.3.1 商用丙烷气体,纯度≥95%。4.4 试验设备(见附录E中的图E.1至图E.25)4.4.1 小推车,其上安装两个相互垂直的样品试件,在垂直角的底部有一砂盒燃烧器。小推车的放置位置应使小推车背面正好封闭燃烧室墙上的开口;为使气流沿燃烧室地板均匀分布,在小推车底板下的空气入口处配设有多孔板(其开孔面积占总面积的40%〜60%;孔眼直径为8mm〜12mm)。 4.4.2 固定框架,小推车被推入其中进行试验并支撑集气罩;框架上固定有辅助燃烧器。 4.4.3 集气罩,位于固定框架顶部,用以收集燃烧产生的气体。 4.4.4 收集器,位于集气罩的顶部,带有节气板和连接排烟管道的水平出口。 4.4.5 J型排烟管道,内径为(315±5)mm的隔热圆管,用50mm厚的耐高温矿物棉保温,并配有下列部件(沿气流方向): ——与收集器相连的接头; ——长度为500mm的管道,内置四支热电偶(用以选择性地测量温度),且热电偶安装位置距收集器至少400mm; ——长度为1000mm的管道; ——两个90°的弯头(轴的曲率半径为400mm); ——长度为1625mm的管道,该管道带一叶片导流器和节流孔板。导流器距弯头末端50mm,长度为630mm,紧接导流器后是一厚度为(2.0±0.5)mm的节流孔板,该节流孔板的内开口直径为265mm、外开口直径为314mm; ——长度为2155mm的管道,配有压力探头、四支热电偶、气体取样探头和白光消光系统等装置;该部分称为“综合测量区"; ——长度为500mm的管道; ——与排烟管道相连的接头。 注:应注意测量管道的安装方式。总质量(不包括探头)约为250kg。 4.4.6 两个相同的砂盒燃烧器(见附录E的图E.9),其中一个位于小推车的底板上(为主燃烧器),另外一个固定在框架柱上(为辅助燃烧器),其规格如下: a) 砂盒燃烧器形状:腰长为250mm的等腰直角三角形(俯视),高度为80mm,底部除重心处有一直径为12.5mm的管套插孔外,顶部开敞,其余全部封闭。在距离燃烧器底部10mm高度处应安装一直角三角形多孔板。在距离底部12mm和60mm的高度处应安装最大网孔尺寸不超过2mm的金属丝筛网。所有尺寸偏差不应超过±2mm。 b) 材料:盒体由1.5mm厚的不锈钢制成,从底部至顶部连续分布:高度为10mm的间隙层;大小为(4〜8)mm、填充高度至60mm的卵石层;大小为(2〜4)mm、填充高度至80mm的砂石层。卵石层和砂石层用金属丝网加以稳固,以防止卵石进入气体管道内。采用的卵石和砂石应为圆形且无碎石。 c) 主燃烧器的位置:主燃烧器安装在小推车底板上(见附录E的图E.18)并与试样底部的U型卡槽紧靠。主燃烧器的顶边应与U型卡槽的顶边水平一致,相差不超过±2mm。 d) 辅助燃烧器的位置:辅助燃烧器固定在与试样夹角相对的框架柱上,且燃烧器的顶部髙出燃烧室地板(1450±5)mm(与集气罩的垂直距离为1000mm),其斜边与主燃烧器的斜边平行且与该斜边的距离最近。 e) 主燃烧器在试样的长翼和短翼方位都与U型卡槽紧靠(见附录E的图E.18的第10部分)。在两个方向的U型卡槽里,都设有一挡片(见附录E的图E.19),其顶面与U型卡槽的顶面高度相同,且距安装好的试样两翼夹角棱线0.3m(在燃烧器区域边界处,见8.3.4)。 f) 根据8.5c),如果先前同类制品的试验因材料滴落到砂床上而引起试验提前结束,那么应用斜三角形格栅对主燃烧器进行保护。格栅的开口面积至少应占总面积的90%。格栅的一侧放在主燃烧器的斜边上。斜三角形栅与水平面夹角为(45±5)°,该夹角可通过主燃烧器斜边中点至试样夹角作一水平直线来测得。 4.4.7 矩形屏蔽板,宽度为(370±5)mm、高度为(550±5)mm,由硅酸钙板制成(其规格与背板规格相同),用以保护试样免受辅助燃烧器火焰辐射热的影响。矩形屏蔽板应固定在辅助燃烧器的底面斜边上, 其底边中心位于燃烧器底面斜边的中心位置处且遮住斜边的整个长度,并在斜边两端各伸出(8±3)mm, 其顶边高出辅助燃烧器顶端(470±5)mm。 4.4.8 质量流量控制器,量程至少为0g/s~2. 3g/s,在0.6g/s~2.3g/s内的读数精度为1%。(亦见附录C的C.1.5。) 注:采用丙烷气有效燃烧热的低值(46360 kJ/kg)进行计算,2.3g/s的丙烷流量对应的热释放为107kW。 4.4.9 供气开关,用以向其中一个燃烧器供应丙烷气体。该开关应防止丙烷气体同时被供给两个燃烧器,但燃烧器切换的时间段除外(在切换瞬间,辅助燃烧器的燃气输出量在减少而主燃烧器的输出量在增加)。依据附录A的A.3.1计算的该燃烧器切换响应时间不应超过12s。应该能在燃烧室外操作开关及上述的主要阀门。 4.4.10 背板,用以支撑小推车中试样的两翼。背板的材料为硅酸钙板,其密度为(800±150)kg/m3, 厚度为(12±3)mm,尺寸为: a) 短翼背板:(≥570+试样厚度)mm×(1500±5)mm; b) 长翼背板:(1000 +空隙宽度±5).mm×(l500±5)mm。 短翼背板宽于试样,多余的宽度只能从一侧延伸出。对安装留有空隙的试样而言,应增加长翼背板的宽度,所增加的宽度等于空隙的尺寸。 4.4.11 活动板,为允许在试样两翼的后面增加空气流,附录E的图E.20中板22和板25应用它们一半大小的板替换,遮挡上半部分间隙。 4.5 排烟系统4.5.1 在试验条件下,当标准条件温度为298K时,排烟系统应能以0.50m³/s~0.65m³/s的速度持续抽排烟气。4.5.2 排烟管道应配有两个侧管(内径为45mm的圆形管道),与排烟管道的纵轴水平垂直且其轴线高度位置与排烟管道的纵轴线高度相等(见附录E的图E.32和E.33)。 4.5.3 排烟管道的两种可能性结构见附录E的图E.1。图示的小推车在燃烧室的开口是位于顶部的。若能保证管道方向的改变不会对试样上方的气流产生影响,则管道方向可与附录E的图E.1中所示的方向有所不同。若能保证流量测量的不确定度相同或更小,可以拆卸排烟管道中180°的弯头或更换管道中的双向压力探头。 注1:因热输出的变化,所以在试验中,需对一些排烟系统(尤其是设有局部通风机的系统〉进行人工或自动重调以满足4.5.1中的要求。 注2:每隔一段时间便应清洁管道以避免堆积过多的煤烟。 4.6 综合测量装置(见附录E的图E.28至E.35)4.6.1 三支热电偶,均为直径为0.5mm且符合GB/T 16839.1要求的铠装绝缘K型热电偶。其触点均应位于距轴线半径为(87±5)mm的圆弧上,其夹角为120°。 4.6.2 双向探头,与量程至少为(0〜100)Pa且精度为±2Pa的压力传感器相连。压力传感器90%输出的响应时间最多为1s。 4.6.3 气体取样探头,与气体调节装置和O2及CO2气体分析仪相连。 a) 氧气分析仪应为顺磁型且至少能测量出浓度为16%〜21%(V氧气/V空气)的02。氧气分析仪的响应时间应不超过12s(根据附录C的C.2.1得出)。30min内,分析仪的漂移和噪声均不超过100x10-6(均根据附录C的C.1.3得出)。分析仪对数据采集系统的输出应有100×10-6 的最大分辨率。 b) 二氧化碳分析仪应为IR型并至少能测量出浓度为0%〜10%的CO2。分析仪的线性度至少应为满量程的1%。分析仪的响应时间应不超过12s(根据附录C的C.2.1得出)。分析仪对数据采集系统的输出应有100x10-6的最大分辨率。 4.6.4 光衰减系统,为白炽光型,采用柔性接头安装于排烟管的侧管上,并包含以下装置: a) 灯,为白炽灯并在(2900±100)K的色温下使用。电源为稳定的直流电,且电流的波动范围在±0.5%以内(包括温度、短期及长期稳定性)。 b) 透镜系统,用以将光聚成一直径至少为20mm的平行光束。光电管的发光孔应位于其前面的透镜的焦点上,且其直径(d)应视透镜的焦距(f)而定以使d/f小于0.04。 c) 探测器,其光谱分布响应度与CIE(光照曲线)相吻合,色度标准函数V(r)能达到至少±5%精确度。在至少两位数以上的输出范围内,探测器输出的线性度应在所测量的透光率的3%以内或绝对透光率的1%以内。 光衰减系统的校准见附录C的C.1.6。系统90%响应时间不应超过3s。 应向侧管内导入空气以使光学器件保持符合光衰减漂移要求的洁净度(见附录A的A.3.4)。可使用压缩空气来替代附录E的图E.34中建议使用的自吸式系统。 4.7 其他通用装置4.7.1 热电偶,为符合GB/T 16839.1要求、直径为(2±1)mm的K型热电偶,用以测量进入燃烧室空气的环境温度。热电偶应安置在燃烧室的外墙上,与小推车开口间的距离不超过0.20m且离地板的高度不超过0.20m。4.7.2 测量环境压力的装置,精度为±200Pa(2mbar)。 4.7.3 测量室内空气相对湿度的装置,在相对湿度为20%〜80%范围内,精度为±5%。 4.7.4 数据采集系统(用以自动记录数据),对于O2和CO2,精度至少为100×10-6(0.01%);对于温度测量,精度为0.5°C;对于所有其他仪器,为仪器满量程输出值的0.1%;对于时间,为0.1s。数据采集系统应每3s便记录、储存以下有关数值(有关数据文件格式的信息见附录F): a) 时间,s; b) 通过燃烧器的丙烷气的质量流量,mg/s; c) 双向探头的压差,Pa; d) 相对光密度,无单位; e) O2浓度,(V氧气/V空气)%; f)CO2 浓度,(V二氧化碳/V空气)% g) 小推车底部空气导入口处的环境温度,k; h) 综合测量区的三点温度值,K。 5 试验试样5.1 试样尺寸5.2 试样的安装 5.3 试样翼在小推车中的安装 5.4 试样数量 5.1 试样尺寸5.1.1 角型试样有两个翼,分别为长翼和短翼。试样的最大厚度为200mm。板式制品的尺寸如下: a) 短翼:(495±5)mm× (1500±5)mm; b) 长翼:(1000±5)mm×(1500±5)mm。 注:若使用其他制品制作成试样(根据5.3.2),则给出的尺寸指的是试样的总尺寸。 5.1.2 除非在制品说明里有规定,否则若试样厚度超过200mm,则应将试样的非受火面切除掉以使试样厚度为
5.1.3 应在长翼的受火面距试样夹角最远端的边缘、且距试样底边高度分别为(500±3)mm和 (1000±3)mm处画两条水平线,以观察火焰在这两个高度边缘的横向传播情况。所画横线的宽度值≤3mm。 5.2 试样的安装5.2.1 实际应用安装方法对样品进行试验时,若采用制品要求的实际应用方法进行安装,则试验结果仅对该应用方式有效。 5.2.2 标准安装方法 采用标准安装方法对制品进行试验时,试验结果除了对以该方式进行实际应用的情况有效外,对更广范围内的多种实际应用方式也有效。采用的标准安装方法及其有效性范围应符合相关的制品规范以及下述规定。 a) 在对实际应用中自立无需支撑的板进行试验时,板应自立于距背板至少80mm处。对在实际应用中其后有通风间隙的板进行试验时,其通风间隙的宽度应至少为40mm。对于这两种板,离试样角最远端的间隙的侧面应敞开,并去掉4.4.11中所述的活动盖板,且两个试样翼后的间隙应为开敞式连接。对于其他类型的板,离角最远的间隙的侧面应封闭,4.4.11中所述的盖板应保持原位且两个试样翼后的间隙不应为开敞式连接。 b) 对于在实际应用中以机械方式固定于基材上的板,应采用适当的紧固件将板固定于相同基材上进行试验。对于延伸出试样表面的紧固件,其安装方法应使得试样翼能与底部的U型卡槽相靠并能与其侧面的另一试样翼完全相靠。 c) 对于在实际应用中以机械方式固定于基材且其后有间隙的板,试验时应将其与基材和背板及间隙一道进行试验。基材与背板之间的距离至少应为40mm。 d) 对于在实际应用中粘接于基材上的制品,应将其粘接在基材上后再进行试验。 e) 所试验制品有水平接缝的,试验时水平接缝设置在样品的长翼上,且距样品底边500mm。所试验制品有垂直接缝的,试验时垂直接缝在样品长翼上,且距夹角棱线200mm,试样两翼安装好后进行试验时测量上述距离。 注:当试样在小推车里安装完毕后,应看不见试样的底边。但高度仍从试样底边而不是从U型卡槽顶端开始测量。 f) 有空气槽的多层制品,试验时空气槽应为垂直方向。 g) 标准基材应符合EN 13238的要求。基材的尺寸应与试样的尺寸一致(见5.1.1)。 h) 对表面不平整的制品进行试验时,受火面中250mm2具有代表性的面上最多只有30%的面与U型卡槽后侧所在的垂直面相距10mm以上。可通过改变表面不平整的样品的形状和/或使样品延伸出U型卡槽至燃烧器的一侧来满足该要求。样品不应延伸出燃烧器(即延伸出U型卡槽的最长距离为40mm)。 注1:试验时,应使样品与U型卡槽的后侧相靠(见5.3.1)。这样,表面完全平整的样品便在U型卡槽后侧的垂直面上。由于样品表面的位置对接受燃烧器火焰的释放热有影响,所以表面不平整的样品的主要部分不应远离U型卡槽后侧的垂直面。 注2:图2是试样及背板的安装图例。
1——背板; 2 —— L型角条; 3 ——空隙; 4——接缝; 5——试样翼边; 6 ——燃烧器; 7——U型卡槽。 图2试样和背板的安装图例(示意图) 5.3 试样翼在小推车中的安装5.3.1 试样翼在小推车中应按下列要求安装:a) 试样短翼和背板安装于小推车上,背板的延伸部分在主燃烧器的侧面且试样的底边与小推车底板上的短U型卡槽相靠。 b) 试样长翼和背板安装于小推车上,背板的一端边缘与短翼背板的延伸部分相靠且试样的底边与小推车底板上的长U型卡槽相靠。 c) 试样双翼在顶部和底部均应用固定件夹紧。 d) 为确保背板的交角棱线在试验过程中不至于变宽,应符合以下其中一条规定: 1) 长度为1500mm的L型金属角条应放于长翼背板的后侧边缘处,并与短翼背板在交角处靠紧。采用紧固件以250mm的最大间距将L型角条与背板相连;或 2) 钢质背网应安装在背板背面。 5.3.2 试验样品的暴露边缘和交角处的接缝可用一种附加材料加以保护,而这种保护要与该制品在实际中的使用相吻合。若使用了附加材料,则两翼边的宽度包含该附加材料在内应符合5.1.1的要求。 5.3.3 将试样安装在小推车上,应从以下几个方面进行拍照: a) 长翼受火面的整体镜头:长翼的中心点应在视景的中心处。照相机的镜头视角与长翼的表面垂直。 b) 距小推车底板500mm高度处长翼的垂直外边的特写镜头:照相机的镜头视角应水平并与翼的垂直面约成45°角。 c) 若按5.3.2使用了附加材料,则应拍摄使用这种材料处的边缘和接缝的特写镜头。 5.4 试样数量应根据第8章用三组试样(三组长翼加短翼)进行试验。6 状态调节6.1 状态调节应根据EN 13238以及6.2中的要求进行。6.2 组成试样的部件既可分开也可固定在一起进行状态调节。但是,对于胶合在基材上进行试验的试样,应在状态调节前将试样胶合在基材上。 注:对于固定在一起的试样,状态调节需要更长的时间才能达到质量恒定。 7 试验原理由两个成直角的垂直翼组成的试样暴露于直角底部的主燃烧器产生的火焰中,火焰由丙烷气体燃烧产生,丙烷气体通过砂盒燃烧器并产生(30.7±2.0)kW的热输出。试样的燃烧性能通过20min的试验过程来进行评估。性能参数包括:热释放、产烟量、火焰横向传播和燃烧滴落物及颗粒物。 在点燃主燃烧器前,应利用离试样较远的辅助燃烧器对燃烧器自身的热输出和产烟量进行短时间的测量。 一些参数测量可自动进行,另一些则可通过目测法得出。排烟管道配有用以测量温度、光衰减、O2 和CO2的摩尔分数以及管道中引起压力差的气流的传感器。这些数值是自动记录的并用以计算体积流速、热释放速率(HRR)和产烟率(SPR)。 对火焰的横向传播和燃烧滴落物及颗粒物可采用目测法进行测量。 8 试验步骤8.1 概要8.2 试验操作 8.3 目测法和数据的人工记录 8.4 数据采集 8.5 试验的提前结束 8.1 概要将试样安装在小推车上,主燃烧器已位于集气罩下的框架内,按8.2中的步骤依次进行试验,直至试验结束。整个试验步骤应在试样从状态调节室中取出后的2h内完成。8.2 试验操作8.2.1 将排烟管道的体积流速V298(t)设为(0.60±0. 05)m³/s[(根据附录A的A.5.1.1a计算得出)]。在整个试验期间,该体积流速应控制在0.50m³/s〜0.65m³/s的范围内。注:在试验过程中,因热输出的变化,需对一些排烟系统(尤其是设有局部通风机的排烟系统)进行人工或自动重调以满足规定的要求。 8.2.2 记录排烟管道中热电偶T1、T2和T3的温度以及环境温度且记录时间至少应达300s。 环境温度应在(20±10)°C内,管道中的温度与环境温度相差不应超过4°C。 8.2.3 点燃两个燃烧器的引燃火焰(如使用了引燃火焰)。试验过程中引燃火焰的燃气供应速度变化不应超过5mg/s。 8.2.4 记录试验前的情况。需记录的数据见8.3.2。 8.2.5 采用精密计时器开始计时并自动记录数据。开始的时间t为0s。需记录的数据见8.4。 8.2.6 在t为(120±5)s时:点燃辅助燃烧器并将丙烷气体的质量流量M气(t)调至(647±10)mg/s,此调整应在t为150s前进行。整个试验期间丙烷气质量流量应在此范围内。 注:在210s<t<270s这一时间段是测量热释放速率的基准时段。 8.2.7 在t为(300±5)s时:丙烷气体从辅助燃烧器切换到主燃烧器。观察并记录主燃烧器被引燃的时间。 8.2.8 观察试样的燃烧行为,观察时间为1260s并在记录单上记录数据。需记录的数据见8.3.3和8.3.4。 注:试样暴露于主燃烧器火焰下的时间规定为1260s。在1200s内对试样进行性能评估。 8.2.9 在 t≥1560s 时: a) 停止向燃烧器供应燃气; b) 停止数据的自动记录。 8.2.10 当试样的残余燃烧完全熄灭至少1min后,应在记录单上记录试验结束时的情况。应记录的数据见8.3.5。 注:应在无残余燃烧影响的情况下记录试验结束时的现象。若试样很难彻底熄灭,则需将小推车移出。 8.3 目测法和数据的人工记录8.3.1 概要本条中的数值应采用目测法观察得出并按规定格式记录。应向观察者提供安装有记录仪的精密计时器。得到的观察结果应记录在记录单上,示例见附录G。 8.3.2 试验前的情况 应记录以下数值: a) 环境大气压力(Pa); b) 环境相对湿度(%)。 - 8.3.3 火焰在长翼上的横向传播 在试验开始后的1500s内,在500mm至1000mm之间的任何高度,持续火焰到达试样长翼远边缘处时,火焰的横向传播应予以记录。火焰在试样表面边缘处至少持续5s为该现象的判据。 注:当试样安装于小推车中时,是看不见试样的底边缘的。安装好试样后,试样在小推车的U型卡槽顶部位置的高度约为20mm。 8.3.4 燃烧颗粒物或滴落物 仅在开始受火后的600s内及仅当燃烧滴落物/颗粒物滴落到燃烧器区域外的小推车底板(试样的低边缘水平面内)上时,才记录燃烧滴落物/颗粒物的滴落现象。燃烧器区域定义为试样翼前侧的小推车底板区,与试样翼之间的交角线的距离小于0.3m(见图3)。应记录以下现象: a) 在给定的时间间隔和区域里,滴落后仍在燃烧但燃烧时间不超过10s的燃烧滴落物/颗粒物的滴落情况; b) 在给定的时间间隔和区域里,滴落后仍在燃烧但燃烧时间超过10s的燃烧滴落物/颗粒物的滴落情况; 需在小推车的底板上画一1/4圆,以标记燃烧器区域的边界。画线的宽度应小于3mm。 注1:接触到燃烧器区域外的小推车底板上且仍在燃烧的试样部分应视为滴落物,即便这些部分与试样仍为一个整体(如强度较弱的制品的弯曲)。 注2:为防止熔化的材料从燃烧器区域里流到燃烧器区域外,需在燃烧器区域边界处两个长、短翼的U型卡槽上各安装一块挡片(见4.4.6)。
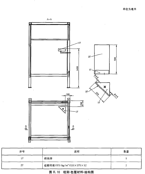
1——U型卡槽挡片; 2——燃烧器区域边界; 3——燃烧器。 图3燃烧器区域 8.3.5 试验结束时的情况 应记录以下数值: a) 排烟管道中“综合测量区”的透光率(%); b) 排烟管道中“综合测量区”的O2摩尔分数; c) 排烟管道中“综合测量区”的CO2摩尔分数。 8.3.6 现象记录 应记录以下现象: a) 表面的闪燃现象; b) 试验过程中,试样生成的烟气没被吸进集气罩而从小推车溢出并流进旁边的燃烧室; c) 部分试样发生脱落; d) 夹角缝隙的扩展(背板间相互固定的失效); e) 根据8.5可用以判断试验提前结束的一种或多种情况; f) 试样的变形或垮塌; g) 对正确解释试验结果或对制品应用领域具有重要性的所有其他情况。 8.4 数据采集8.4.1 在8.2中规定的时间段内,应每3s便自动测量和记录8.4.2至8.4.9中规定的数值,并储存这些数值以作进一步处理。8.4.2 时间(t),s;定义开始记录数据时,t=0。 8.4.3 供应给燃烧器的丙烷气体的质量流量(mgas)mg/s。 8.4.4 在排烟管道的综合测量区,双向探头所测试的压力差(△P),Pa。 8.4.5 在排烟管道的综合测量区,从光接收器中发出的白光系统信号(L),%。 8.4.6 排烟管道气流中的O2摩尔分数(xO2),在排烟管道的综合测量区中的气体取样探头处取样。 注:仅在排烟管道中测量O2和CO2的浓度;假设进入燃烧室的空气里的两种气体的浓度均恒定。但应注意从耗氧(如通过燃烧试验耗氧)空间里来的空气不能满足这一假设。 8.4.7 排烟道气流中的CO2摩尔分数(xCO2),在排烟管道的综合测量区中的气体取样探头处取样。 8.4.8 小推车底部空气入口处的环境温度(T0),K。 8.4.9 排烟管道综合测量区中的三支热电偶的温度值(T1,T2和T3),K。 8.5 试验的提前结束若发生以下任一种情况,则可在规定的受火时间结束前关闭主燃烧器:a) 一旦试样的热释放速率超过350kW,或30s期间的平均值超过280kW; b) —旦排烟管道温度超过400℃,或30s期间的平均值超过300°C; c) 滴落在燃烧器砂床上的滴落物明显干扰了燃烧器的火焰或火焰因燃烧器被堵塞而熄灭。若滴落物堵塞了一半的燃烧器,则可认为燃烧器受到实质性干扰。 记录停止向燃烧器供气时的时间以及停止供气的原因。 若试验提前结束,则分级试验结果无效。 注1:温度和热释放速率的测量值包含一定的噪声。因此,建议不要仅根据仪表上的一个测量值或连续两个测量值超过最大规定值便停止试验。 注2:使用符合4.4.6要求的格栅可防止因c)中的原因而导致试验提前结束。 9 试验结果的表述9.1 每次试验中,样品的燃烧性能应采用平均热释放速率HRRav(t)、总热释放量THR(t)和1000× HRRav(t)/(t一300)的曲线图表示,试验时间为0≤t≤1500s;还可采用根据附录A的A.5计算得出的燃烧增长速率指数FIGRA0.2MJ和FIGRA0.4MJ以及在600s内的总热释放量THR600s的值以及根据 8.3.3判定是否发生了火焰横向传播至试样边缘处的这一现象来表示。9.2 每次试验中,样品的产烟性能应采用SPRav(t)、生成的总产烟量TSP(t)和10000xSPRav(t)/ (t—300)的曲线图表示,试验时间为0≤t≤1500s;还可采用根据附录A的A.6计算得出的烟气生成速率指数SMOGRA的值和600s内生成的总产烟量TSP600s的值来表示。 9.3 每次试验中,关于制品的燃烧滴落物和颗粒物生成的燃烧行为,应分别按照8.3.4a)或b)进行判定,以是否有燃烧滴落物和颗粒物这两种产物生成或只有其中一种产物生成来表示。 10 试验报吿试验报告应包含以下信息。应明确区分由委托试验单位提供的数据和由试验得出的数据。a) 试验所依据的标准GB/T XXXX; b) 试验方法产生的偏差; c) 燃烧室的名称及地址; d) 报告的日期和编号; e) 委托试验单位的名称及地址; f) 生产厂家的厂名及地址(若知道); g) 到样日期; h) 制品标识; i) 有关抽样步骤的说明; j) 试验制品的一般说明,包括密度、面密度、厚度以及试样结构形状; k) 有关基材及其紧固件(若使用)的说明; l) 状态调节的详情; m) 试验日期; n) 根据第9章表述的试验结果; o) 符合5.3.3的照片资料; p) 试验中观察到的现象; q) 下列陈述:“在特定的试验条件下,试验结果与试样的性能有关;试验结果不能作为评估制品在实际使用条件下潜在火灾危险性的唯一依据”。 附录A (规范性附录)计算程序A.1 概要A.2 数据的同步 A.3 检查设备的响应 A.4 受火时间 A.5 热输出 A.6 产烟 A.7 校准的计算 A.1 概要A.1.1 一般说明A.1.1.1 试验程序见第8章。为方便使用者,在此重复有关信息。 a) 该程序中的主要事项:
b) 在试验开始后的1200s内评估试样的性能(300s≤t≤1500s)。在此时间段内,因试样暴露 于主燃烧器的火焰下,故此段时间称为受火时间。 c) 因采用了按时间平均的数值、可接受的误差和滞后时间,故有必要采用在暴露于燃烧器火焰条件下(t=1500s后)最大为60s的附加数据。 d) 210s≤t≤270s的时间段仅用以测量燃烧器的热输出和烟气输出,该时间段称为基准时段。 t=300s后,将燃烧器在基准时段的平均热输出和烟气输出从燃烧器和试样总的热输出和烟气输出中减去,这样只得出试样的输出。 e) 每3s便记录以下“原始”数据,记录时间为1560s:气体流量、压力差、光衰减、O2和C02浓度以及环境温度和烟气温度,均按8.4进行。 A.1.1.2 符号 在本附录中,一段时间内的平均值可用一个简化的符号表示:
A.1.2 根据试验数据进行的计算 试验后,应对一系列参数进行计算以评估制品的性能。本附录中所有的计算(不包括A.2中的计算)均应根据A.2中随时间变化的数据进行。应进行以下计算: ——数据的同步; ——设备响应时间的计算; ——受火时间的计算; ——HRR(t)的计箅; ——按时间平均的HRR(t)的计算:HRR30s(t); ——THR(t)和THR600s的计算; ——FIGRA0.2MJ和FIGRA0.4MJ的计算; ——SPR(t)的计算; ——按时间平均的SPR(t)的计算:SPR60s(t); ——TSP(t)和TSP600s的计算; ——SMOGRA的计算。 只有符合A.2和A.3的要求时,试验结果才有效。A.2至A.6对计算进行了规定。 A.1.3 根据校准数据进行的计算 校准程序见附录C。若A.2至A.6中未将需要计算的值规定为标准试验数据分析的一部分,则在A.7中有相应规定。 A.1.4 标准数据组 因计算方法较复杂,故计算步骤和基准软件的操作中可采用标准数据组。 A.2 数据的同步A.2.1 用Tms同步O2和CO2 辅助燃烧器向主燃烧器的切换使主要测量数值在其时间段上会显示同一时刻的波峰或波谷。这些波峰和波谷用于数据的同步。假设:如果根据自动同步程序计算得出的漂移与根据附录C的C.2.1中的校准程序确定的分析仪的滞后时间相差大于6s,则该自动同步程序和/或测量的滞后时间是不正确的。 a) 根据附录C的C.2.1,对校准过程中出现的O2和<CO2的滞后时间数据进行调整。 b) 时间t0-T是以综合测量区中的温度Tms(t)在270s后的下降超过2.5K之前的最后一个数据点的时间进行计算的,与基准时段(210s≤t≤270s)Tms的平均值相关。
其中: Tms(t)为根据A.3.2计算得出的综合测量区的温度。 c) 时间t0-T是以氧气浓度在270s后上升超过0.05%之前的最后一个数据点的时间进行计算的,与基准时段(210 s≤t≤270s)的平均值相关。
其中: xO2是氧气的浓度,以摩尔分数表示。 d) 时间t0-T是以CO2的浓度xCO2在270s后降低超过0.02%之前的最后一个数据点的时间进行计算的,与基准时段(210s≤t≤270s)的平均值相关。
其中: xCO2是二氧化碳的浓度,以摩尔分数表示。 e) 对O2和CO2的数据进行移位,这样O2波峰和CO2波谷与Tms中的波谷一致(如t0-T=t0-o2 =t0-CO2 )。两种移位均不应超过6s。
其中: A.2.2 将所有数据移位至t=300s。xO2为氧气浓度,以摩尔分数表示; t0-o2为c)中规定的时间; t0-T为b)中规定的时间。 将公式中的O2换成CO2后,该公式同样适用于CO2。 注:某些情形下,用以同步的波峰和波谷可能非常小以至于用这一程序无法被发现。在此情形下,对t0-T、t0-o2和/或t0-CO2进行目测评估。 用Tms将O2和CO2同步后,为便于计算,对所有数据的时间进行了移位,如t0=t0-T=t0-O2 =t0-CO2=300s。移位应小于15s。 注:在此,对所有数据(m气体、△p、l,xO2、xCO2、T0 、T1 、T2、T3和Tms)进行时域移位。在A.2.1e)中,及时地对与其他数据相关的O2和CO2进行了移位。 A.2.3 A.3至A.6中的所有计算应采用按本条及时经过移位的数据进行。 A.3 检查设备的晌应A.3.1 燃烧器切换响应时间燃烧器切换响应时间是t上和 t下之差,其中: t上为第一个数据点的时间,在该数据点处270s后的O2浓度上升已超过向上方向中的“90%的燃烧器输出档” t下为第一个数据点的时间,之后在该数据点处,O2浓度下降已超过了向下方向中的相同档。
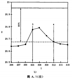
判据: 其中: xO2(t)为氧气浓度,以摩尔分数表示。 注1:数据同步为t=300s。时间t上等于300s或303s,所以t下绝不会迟于t =315s。是否符合判据对正确评估FIGRA和SMOGRA的值极具重要性。 注2:在辅助燃烧器向主燃烧器的切换过程中(t≈300s时),在一小段时间里,两个燃烧器总的热输出低于一个燃烧器的标准热输出。结果,热释放速率出现一个波谷,O2浓度出现一个波峰(见图A.1)。对于xO2中的波峰,一个燃烧器的贡献约为25%〜50%。如下文所述,由于该“遗失”的热输出从试样的热输出中减去,波峰的宽度可以很小。波峰的宽度是在标准燃烧器为90%的贡献水平时测量的,并被称之为燃烧器的切换响应时间。,在图A.1给出的示例中,响应时间为9s。 注3:燃烧器的90%输出水平是按从试验起始输出水平到基线水平,两者跨距的90%进行计算的,且被加到了试验的起始水平上。此处所使用的O2试验起始水平是燃烧器点燃前(3Os≤t≤90s)的平均O2浓度。O2的基准浓度水平是辅助燃烧器在燃烧过程中的平均O2浓度(210s≤t≤270s)。
A.3.2 温度读数 在任意时刻,安装于综合测量区中的热电偶1、2和3的温度读数与平均值Tms[=(T1+T2 +T3)/3] 的差在10个以上数据点均不应超过1%,但以下情况除外。 若一支热电偶的读数与Tms的差在10个以上数据点均超过1%,而其他两支热电偶与这两支热电偶的温度平均值的差在10个以上数据点均不超过1%,那么在该试验中,应在Tms的计算中将该热电偶 完全排除。在其他情况下,所有的热电偶均应用以计算Tms。若仅使用两支热电偶,则应在试验报告中加以注明。 注1:该规定用以排除有故障的热电偶。仅几个数据点的偏差超过1%并不能认为是由热电偶故障引发的结果。 注2:对于试验开始阶段或校准情形还另有温度依据。 A.3.3 气体浓度测量中的漂移 xO2和xCO2气体浓度测量中的漂移是按初始值(分别按xO2 (30s...90s)和xCO2(30s...90s)进行计算的)和结束值(至少在60s后通过目测记录得出,且在此期间无燃烧生成物进入排烟管道)之间的差值进行计算的。 判据:
其中: xO2为氧气浓度,以摩尔分数表示; xCO2为二氧化碳浓度,以摩尔分数表示。 A.3.4 光衰减测量中的漂移 光衰减l测量的漂移是按初始值(30s...90s)和结束值(至少在60s后通过目测记录得出,且在此期间无燃烧生成物进入排烟管道)之间的差值进行计算的。 判据:
其中: l为光接收器输出的信号,%。 注:开始值和结束值之间的差值可能主要由光学测量系统透镜上的烟尘沉积物引起的。 A.4 受火时间从t=t0= 300s开始,试样暴露于主燃烧器的火焰中,直至停止向燃烧器供应丙烷时(t')才结束。受火时间等于t'—t0。注意t0后的第一时刻t'和下一个数据点(t' + 3s)时丙烷的质量流量均低于300mg/s,以检查燃烧器是否关闭。
其中: m气体(t')为丙烷的质量流量,mg/s。 判据: t'—t0≥1245s A.5 热输出A.5.1 热释放速率的计算(HRR)A.5.1.1 试样和燃烧器的总HRR:HRR总 a) 排烟系统体积流速V298(t)的计算,标准温度设为298K。
其中: V298(t )为排烟系统的体积流速,温度设为298K,m3/s; c=(2T0/ρ0)0.5=22.4[K0.5•m1.5•Kg-0.5]; A为综合测量区中排烟管道的截面面积,m2; Kt为流量分布因子,根据附录C的C.2.4确定; kp为双向探头的雷诺校正系数,一般为1.08; △p(t)为压力差,Pa; Tms(t)为综合测量区的温度,K。 b) 耗氧系数
其中: xO2(t)为氧气浓度,以摩尔分数表示; xCO2(t)为二氧化碳浓度,以摩尔分数表示。 c) xa-O2的计算
其中: xa-O2为氧气(含水蒸气)在环境温度时的摩尔分数; xO2 (t)为氧气浓度,以摩尔分数表示; H为相对湿度,%; P为环境大气压,Pa; Tms(t)为综合测量区的温度,K。 d) HRR总(t)的计算
其中: HRR总(t)为试样和燃烧器总热释放速率,kW; E为温度为298K时单位体积耗氧的热释放量,等于17200,kJ/m3; V298(t )为排烟系统的体积流速,标准条件温度设为298K,m3/s; xa-O2为氧气(含水蒸气)在环境温度的摩尔分数;
HRR燃烧器(t)等于基准时段的HRR总(t)。燃烧器的平均HRR是根据基准时段(210s≤t≤270s) 的平均HRR总(t)进行计算的:
其中: HRRav-燃烧器为燃烧器的平均热释放速率,kW; HRR总(t)为试样和燃烧器的总热释放速率,kW。 210s≤t≤270s时间内HRRav-燃烧器(t)的标准偏差
HRRav-燃烧器为燃烧器的平均热释放速率,kW; HRR燃烧器(t)为燃烧器的热释放速率,kW; n为数据点数(n=21)。 基准时段内,燃烧器的稳定性和热释放水平应符合以下判据。 判据:
其中: HRRav-燃烧器为燃烧器的平均热释放速率,kW;
A.5.1.3 试样的HRR 试样的热释放速率通常可认为是总热释放速率HRR总 (t)减去燃烧器的平均热释放速率HRRav-燃烧器所得的差值: t>312s时:
HRR(t)为试样的热释放速率,kW: HRR总 (t)为试样和燃烧器的总热释放速率,kW; HRRav-燃烧器(t)为燃烧器的平均热释放速率.,kW。 开始受火时,在将辅助燃烧器切换到主燃烧器的过程中,两个燃烧器总的热输出小于HRRav-燃烧器(t)。这时公式A.20中给出了在最多12s内(燃烧器的切换响应时间)HRR(t)的负值。这些负值以及 t=0时的值设为0,如下: t=300s 时:
300s≤t≤312s时:
其中: HRR(t)为试样的热释放速率,kW; HRR总 (t)为试样和燃烧器总热释放速率,kw; HRRav-燃烧器为燃烧器的平均热释放速率,kW; max. {a,b}为a和b两个值的最大值。 A.5.1.4 HRR30s的计算 HRR30s(t)是HRR(t)在30s内的平均值:
其中: HRR30s(t)为 30s内HRR(t)的平均值,kW; HRR(t)为某一时刻t的热释放速率,kW。 A.5.2 THR(t)和THR600s的计算 试样总的热释放量THR(t)和试样在受火期(300s≤t≤900s)最初600s内总的热释放量 THR600s的计算如下:
注:由于每3s只有一个数据点,所以采用了系数3。 A.5.3 FIGRA0.2MJ和FIGRA0.4MJ(燃烧增长率指数)的计算 FIGRA指数为HRRav(t)/(t-300)的最大比值再乘上1000所得的值。仅对HRRav和THR的初始值被超过的受火期内的商值进行计算。受火期内,如果FIGRA指数的一个或两个初始值均未被超过,那么FIGRA指数为零。采用两个不同的THR初始值,得出了FIGRA0.2MJ和FIGRA0.4MJ。 a) 根据A.5.1.4,用以计算FIGRA的HRR和HRRav的平均值等于HRR30s,但受火期的最初12S除外。对于最初12s内的数据点,只对受火期内在最大可能对称范围内的数据点进行平均。
注:结论,HRRav值在整个试验期间不超过3kW或THR值在整个试验后不超过0.2MJ的试样,其FIGRA0.2MJ等于0。HRRav值在整个试验期间不超过3kW或THR值在整个试验后不超过0.4MJ的试样,其FIGRA0.4MJ 等于0。 A.6 产烟A.6.1 产烟率的计算(SPR)A.6.1.1 试样和燃烧器总产烟率:SPR总 a) V(t)的计算
A.6.1.2 燃烧器的SPR 燃烧器的产烟率等于基线时段的SPR总(t)。燃烧器的平均SPR是根据基线时段(210s≤t≤270s) 的平均SPR总(t)进行计算的:
A.6.1.3 试样的SPR 一般来说,试样的SPR为总产烟率SPR总(t)减去燃烧器的平均SPR(即SPRav-燃烧器)得出的差值。 t>312s:
注:当试样开始产生可燃性挥发物时,燃烧器火焰的烟气生成极有可能发生改变。然而,基准时段的产烟量被认为是具有可接受精度的最佳近似值,尤其是在受火初期,基准时段的产烟量对SMOGRA的计算极具重要性。 A.6.1.4 SPR60s的计算
A.6.2 TSP(t)和TSP600s的计算 试样总产烟量TSP(t)和试样在受火期最初600s(300s≤t≤900s)内总产烟量TSP600s(t)的计算 如下:
注:由于每3s只有一个数据点,所以采用了系数3。 A.6.3 SMOGRA的计算(烟气生成速率指数) SMOGRA为SPRav(t)/(t-300)的最大商值再乘以10000所得的值。只有受火期内超过SPRav 初始值和TSP初始值的部分SPRav和TSP参与计算。受火期内,如果在上述的SPRav和TSP两个参数中有一个或两个均未超过其初始值,那么SMOGRA为0。 a) 根据A.6.1.4,用以计算SMOGRA的SPRav等于SPR60s,但受火期的最初27s除外。对于最初27s内的数据点,只在受火期内数据点最大可能对称范围内进行平均。
b) 计算所有t的SMOGRA,其中
A.7 校准的计算A.7.1丙烷的热释放A.7.1.1 丙烷质量流量的热释放速率理论值的计算如下:
A.7.1.2 q气体(t)在30s内平均值的计算如下:
附录B (资料性附录)试验方法的精确性B. 1 —般说明与结果B. 2 试验结果的计算 B.3 统计分析 B.4 统计结果 B.1 —般说明与结果试验方法的精确性是根据1997年进行的SBI系列循环试验的结果确定的。循环试验在15个实验室进行,对30个制品进行了3次试验。制品见表B.1。 根据 GB/T 6379.1—2004、GB/T 6379. 2—2004 对连续参数(FIGRA0.2MJ、FIGRA0.4MJ、THR600s、SMOGRA和TSP600s)进行了统计分析。不合格参数未予以统计分析。
B.2 试验结果的计算连续参数是由试验数据按本标准附录A中的计算方法计算得出。但是,由于经过一系列试验后部分试验程序和计算程序都有所改动,一部分试验数据并不满足附录A中的要求。因此,应排除有以下a)至f)条款中的偏差所得出的试验数据。这些偏差会导致用于统计分析的更大数据集,如果根据该数据集进行计算,计算方法的精确性相对较低。 a) 检查热电偶。循环试验规定采用的是两支而非三支的不同热电偶。对两支热电偶的要求是:在最多20个取样点处与其平均温度的最大偏差为2%。 b) 同步。对未满足附录A中同步要求的试验而言,同步时间持续到420s,降低的极限值对应温度下降1.5K,O2增加0.03%和CO2下降0.012%。 c) 燃烧器切换响应时间。FIGRA或SMOGRA确定时间不超过最初1min和燃烧器响应时间超过15s的试验不予以考虑。 d) 烟气测量。光信号返回率低于90%的试验不予以考虑。 e) 其他规定。数据分析不采用与试验无关的其他规定,如O2或CO2信号返回到起始水平档。 f) 试验时间。因试验时间较短,采用截止到时间t=1470s的数据进行所有计算。 B.3 统计分析计算和统计分析是只根据算法进行的,这意味着可按照GB/T 6379.1-2004中7.3.2规定的统计方法不考虑外部情形。Cochran试验最多重复4次,但标准推荐的次数最多为2次。但仍有一些燃烧室因SMOGRA值的测量原因未参与第4次重复试验。B.4 统计结果表B.2给出了30个受试制品的统计平均数(m)以及重复性和再现性的标准偏差(Sr和SR)等参数。另外增加了与平均值相关的标准偏差(Sr/m和SR/m)。从统计角度看尽管不完全合理,但平均值 Sr/m和平均值SR/m均体现了方法的精确性。这些平均值均列在表B.3中,但Sr/m和SR/m数值除外,因为其平均值非常小1)。
附录C (规范性附录)系统校准程序C.1 设备部件的校准程序C.2 系统响应的校准 C.1 设备部件的校准程序C.1.1 概要应根据制品说明对设备进行保养和校准。 气体百分比浓度用100
C.1.2 氧气分析仪的调节 每个试验日均应对氧气分析仪进行调零和跨度调节。跨宽应不超过由校准气体确定的范围的0.04%,且表述为%
C.1.3氧气分析仪输出的噪声和漂移 C.1.3.1 概要 氧气分析仪或气体分析系统的其他主要组件经安装、维护、维修或更换后,应对采用数据采集系统 的氧气分析仪输出的噪声和漂移进行检测且至少每六个月应检测一次。 C.1.3.2 步骤 氧气分析仪输出的噪声和漂移的检测步骤如下: a) 向氧气分析仪中输入无氧氮气直至分析仪达到稳定状态。 b) 在无氧条件下至少持续60min后,将排烟管道中的体积流速调至(0.60±0.05)m3/s,然后向排烟管道内输入流速、压力、干燥程序与样气完全相同的空气,当分析仪达到稳定后,调节分析仪输出至(20.95±0.01)%。 c) 1min内,开始以3s的时间间隔记录氧气分析仪的输出,记录时间为30min。 d) 采用最小平方拟合程序拟合一条通过数据点的直线来确定漂移。该线性趋势线上0min和30min读数之间差的绝对值为漂移。 e) 通过计算线性趋势线的均方根(RMS)偏差来确定噪声。 C.1.3.3 判据 漂移和噪声(两者均视为正值)应不超过0.01%(
C.1.3.4 校准报吿 校准报告内容如下: a) O2(t)的曲线图,%
b) 根据C.1.3.2d)和e)计算出的噪声和漂移值,%
C.1.4 二氧化碳分析仪的校准 在每个试验日,应对二氧化碳分析仪进行调零和跨度调节。跨宽应不超过由校准气体所确定的
C.1.5 丙烷质量流量控制器的检测 在丙烷质量流量为(647±10)mg/s(试验中所用的速率)时,质量流量控制器的精度应高于±6mg/s。应至少每六个月进行一次检测。检测的有关步骤见附录D的D.1.4。 C. 1.6光系统的校准 C. 1.6. 1 概要 烟气测量系统支架或排烟系统的其他主要配件经安装、维护、修理或更换后,在试验前应对光系统 进行校准且校准应至少每六个月进行一次。校准包括两个部分:输出稳定性的检测和滤光片的检测。 C.1.6.2 稳定性检测 将小推车(不含试样,但包括背板)放置于集气罩下的框架中,运行测量设备,进行下述步骤: a) 将排烟系统的体积流速设为,V298=(0.60±0.05)m3/s[按附录A的A.5.1.la)进行计算]。 b) 开始计时并持续30min记录光接收器的输出信号。 c) 采用最小平方拟合程序拟合一条通过所测数据点的直线来确定漂移。该线性趋势线上0min 时读数和30min时读数之间的差的绝对值为漂移。 、 d) 通过计算线性趋势线的均方根(rms)偏差来确定噪声。 判据:噪声和漂移均不超过初始值的0.5%。 C.1.6.3 滤光片的检测 应采用至少五个中等光密度的滤光片(光密度范围为0.05~2.0)对光系统进行校准。根据测量的光接收器信号计算得出的光密度应不超过滤光片标示值的±5%或±0.01,二者以能体现较大公差者为准。校准的可行性程序见附录D的D.1.5。 C.2 系统响应的校准C.2.1 燃烧器热输出的梯级校准C.2.1.1 概要 本校准程序采用标准燃烧器在三种不同的热输出水平下进行。该程序用以确定气体分析仪的响应和滞后时间、燃烧器切换响应时间、热电偶的响应时间和用以计算热释放速率的换算系数。该校准程序至少每月或30次试验后(两者以时间先者为准)应校准一次。 C.2.1.2 校准程序 将小推车(不含试样,但包括背板)放置于集气罩下的框架中,运行测量设备,进行下述操作: a) 排烟系统的体积流速设为:V298= (0.60±0.05)m3/s[根据附录A的A.5.1.la)进行计算]。 在整个校准期间内,该体积流速应在0.65m3/s和0.50m3/s之间。 b) 记录排烟管道里的温度和T1、T2和T3以及环境温度,且至少持续记录300s。环境温度应不超过(20±10)℃,管道中的温度与环境温度之差不应超过4℃。 c) 在记录单上记录试验前的情况。应记录的数据见8.3.2。 d) 开始记时和数据的自动记录:根据定义,此时t=0s。根据8.4,每3s应记录的数据为t、m气体、xO2、XCO2、△p以及T0至T3。 e) 点燃辅助燃烧器并根据表C.1在每个步骤开始的前5s内调节丙烷的质量流量。
f) 将丙烷供应从辅助燃烧器切换到主燃烧器,并根据表C.2在每个步骤开始的前5s内调节丙烷的质量流量。
g) 当步骤6结束时,停止数据的自动记录。 h) 记录试验结束时的情况。应记录的数据见8.3.5。 注1:燃烧器在规定的丙烷质量流量水平时所产生的热输出约为0kW、30kW和93kW。 注2:质量流量的设置范围比试验程序中的设置偏差大,以便于对质量流量进行快速调节。 C.2.1.3 计算 根据原始数据,计算: a) 对于每一个步骤(步骤3除外): t气体:步骤的开始时间,为丙烷流量与前一步骤最后2min的平均值相比,以100mg/s的速率发生了变化时的第一个数据点的时间; tT:为温度Tms与前一步骤最后2min的温度平均值相比,变化了2.5K时的第一个数据点的时间;
c) 二氧化碳分析仪的滞后时间,为第4、5和6歩骤中
d) 氧气分析仪的响应时间,为第4、5和6步骤中
e) 二氧化碳分析仪的响应时间,为第4、5和6步骤中
f) 燃烧器切换响应时间,为t上和t下的差值,其中: t上为第3步骤中第一个数据点的时间,此时O2浓度增加了步骤1和步骤2最后2min内O2浓度平均值差值的10%; t下为步骤3中第一个数据点的时间,之后O2浓度下降到相同水平。 g) 温度响应时间为步骤2、4、5和6中
h)q气体(t)和
i)根据h),步骤2、3和5中最后2min内q气体(t)的平均值(
j) HRR(t),根据附录A的A.5.1.1,等于HRR总(t),但E=16800kJ/m3 (丙烷热值): k) HRR30s(t),根据附录A的A.5.1.4,采用符合j)的HRR(t); l) 根据j),步骤2、3和5中最后2min内HRR(t)的平均值
m) 流量分布因子
C.2.1.4 判据 应满足以下判据: a) 两个分析仪的滞后时间均不应超过30s; b) 两个分析仪的响应时间均不应超过12s; c) 燃烧器切换响应时间不应超过12s; d) 温度响应时间不应超过6s; e) 设备响应应符合附录A的A.3.3和附录A的A.3.4中的判据;附录A的A.3.3和附录A的A.3.4中的最终值应视为步骤6中最后30s的平均值; f) 在执行步骤2、3、4和5后的40s和160s之间的间隔期内,比值
g) 根据C.2.1.3,HRR步骤2平均值和HRR步骤3平均值的差不应超过0.5kW。 C.2.1.5校准报吿 校准报告应包含以下内容: a)
b) 根据C.2.1.4f),比值
在四个时段中每个时段的最大值和最小值; c) 两个分析仪的滞后时间和响应时间; d) 燃烧器切换响应时间; e) 温度响应时间; f) 步骤2、步骤3和步骤5中
g) HRR(t)计算中采用的kt值; h)
C.2.2 庚烷校准 C.2.2.1 概要 测量系统支架或排烟系统的其他主要配件经安装、维护、修理或更换后,在试验前应进行校准且校 准应至少每年进行一次。采用以下设备和燃气进行测量: a) 内径为(350±5)mm的开敞式圆形钢质燃料托盘,其内壁高度为152mm,壁厚3mm;及 b) 庚烷(纯度(99%)。 C.2.2.2 程序 将小推车(不含试样,但包括背板)放置于集气罩下的框架中,运行测量设备,进行下述步骤: a) 将排烟系统的体积流速设为V298= (0.60±0.05)m3/s(根据附录A的A.5.1.1a)进行计算)。 在整个校准期间,体积流速应在0.50m3/s〜0.65m3/s这一范围内。 b) 记录环境温度T0以及排烟管道中的热电偶温度T1、T2和T3且至少持续记录300s。测量燃 料托盘的表面温度。环境温度应不超过(20±10)℃。排烟管道内的温度及燃料托盘的温度与环境温度相差应不超过4°C。 c) 将燃料托盘放置在小推车平台的标准硅酸钙板上(其尺寸为400mmX400mm),并高于穿过小推车底板对角线的燃气管道100mm。燃料托盘的放置应使试样支架内角与燃料托盘边壁间的距离为500 mm。正确放置后,托盘边壁与背板及侧板间的距离至少为300mm。 d) 将(2000±10)g水注入燃料托盘中。 e) 在记录单上记录试验前的情况。应记录的数据见8.3.2。 f) 开始计时并开始自动记录数据:此时t定义为按8.4,每3s应记录的数据为t 、m气体 xO2、xC02、△p、T0和T3以及光接收器的输出信号。 g) 至少2min后,缓慢将(2840±10)g的庚烷导入托盘内的水中。 h) 至少1min后,点燃庚烷气体(t1)。 i) 燃烧停止后,持续记录数据5min再停止(t2)。 j) 记录试验结束时的情况。需记录的数据见8.3.5。 C.2.2.3 计算 计算以下数值: a) 按附录A的A.6,计算t1至t2时段生成的总烟量TSP。再用TSP除以消耗的燃料质量(m); b) 按附录A的A.5,计算t1至t2时段总热释放量THR。应采用16500kJ/m3 (庚烷的值)的E值计算热释放量(附录A的A.5.1.1)。再用THR除以消耗的燃料质量(m); c) 流量分布因子
:
C.2.2.4 判据 应符合以下判据: a) 比值 THR/m (MJ/kg)应为4456MJ/kg土222.8MJ/kg; b) 在t2时刻,光接收器的输出信号应不超过其初始值的1%(即在l(30s…90s)的99%和101%之间); c) 设备响应应符合附录A的A.3.3和附录A的A.3.4的判据。 注:比值THP/m (m2/kg)可用以表征烟气测量系统的性能。其值应为(125±25)m2/kg。 C.2.2.5 校准报告 校准报告应包含以下内容: a) SPR(t)和HRR(t)的曲线图; b) 比值 TSP/m 和 THR/m; c) HRR(t)计算中使用的kt和
C.2.3 流速分布因子
C.2.3.1 概要 双向探头或排烟系统的其他主要配件经安装、维护、修理或置换后,应测定系数
C.2.3.2 测量说明 a) 设备应在减震装置上运行,以确保读数的稳定性。 b) 当将测量探头插入排烟管道中时,探头位置应用机械方式而非人工方式固定。应检查探头的水平或垂直位置(视要求而定)以及与管道成直角的情况。 c) 应关闭风速计中未使用的进风口 。 d) 对每个测量点的气体流速应测量20次,当气体从中心向外逸出时,测量10次,气体从外向中心导入时再测量10次。 e) 单半径上的测量位置在距离管壁的以下位置点:0.038;0.153;0.305;0.434;0.722和1.000 (中心),且用半径的分数表示(摘自ISO3966:1997)。测量位置见图C.1。 注:对于所采用的管道直径(315mm)而言,这些位置点(与中心的距离,mm)为:0mm; 43.7 mm; 89.1 mm; 109.5mm;133.4mm;151.5mm。
c.2.3.3 操作 进行以下步骤: a) 将排烟管道的体积流速设为:V298=(0.60±0.05)m3/s[根据附录A的A.5.1.la)进行计算]。 b) 记录排烟管道中的热电偶温度T1、T2、T3和环境温度并至少持续记录300s。环境温度应不超过(20±10)℃,管道中的温度与环境温度之差不应超过4°C。 c) 测量所有测量位置点的气体流速,每个进风口处测量6个位置点。 d) 设Vc为中心位置点的流速,Vn值为每个进风口处其他5个位置点的数值,对所有测量位置点的气体流速都根据20个测量值的平均值进行计算。 注:这样,整个直径上的流速分布在水平和垂直方向上均得以测量和计算。 C.2.3.4
就一个确定的半径而言,半径n上的平均速度设为VN,为该半径上四个测定的Vn值的平均值。中心位置处的速度设为vc,为中心位置四个测定的Vc值的平均值。这样,流速分布因子
C.2.3.5 测量报告 测量报告应包含以下内容: a) 根据五个半径方向上的平均值VN和Vc得出的每个进风口的流速分布图(一个垂直和一个水平截面); b) 四个Vn、四个Vc、及平均值VN和Vc以及所得的ktv。 . C.2.4 流量系数kt, 系数kt (用以计算A.5.1中的热释放速率)应按
附录D (资料性附录) 设备校准程序D.1 设备单个部件的校准程序D.2 试样受热的检测 D.1设备单个部件的校准程序D.1.1概要本条款中包括校准程序,该程序满足所参考的性能化校准的要求。 气体百分比浓度用
D.1.2 氧气分析仪的校准 可采用以下程序对氧气分析仪进行校准。 a) 调零时,向分析仪里导入无O2氮气,其流速和压力与样品气体相同。分析仪达到稳定后,将分析仪的输出调至(0.00±0.01)%。 b) 调跨度时,既可使用干燥的室内空气亦可使用O2浓度为(21.0±0.1)%的特定气体。若使用的是干燥空气,则在整个校准期间排烟系统的速率应为(0.6±0.05)m3/s。若使用的是特定气体,则不需排烟系统。分析仪达到平衡后,若使用的是干燥空气,则将分析仪的输出调为 (20.95±0.01)%;若使用的是特定气体,则分析仪的输出与实际O2浓度的偏差不超过 0.01%。 注:对某些分析仪而言,术语零点和跨度可能有不同含义,比如量程小于(0〜21)%氧分析仪。在这些情形下,可采用类似的校准程序。 D.1.3 二氧化碳分析仪的校准 a) 调零时,往分析仪里导入无CO2的氮气,其流速和压力与样品气体相同。分析仪达到平衡后, 将分析仪的输出调至(0.00±0.01) %。 b) 调跨度时,应使用CO2浓度范围在5%〜10%之间的特定气体。以与样品气体相同的流速和压力向分析仪内导入气体。分析仪达到平衡后,将分析仪的输出调到该特定气体的CO2浓度,偏差为±0.01%。 D.1.4 丙烷质量流量控制器的检测 D.1.4.1 概要 可用一个丙烷气瓶和主燃烧器来检查质量流量控制器的精度,丙烷质量流量与标准试验规定相同, 均为(647±10)mg/s。气体的消耗速率由气瓶的初始质量和最终质量确定,使用精度至少为5g的天 平或磅称取质量。 D.1.4.2 程序 a) 将气瓶放在磅称上并将其与供气系统连接。 b) 安装好背板后,按标准校准试验的方法要求调试试验设备。点燃主燃烧器并将供气速度调为 (647±10)mg/s,使主燃烧器的燃烧速率与标准试验中的速率相同。 c) 记录气瓶质量同时启动记时器。 d) (3600±30)s后,再次记录气瓶质量同时关闭记时器。 e) 确定气体的平均消耗速率,mg/s。 D.1.4.3 判据 按b)设定且按e)确定的气体平均消耗速率应不超过6mg/s。 D.1.5 对滤光器的检测 D.1.5.1 概要 采用以下程序校准光系统。 D.1.5.2 程序 将小推车(不含试样,但包括背板)放在集气罩下的框架中,运行测量设备,进行下述步骤: a) 将一遮光片插入滤光片插槽里并进行调零。 b) 将遮光片取出,并将光接收器的输出信号调至100%。 c) 开始计时,记录光接收器的输出信号,记录时间为2min。 d) 使用一种滤光片并记录相应的信号,滤光片的光密度(d)可选:0.1、0.3、0.5、0.8、1.0和2. 0, 记录时间至少为1min。 e) 对其他滤光片重复程序d)。 f) 停止数据采集并计算所有滤光片的平均透光率。 D.1.5.3 判据 根据平均透光率计算得出的每个数值d[d=-log(l)]与滤光片理论d值的偏差应不超过±5%或 ±0.01。 注:采用规定公式计算,光密度为0.1、0.3、0.5、0.8、1.0和2.0的滤光片的值的理论透光率分别为79.43%、 50.12%、31.62%、15.85%、10%和1%。 D.2 试样受热的检测D.2.1概要主燃烧器或影响燃烧器火焰的其他主要构件经安装、维护、修理或更换后,应通过测量长翼上以下三处的热通量来对试样上的热流量的重复性进行检测: ——位置1:距离角线8cm且距燃烧器的上边16cm; ——位置2:距离角线8cm且距燃烧器的上边75cm; ——位置3:距离角线20cm且距燃烧器的上边30cm。 若进行常规校准,或对燃烧器迸行了调整(例如:用新砂替代了旧砂),只测量位置3中的热流量。 用长翼硅酸钙背板进行检测(见4.4.10),在背板上的规定位置处有三个孔洞(直径为26mm)。 D.2.2 程序 在点燃燃烧器前,将热流计放入长翼背板(短翼背板也安装在位)的一个孔洞中,封闭其他孔洞。 注:热流计应为直径为25.4mm的Schmidt-Boelter热流计,并进行了0kW/m2~100kW/m2的校准。应用20℃以上的水冷却热流计。热流计黑体表面应在背板的表面上。 SBI设备在正常情况下运行(见8.2),在点燃燃烧器后记录热流量,记录时间为5min。接着计算 着火后240s至300s期间测得的热流量的平均值。 主燃烧器或影响燃烧器火焰的其他主要构件经安装、维护、修理或更换后,重复测量5次。计算每 个位置处五个测量结果的平均值。相对标准偏差应小于4%。 对于常规校准(位置3中),测量一次便足够。若该结果与五个测量结果平均值之间的偏差大于 4%,则应对燃烧器或设备的其他部件进行检测并在三个位置处分别进行5次测量。 附录E (规范性附录) 设计草图
附录F (资料性附录)数据文件格式为便于交换试验结果,试验数据应以标准格式存储。文件中应包含所有被要求的信息,包括目测观察/记录和自动记录得出的数据。应该能进行需要的所有计算和等级评估(与其他试验结果一起进行)。试验数据应保存在ASCII文件中,该文件有12个按制表符分隔的数据列。允许在规定数据列后面增加数据列(带有未规定的数据),但不允许在列之间增加数据列。 文件应该包含一个双行标题以及含一般性信息的附标题和按时间自动记录的(原始)数据。 第一行标题包含数据列标题: a) 一般性信息; b) [空白]; c) 时间(s); d) m气体(mg/s); e) △p(Pa); f) 光信号(%); g) O2的摩尔分数(%); h) CO2的摩尔分数(%); i) T0(K); j) T1(K); k) T2(K); l) T3(K)。 对第二行未作规定(默认为空白)。 其余的行在最初的两列里包含了一般性信息,在剩余的十列里包含了自动记录的(原始)数据。第1列和第2列里只有最初的62行被使用。在第3列至第12列中,至少有520行得到使用(1560时段, 以3s为步长)。 一般性信息(与试验,制品、实验室、仪器、试验前及试验后的情况以及目测观察有关)在第2列中给 出,且是对第1列内容的说明。不同项的行序见下述示例。 自动记录数据的10个列与8.4相符且与8.4中的顺序相同。
此处的数据文件格式仅考虑了原始数据(在进行计算前)。对经处理过的数据文件不考虑其文件格 式。然而,可建议通过在末尾(而非在列与列和行与行之间)增加列和行,从而在原始数据文件中制定出经处理过的数据文件。这样,便可将经处理过的数据文件直接用作原始数据输入文件。 附录G (资料性附录)记录单
附录H (资料性附录)管状隔热材料的标准化安装及固定条件H.1 试件的尺寸H.2 试件的安装 H.3 饰面/涂层 H.4 背板 H.5 隔热套管在钢管上的固定 H.1 试件的尺寸可在SBI中进行试验的制品为内径22mm、厚度25mm〜75mm的管状隔热材料。若有必要,可对25mm〜75mm范围内的每个厚度进行试验和分级。厚度为25mm的制品试验数据对小于25mm厚度的制品同样有效。 以下条款可采用: a) 制品必须按25mm的厚度进行试验,或按比该厚度大且最接近于最大厚度的厚度进行试验。 对于厚度小于25mm的制品,应将其叠层以使其厚度达到或超过25mm后再进行试验。 b) 对于厚度大于25mm但不超过50mm的制品:还应按实际的最大厚度进行试验。其最差的试验结果适用于小于所测最大厚度的所有制品厚度。这意味着制品应按两种厚度进行试验。 c) 对于厚度超过50mm、接近75mm的制品:还应按最大厚度和最接近50mm的厚度进行试验。其最差的试验结果适用于小于所测最大厚度的所有制品厚度。这意味着制品应按三种厚度进行试验。 d) 对于厚度超过75mm的制品:按第3条进行试验,但试验的最大厚度为75mm。 可认为内径为22mm的管状隔热材料的试验数据包括了所有其他内径尺寸的制品试验数据,厚度为75mm的管状隔热材料的试验数据包括了较大厚度的制品试验数据。 对于被用于最大外径超过500mm的圆柱形管道或平整表面上的保温材料,应将其按平板类建筑材料进行试验。 若管状隔热材料的生产长度超过1500mm,则试件长度应切至1500mm。若管状隔热材料的生产长度不足1500mm,则试件应连接起来以使其长度达到1500mm。 H.2 试件的安装管状隔热材料应安装在钢管上。钢管的外径为21.3mm,其壁厚为2.5mm〜2.6mm。钢管长度应为1500mm,且应垂直安装于SBI小推车中。至少应将钢管的一个末端进行封闭以防 止热对流,但考虑到安全因素,应注意不要将管道完全密封,安装管道时,相邻管道的隔热保温材料外表面之间以及外表面与背板之间的缝隙为25mm。在SBI试验中,应在每个翼上安装尽可能多的管道。若隔热材料厚度为25mm,则短翼上的管道数量为5,长翼上的为10。安装钢管时,应保证试验期间钢管的位置被固定。图H.1为SBI中的安装示意图。
H.3 饰面/涂层带饰面层或涂层的制品进行试验时,应将其饰面层或涂层(已预制好的)包括在内。应遵循H.1中所述的厚度要求。H.4 背板背板应安装在试件后面,与试件外表面的距离为25mm。H.5 隔热套管在钢管上的固定对于在实际应用中无任何固定措施的管状隔热材料,在SBI试验中也不应有固定措施,除非试件在试验过程中会下滑,应用钢丝在这种类型的每个试件的顶端将其固定。对于其接缝在实际应用中用胶粘接的管状隔热材料,应与胶接缝一道进行安装,且在SBI试验中面向燃烧器。 对于在实际应用中采用管钩或其他机械固定件固定的管状隔热材料,只需用钢丝在试件的顶端将其固定。 |
1. 本站所有资源来源于用户上传和网络,仅作为演示数据,如有侵权请邮件联系站长!
2. 盗版,破解有损他人权益和违法作为,请各位站长支持正版!
2. 盗版,破解有损他人权益和违法作为,请各位站长支持正版!

国家标准(推荐)