前 言中华人民共和国国家标准 点型感温火灾探测器 Point type heat fire detectors GB4716-2005 本标准的第3、4、5和6章内容为强制性,其余为推荐性。 本标准参考了EN54-5:2000《火灾探测报警系统 第5部分:点型感温火灾探测器》和ISO7240-5:2003《火灾探测报警系统 第5部分:点型感温火灾探测器》。 本标准代替GB4716—1993《点型感温火灾探测器技术要求及试验方法》,与GB4716—1993相比主要变化如下: ——修改了点型感温火灾探测器分类方法,各类感温火灾探测器响应时间及其测量方法相应改变; ——对采用软件控制的点型感温火灾探测器提出控制软件要求; ——增加了高温(耐久)试验、恒定湿热(耐久)试验、振动(正弦)(耐久)试验、射频场感应的传导骚扰抗扰度试验和浪涌(冲击)抗扰度试验,取消了绝缘电阻试验和耐压试验; ——增加了检验规则。 本标准自实施之日起,同时代替GB4716—1993 。 本标准的附录A为规范性附录。 本标准由中华人民共和国公安部提出。 本标准由全国消防标准化技术委员会第六分技术委员会归口。 本标准负责起草单位:公安部沈阳消防研究所。本标准参加起草单位:西安盛赛尔电子有限公司。本标准主要起草人:窦保东、张德成、王艳娥、王学来、康卫东、廉钰、张雄飞。 本标准所代替标准的历次版本发布情况为: ——GB 4716—1993; ——GB 4716—1984。 1 范围本标准规定了点型感温火灾探测器的一般要求、要求与试验方法、检验规则和标志。本标准适用于一般工业与民用建筑中安装使用的点型感温火灾探测器。其他环境中安装的、具有特殊性能的点型感温火灾探测器,除特殊要求应由有关标准另行规定外,亦应执行本标准。 2 规范性引用文件下列文件中条款通过本标准的引用而成为本标准的条款。凡是注日期的引用文件,其随后所有的修改单(不包括勘误的内容)或修订版均不适用于本标准,然而,鼓励根据本标准达成协议的各方研究是否可使用这些文件的最新版本。凡是不注日期的引用文件,其最新版本适用于本标准。GB 9969.1 工业产品使用说明书 总则 GB 12978 消防电子产品检验规则 GB 16838 消防电子产品环境试验方法及严酷等级 GB/T17626.2—1998 电磁兼容 试验和测量技术 静电放电抗扰度试验(idt IEC 61000-4-2:1995) GB/T17626.3—1998 电磁兼容 试验和测量技术 射频电磁场辐射抗扰度试验(idt IEC 61000-4-3:1995) GB/T17626.4—1998 电磁兼容 试验和测量技术 电快速瞬变脉冲群抗扰度试验(idt IEC 61000-4-4:1995) GB/T17626.5—1999 电磁兼容 试验和测量技术 浪涌(冲击)抗扰度试验(idt IEC 61000-4-5:1995) GB/T17626.6—1998 电磁兼容 试验和测量技术 射频场感应的传导骚扰抗扰度(idt IEC 61000-4-6:1996) 3 一般要求3.1 总则3.2 分类 3.3 感温元件的位置 3.4 报警确认灯 3.5 辅助设备连接 3.6 可拆卸探测器监视 3.7 出厂设置改变 3.8 现场设置 3.9 控制软件要求 3.10 使用说明书 3.1 总则点型感温火灾探测器(以下简称探测器)若要符合本标准,应首先满足本章要求,然后按第4章规定进行试验,并满足试验要求。3.2 分类探测器应符合表1中划分的A1、A2、B、C、D、E、F和G中的一类或多类。可通过在上述类别符号的后面附加字母S或R的形式(如A1S、BR等)标示S型或R型探测器。对于S型或R型的各类探测器,除进行4.2~4.22规定的试验外,还应分别进行4.23或4.24规定的试验并满足试验要求。 注1:S型探测器即使对较高升温速率在达到最小动作温度前也不能发出火灾报警信号。 注2:R型探测器具有差温特性,对于高升温速率,即使从低于典型应用温度以下开始升温也能满足响应时间要求。 注3:对于可现场设置类别的探测器,在其产品标志中用P表示类别,并应标出所有可设置的类别,其当前设置类别应能清晰识别。 表1 探测器分类
3.3 感温元件的位置探测器的感温元件(辅助功能的元件除外)与探测器安装表面的距离不应小于15mm。3.4 报警确认灯A1、A2、B、C和D类探测器应具有红色报警确认灯。当被监视区域温度参数符合报警条件时,探测器报警确认灯应点亮,并保持至报警状态被复位。通过报警确认灯显示探测器其他工作状态时,被显示状态应与火灾报警状态有明显区别。可拆卸探测器的报警确认灯可安装在探头或其底座上,确认灯点亮时在其正前方6m处,光照度不超过500lx的环境条件下,应清晰可见。E、F和G类探测器应有红色报警确认灯或有现场分体的探测器火灾报警状态其他指示方式。 3.5 辅助设备连接探测器连接其他辅助设备(例如远程确认灯、控制继电器等)时,与辅助设备之间的连续线断路和短路不应影响探测器的正常工作。3.6 可拆卸探测器监视可拆卸探测器在探头与底座分离时,应为电源和监视设备发出故障信号提供识别手段。3.7 出厂设置改变除非使用特殊手段(如专用工具或密码)或破坏封条,否则探测器的出厂设置不应被改变。3.8 现场设置探测器的响应性能如可在探测器或在与其相连的电源和监视设备上进行现场设置,则应满足以下要求:a) 当制造商声明所有设置均满足本标准的要求时,探测器在任意设置的条件下均应满足本标准的要求,且只能通过专用工具、密码或探头与底座分离等手段改变现场设置。 b) 当制造商声明某一设置不满足本标准的要求时,该设置应只能通过专用工具、密码手段实现,且应在探测器上或有关文件中明确标明该项设置不能满足本标准的要求。 3.9 控制软件要求3.9.1 总则对于依靠软件控制而符合本标准要求的探测器,应满足3.9.2、3.9.3和3.9.4要求。 3.9.2 软件文件 3.9.2.1 制造商应提交软件设计文件,文件应有充分的内容证明软件设计符合标准要求并应至少包括以下内容: a) 主程序的功能描述(如流程图或结构图),包括: 1)各模块及其功能的描述; 2)各模块相互作用的方式; 3)程序的全部层次; 4)软件与探测器硬件相互作用的方式; 5)模块调用的方式,包括中断过程。 b) 存储器地址分配情况。 c) 软件及其版本唯一识别标识。 3.9.2.2 若检验需要,制造商应能提供至少包含以下内容的详细设计文件; a) 系统总体配置概况,包括所有软件和硬件部分; b) 程序中每个模块的描述,包括: 1)模块名称; 2)执行任务的描述; 3)接口的描述,包括数据传输方式、有效数据的范围和验证。 c) 全部源代码清单,包括全局变量和局部变量、常量和注释、充分的程序流程的说明。 d) 设计和执行过程中使用的应用软件。 3.9.3 软件设计 为确保探测器的可靠性,软件设计应满足下述要求: a) 软件应为模块化结构; b) 手动和自动产生数据的接口设计应禁止无效数据导致程序运行错误; c) 软件设计应避免产生程序锁死。 3.9.4 程序和数据的存贮 满足本标准要求的程序和出厂设置等预置数据应存贮在不易丢失信息的存储器中。改变上述存储器内容应通过特殊工具或密码实现,并且不应在探测器正常运行时进行。 现场设置的数据应被存贮在探测器无外部供电情况下,信息至少能保存14d的存储器中,除非有措施保证在探测器电源恢复后1h内对该数据进行恢复。 3.10 使用说明书探测器应有相应的中文说明书。说明书应满足GB 9969.1的要求。4 要求和试验方法4.1 总则4.2 方位试验 4.3 动作温度试验 4.4 响应时间试验 4.5 25℃超始响应时间试验 4.6 高温响应试验 4.7 电源参数波动试验 4.8 环境试验前响应时间试验 4.9 低温(运行)试验 4.10 高温(耐久)试验 4.11 交变湿热(运行)试验 4.12 恒定湿热(耐久)试验 4.13 SO2腐蚀(耐久)试验 4.14 冲击(运行)试验 4.15 碰撞(运行)试验 4.16 振动(正弦)(运行)试验 4.17 振动(正弦)(耐久)试验 4.18 静电放电抗扰度试验 4.19 射频电磁场辐射抗扰度试验 4.20 射频场感应传导骚扰抗扰度试验 4.21 电快速瞬变脉冲群抗扰度试验 4.22 浪涌(冲击)抗扰度试验 4.23 S型探测器附加试验 4.24 R型探测器附加试验 4.1 总则4.1.1 试验大气条件如在有关条文中没有说明,则各项试验均在下述大气条件下进行: ——温度:15℃~35℃; ——湿度:25%RH~75%RH; ——大气压力:86kPa~106kPa。 4.1.2 试验正常监视状态 如试验时要求试样处于正常监视状态,应将试样与制造商提供的电源和监视设备连接。 4.1.3 试验安装 试验时,应按制造商规定的正常安装试安装。如说明书给出多种安装方式,试验中应采用对试样工作最不利的安装方式。 4.1.4 容差 如在有关条文中没有说明,则各项试验数据的容差均为±5%。环境条件参数偏差应符合GB 16838要求。 4.1.5 响应时间测量 4.1.5.1 测量试样响应时间前,应按4.1.3规定将试样安装在符合附录A规定的标准温箱(以下简称温箱)中,并按4.1.2规定使试样处于正常监视状态。如无特殊要求,应在试样的最大响应时间方位上进行响应时间的测量。 4.1.5.2 调节温箱内气流温度至规定的初始温度,如在有关条文中没有特殊指明,温箱的初始温度为表1规定的相应类别探测器的典型应用温度,按制造商规定的稳定时间进行稳定(如未规定,稳定10min)。然后以规定的升温速率升温至试样动作,记录试样的响应时间(从开始升温到试样动作的时间间隔)。试验过程中,保持温箱中的气流速度为0.8m/s±0.1m/s(25℃时测得),温度误差为±2℃。 4.1.6 试样 试样数量应符合下述要求: a) 可复位探测器为15只; b) 不可复位探测器为62只; c) 不可复位S型探测器为63只; d) 不可复位R型探测器为68只。 4.1.7 试验前检查 4.1.7.1 试验前对试样进行外观检查,应符合下述要求: a) 表面无腐蚀、涂覆层脱落和起泡现象,无明显划伤、裂痕、毛刺等机械损伤; b) 紧固部位无松动。 4.1.7.2 试验前应按第3章要求对试样进行检查,符合要求后方可进行试验。 4.1.8 试验程序 4.1.8.1 试验前对试样予以编号。 4.1.8.2 可复位探测器试验程序见表2。对于可以现场调整类别的探测器,按下述方式进行试验: a) 4.3、4.4、4.5、4.6、4.8、4.23和4.24项试验应分别设置在每种类别上进行; b) 4.10项试验应设置在最高温度类别上进行; c) 其他试验应设置在任一类别进行。 4.1.8.3 不可复位探测器试验程序见表3。 表2 可复位探测器试验程序
表3 不可复位探测器试验程序
4.2 方位试验4.2.1 目的检验探测器周围气流方向对其性能的影响。 4.2.2 方法 4.2.2.1 按4.1.5规定,以10℃/min的升温速率测量试样的响应时间。试验共进行8次,每试验1次,试样应按同一方向绕其垂直轴线旋转45°记录试样8个方位上的响应时间。 4.2.2.2 记录试样的最大和最小响应时间方位。 4.2.3 要求 A1 类试样8个方位上的响应时间应在1min 0s和4min 20s之间。 A2 、B、C、D、E、F和G类试样8个方位上的响应时间应在2min 0s和5min 30s之间。 4.3 动作温度试验4.3.1 目的检验探测器在低升温速率条件下,对温度正确响应的能力。 4.3.2 方法 试验用两只试样、一只在最大响应时间方位、另一只在最小响应时间方位上进行。按4.1.5规定,以1℃/min的升温速率升温至表1 规定的相应类别探测器的最高应用温度。然后,以不大于0.2℃/min的升温速率升温至试样动作,记录试样的动作温度。 4.3.3 要求 试样动作温度应在表1规定的动作温度上、下限值之间。 4.4 响应时间试验4.4.1 目的检验探测器稳定在典型应用温度环境下时,对一定升温速率范围的响应能力。 4.4.2 方法 试验用两中试样,一只在最大响应时间方位、另一只在最小响应时间方位上进行。按照规定,分别以1℃/min、3℃/min、5℃/min、10℃/min、20℃/min和30℃/min的升温速率升温至试样动作,记录试样在各升温速率下的响应时间。 4.4.3 要求 试样在各升温速率下的响应时间应符合表4规定。 4.5 25℃超始响应时间试验4.5.1 目的检验典型应用温度高于25℃的各类探测器在温度正常上升时不发生非正常快速响应的性能(A1和A2类探测器不进行此项试验)。 4.5.2 方法 试验用试样应在最小响应时间方位上进行。温箱中气流的初始温度为25℃,按4.1.5规定,分别以3℃/min和20℃/min的升温速率升温至试样动作,记录试样在各升温速率下的响应时间。 4.5.3 要求 试样以3℃/min和20℃/min的升温速率升温测量的响应时间应分别大于7min 13s和1min 0s。 表4 探测器响应时间
4.6 高温响应试验4.6.1 目的检验探测器在高温条件下工作的适应性。 4.6.2 方法 以不大于1℃/min的升温速率升温至表1 规定的相应类别试样的最高应用温度,稳定2h。然后按4.1.5条,分别以3℃/min和20℃/min和升温速率升温至试样动作。记录试样在各升温速率下的响应时间。 4.6.3 要求 a) 稳定前和稳定期间,试样不应发出火灾报警或故障信号; b) 试样的响应时间应符合表5规定。 表5 探测器高温响应时间
4.7 电源参数波动试验4.7.1 目的检验探测器在电源参数波动条件下工作的适应性。 4.7.2 方法 4.7.2.1 按制造商规定的供电参数上、下限值(如未规定,则上、下限参数分别为额定参数110%和85%)给试样供电,按4.1.5规定,分别以3℃/min和20℃/min和升温速率升温至试样动作。记录试样在各升温速率下的响应时间。 4.7.2.2 如试样采用脉动电压供电,将试样通过长度为1000m、截面积为1.0mm2的铜质双绞导线(或按照制造商提供的条件)与电源和监视设备连接,使其处于正常监视状态。分别将电源和监视设备的输入电压调至187V(50Hz)和242V(50Hz),按4.1.5规定,分别以3℃/min和20℃/min和升温速率升温至试样动作。记录试样在各升温速率下的响应时间。 4.7.3 要求 试样的响应时间应符合表4 规定。 4.8 环境试验前响应时间试验4.8.1 目的检验探测器环境试验前响应时间,以比较环境试验前、后响应时间的变化。 4.8.2 方法 按4.1.5规定,分别以3℃/min和20℃/min和升温速率升温至试样动作。记录试样在各升温速率下的响应时间。 4.8.3 要求 试样的响应时间应符合表4规定。 4.9 低温(运行)试验4.9.1 目的检验探测器在低温条件下工作的适应性。 4.9.2 方法 4.9.2.1 将试样放入试验箱内,按4.1.2规定使试样处于正常监视状态。在正常大气条件下保持1h,然后以不大于1℃/min的降温速率将温度降到—10℃±3℃,在此条件下稳定16 h,观察并记录试样状态。 4.9.2.2 关断电源和监视设备,以不大于1℃/min的升温速率升温至环境温度,取出试样,在正常大气条件下恢复1h以上。然后按4.1.5规定,分别以3℃/min和20℃/min和升温速率升温至试样动作。记录试样在各升温速率下的响应时间。 4.9.3 要求 a) 降温及温度保持期间,试样不应发出火灾报警或故障信号; b) 可复位探测器试样对3℃/min升温速率的响应时间不应小于7min 13s,且与环境试验前响应时间相比变化不应超过2min 40s;对20℃/min升温速率的响应时间A1类探测器不应小于30s ,除A1类外其他类探测器不应小于1min 0s,且与环境试验前响应时间相比变化不应超过30s; c)不可复位探测器试样的响应时间应符合表4规定。 4.9.4 试验设备 试验设备应满足GB 16838的相关规定。 4.10 高温(耐久)试验4.10.1 目的检验探测器耐受高温的能力(A1、A2和B类探测器不进行此项试验)。 4.10.2 方法 4.10.2.1 将试样放入表6所示温度的试验箱内持续21d 。高温环境期间试样不通电。 4.10.2.2 将试样由试验箱中取出,在正常大气条件下恢复1h以上,按4.1.2规定连接,并接通电源,观察并记录试样状态。若试样能处于正常监视状态,按4.1.5规定,分别以3℃/min和20℃/min的升温速率升温至试样动作。记录试样在各升温速率下的响应时间。 4.10.3 要求 a) 高温环境后,接通电源和监视设备,试样不应发出故障信号; b) 可复位探测器试样对3℃/min升温速率的响应时间不应小于7min 13s ,且与环境试验前响应时间相比变化不应超过2min 40s;对20℃/min升温速率的响应时间不应小于1min 0s,且与环境试验前响应时间相比变化不应超过30s; c) 不可复位探测器试样的响应时间应符合表4 规定。 表6 高温(耐久)试验条件
4.10.4 试验设备 试验设备应满足GB 16838的相关规定。 4.11 交变湿热(运行)试验4.11.1 目的检验探测器在温度循环变化、表面产生凝露的湿热条件下正常工作的能力。 4.11.2 方法 4.11.2.1 将试样放入试验箱内,按4.1.2规定使试样处于正常监视状态。 4.11.2.2 按GB 163838中相应条款规定的试验方法,对试样进行高温温度为40℃±2℃、2个循环周期的交变湿热(运行)试验。期间观察并记录试样状态。 4.11.2.3 关断电源和监视设备,取出试样,在正常大气条件下恢复1h以上。然后按4.1.5规定,分别 以3℃/min和20℃/min和升温速率升温至试样动作。记录试样在各升温速率下的响应时间。 4.11.3 要求 a) 湿热环境期间,试样不应发出火灾报警或故障信号; b) 可复位探测器试样对3℃/min升温速率的响应时间不应小于7min 13s ,且与环境试验前响应时间相比变化不应超过2min 40s ;对20℃/min升温速率的响应时间A1类探测器不应小于30s ,除A1类外其他类探测器不应小于1min 0s ,且与环境试验前响应时间相比变化不应超过30s; c) 不可复位探测器试样的响应时间应符合表4 规定。 4.11.4 试验设备 试验设备应满足GB 16838的相关规定。 4.12 恒定湿热(耐久)试验4.12.1 目的检验探测器在使用环境中承受湿度长期影响的能力。 4.12.2 方法 4.12.2.1 将试样在温度为40℃±2℃的试验箱中放置2h后,, 调节试验箱, ,使试样在温度为40℃±2℃、相对湿度为93%±3%的条件下持续21d。湿热环境期间试样不通电。 4.12.2.2 取出试样,在正常大气条件下恢复1h以上,按4.1.2规定连接,并接通电源,观察并记录试样状态。若试样能处于正常监视状态,按4.1.5规定,分别以3℃/min和20℃/min和升温速率升温至试样动作。记录试样在各升温速率下的响应时间。 4.12.3 要求 a) 湿热环境期间,接通电源和监视设备,试样不应发出故障信号; b) 可复位探测器试样对3℃/min升温速率的响应时间不应小于7min 13s,且与环境试验前响应时间相比变化不应超过2min 40s ;对20℃/min升温速率的响应时间A1类探测器不应小于30s,除A1类外其他类探测器不应小于1min 0s,且与环境试验前响应时间相比变化不应超过30s; c) 不可复位探测器试样的响应时间应符合表4 规定。 4.12.4 试验设备 试验设备应满足GB 16838的相关规定。 4.13 SO2腐蚀(耐久)试验4.13.1 目的检验探测器抗SO2腐蚀的能力。 4.13.2 方法 4.13.2.1 试样连接足够长的非镀锡铜导线,以保证腐蚀环境后可直接测量响应时间;腐蚀环境期间试样不通电。 4.13.2.2 将试样按4.1.3规定安装在一个温度为25℃±2℃、SO2浓度为(25±5)×10-6(体积比)、相对湿度为93%±3%的试验箱中,持续21d。 4.13..2.3 腐蚀环境后,将试样放置在温度为40℃±2℃、相对湿度低于50%的试验箱中干燥16h后,再将试样取出,在正常大气条件下恢复1h以上。按4.1.2规定连接,并接通电源,观察并记录试样状态。若试样能处于正常监视状态,按4.1.5规定,分别以3℃/min和20℃/min和升温速率升温至试样动作。记录试样在各升温速率下的响应时间。 4.13.3 要求 a) 腐蚀环境后,接通电源和监视设备,试样不应发出故障信号; b) 可复位探测器试样对3℃/min升温速率的响应时间不应小于7min 13s ,且与环境试验前响应时间相比变化不应超过2min 40s ;对20℃/min升温速率的响应时间A1类探测器不应小于30s,除A1类外其他类探测器不应小于1min 0s,且与环境试验前响应时间相比变化不应超过30s; c) 不可复位探测器试样的响应时间应符合表4规定。 4.13.4 试验设备 试验设备应满足GB 16838的相关规定。 4.14 冲击(运行)试验4.14.1 目的检验探测器经受非多次重复性冲击的适应性及其结构的完好性。 注:质量大于4.75kg的试样不进行此项试验。 4.14.2 方法 4.14.2.1 将试样按4.1.3规定刚性安装在冲击试验台上,按4.1.2规定使试样处于正常监视状态。 4.14.2.2 启动冲击试验台,对M(kg)的试样,以峰值加速度为(100—20M)×10m/s2,脉冲持续时间为6ms的半正弦波脉冲,对试样的3个互相垂直的轴线中的每个方向连续冲击3次,总计18次。冲击结束后,保持2min 。观察并记录试样状态。 4.14.2.3 检查试样外观及紧固部位。然后按4.1.5规定,分别以3℃/min和20℃/min和升温速率升温至试样动作。记录试样在各升温速率下的响应时间。 4.14.3 要求 a) 冲击期间及其后2min内,试样不应发出火灾报警或故障信号; b) 试验后,试样不应有机械损伤和紧固部位松动现象; c) 可复位探测器试样对3℃/min升温速率的响应时间不应小于7min 13s ,且与环境试验前响应时间相比变化不应超过2min 40s;对20℃/min升温速率的响应时间A1类探测器不应小于30s ,除A1类外其他类探测器不应小于1min 0s,且与环境试验前响应时间相比变化不应超过30s; d) 不可复位探测器试样的响应时间应符合表4规定。 4.14.4 试验设备 试验设备应满足GB 16838的相关规定。 4.15 碰撞(运行)试验4.15.1 目的检验探测器承受机械碰撞的适应性。 4.15.2 方法 4.15.2.1 将试样按4.1.3规定刚性安装在碰撞试验设备的水平安装板上,按4.1.2规定使试样处于正常监视状态。 4.15.2.2 调整碰撞试验设备,使锤头碰撞面能够从水平方向碰撞试样,并对准试样最易遭受破坏的部位。然后,以1.5m/s±0.13m/s的锤头速度、1.9J±0.1J的碰撞动能碰撞试样。碰撞后,保持2min。观察并记录试样状态。 4.15.2.3 检查试样外观及紧固部位。然后按4.1.5规定,3℃/min和20℃/min和升温速率升温至试样动作。记录试样在各升温速率下的响应时间。 4.15.3 要求 a) 碰撞期间及其后2min内,试样不应发出火灾报警或故障信号; b) 试验后,试样不应有机械损伤和紧固部位松动现象; c) 可复位探测器试样对3℃/min升温速率的响应时间不应小于7min 13s ,且与环境试验前响应时间相比变化不应超过2min 40s ;对20℃/min升温速率的响应时间A1类探测器不应小于30s ,除A1类外其他类探测器不应小于1min 0s ,且与环境试验前响应时间相比变化不应超过30s; d) 不可复位探测器试样的响应时间应符合表4规定。 4.15.4 试验设备 试验设备应满足GB 16838的相关规定。 4.16 振动(正弦)(运行)试验4.16.1 目的检验探测器经受振动的适应性及其结构的完好性。 4.16.2 方法 4.16.2.1 将试样按4.1.3规定刚性安装在振动台上,按4.1.2规定使试样处于正常监视状态。 4.16.2.2 启动振动试验台,使其在10Hz~150Hz~10Hz的频率循环范围内,以4.905m/s2的加速度幅值、1倍频程每分的扫频速率,分别在X、Y、Z三个互相垂直的轴线上进行1次扫频循环。观察并记录试样状态。 4.16.2.3 检查试样外观及紧固部位。然后按4.1.5规定,分别以3℃/min和20℃/min的升温速率升温至试样动作。记录试样在各升温速率下的响应时间。 4.16.3 要求 a) 振动期间,试样不应发出火灾报警或故障信号; b) 试验后,试样不应有机械损伤和紧固部位松动现象; c) 可复位探测器试样对3℃/min升温速率的响应时间不应小于7min 13s,且与环境试验前响应时间相比变化不应超过2min 40s;对20℃/min升温速率的响应时间A1类探测器不应小于30s,除A1类外其他类探测器不应小于1min 0s,且与环境试验前响应时间相比变化不应超过30s; d) 不可复位探测器试样的响应时间应符合表4规定。 4.16.4 试验设备 试验设备应满足GB 16838的相关规定。 4.17 振动(正弦)(耐久)试验4.17.1 目的检验探测器长时间承受振动影响的能力。 4.17.2 方法 4.17.2.1 将试样按4.1.3规定刚性安装在振动台上。振动期间试样不通电。 4.17.2.2 启动振动试验台,使其在10Hz~150Hz~10Hz的频率循环范围内,以9.810m/s2的加速度幅值、1倍频程每分的扫频速率,分别在X、Y、Z三个互相垂直的轴线上进行20次扫频循环。 4.17.2.3 检查试样外观及紧固部位。按4.1.2规定连接,并接通电源,观察并记录试样状态,若试样能处于正常监视状态,按4.1.5规定,3℃/min和20℃/min和升温速率升温至试样动作。记录试样在各升温速率下的响应时间。 4.17.3 要求 a) 振动后,试样不应有机械损伤和紧固部位松动现象;接通电源和监视设备,试样不应发出火灾报警或故障信号; b) 可复位探测器试样对3℃/min升温速率的响应时间不应小于7min 13s,且与环境试验前响应时间相比变化不应超过2min 40s ;对20℃/min升温速率的响应时间A1类探测器不应小于30s,除A1类外其他类探测器不应小于1min 0s,且与环境试验前响应时间相比变化不应超过30s; c)不可复位探测器试样的响应时间应符合表4规定。 4.17.4 试验设备 试验设备应满足GB 16838的相关规定。 4.18 静电放电抗扰度试验4.18.1 目的检验探测器对带静电人员、物体造成的静电放电的适应性。 4.18.2 方法 4.18.2.1 将试样按GB/T 17626.2中7.1.1规定进行试验布置,按4.1.2规定使试样处于正常监视状态。 4.18.2.2 按GB/T 17626.2中第8章规定的试验方法对试样及耦合板施加表7所示条件下的扰试验,期间观察并记录试样状态。 表7 静电放电抗扰度试验条件
4.18.2.3 上述试验完成后,按4.1.5规定,分别以3℃/min和20℃/min的升温速率升温至试样动作。记录试样在各升温速率下的响应时间。 4.18.3 要求 a) 干扰环境期间,试样不应发出火灾报警或故障信号; b) 可复位探测器试样对3℃/min升温速率的响应时间不应小于7min 13s ,且与环境试验前响应时间相比变化不应超过2min 40s;对20℃/min升温速率的响应时间A1类探测器不应小于30s,除A1类外其他类探测器不应小于1min 0s,且与环境试验前响应时间相比变化不应超过30s; c) 不可复位探测器试样的响应时间应符合表4 规定。 4.18.4 试验设备 试验设备应满足GB/T 17626.2的相关规定。 4.19 射频电磁场辐射抗扰度试验4.19.1 目的检验探测器在射频电磁场辐射环境下工作的适应性。 4.19.2 方法 4.19.2.1 将试样按GB/T 17626.3中7.1规定进行试验布置,按4.1.2规定使试样处于正常监视状态。 4.19.2.2 按GB/T 17626.3中第8章规定的试验方法对试样施加表8所示条件下的干扰试验,期间观察并记录试样状态。 4.19.2.3 上述试验完成后,按4.1.5规定,分别以3℃/min和20℃/min和升温速率升温至试样动作。记录试样在各升温速率下的响应时间。 表8 射频电磁场辐射抗扰度试验条件
4.19.3 要求 a) 干扰环境期间,试样不应发出火灾报警或故障信号; b) 可复位探测器试样对3℃/min升温速率的响应时间不应小于7min 13s,且与环境试验前响应时间相比变化不应超过2min 40s;对20℃/min升温速率的响应时间A1类探测器不应小于30s,除A1类外其他类探测器不应小于1min 0s,且与环境试验前响应时间相比变化不应超过30s; c) 不可复位探测器试样的响应时间应符合表4规定。 4.19.4 试验设备 试验设备应满足GB/T 17626.3的相关规定。 4.20 射频场感应传导骚扰抗扰度试验4.20.1 目的检验探测器对射频场感应的传导骚扰的适应性。 4.20.2 方法 4.20.2.1 将试样按GB/T 17626.3中第7章规定进行试验布置,按4.1.2规定使试样处于正常监视状态。 4.20.2.2 按GB /T 17626.3中第8章规定的试验方法对试样施加表9所示条件下的干扰试验,期间观察并记录试样状态。 表9 射频场感应传导骚扰抗扰度试验条件
4.20.2.3 上述试验完成后,按4.1.5规定,分别以3℃/min和20℃/min的升温速率升温至试样动作。记录试样在各升温速率下的响应时间。 4.20.3 要求 a) 干扰环境期间,试样不应发出火灾报警或故障信号; b) 可复位探测器试样对3℃/min升温速率的响应时间不应小于7min 13s,且与环境试验前响应时间相比变化不应超过2min 40s;对20℃/min升温速率的响应时间A1类探测器不应小于30s,除A1类外其他类探测器不应小于1min 0s,且与环境试验前响应时间相比变化不应超过30s; c)不可复位探测器试样的响应时间应符合表4规定。 4.20.4 试验设备 试验设备应满足GB/T 17626.6的相关规定。 4.21 电快速瞬变脉冲群抗扰度试验4.21.1 目的检验探测器抗电快速瞬变脉冲群干扰的能力。 4.21.2 方法 4.21.2.1 将试样按GB/T 17626.4中7.2规定进行试验布置,按4.1.2规定使试样处于正常监视状态。 4.21.2.2 按GB/T 17626.4中第8章规定的试验方法对试样施加表10所示条件下的干扰试验,期间观察并记录试样状态。 表10 电快速瞬变脉冲群抗扰度试验条件
4.21.2.3 上述试验完成后,按4.1.5规定,分别以3℃/min和20℃/min的升温速率升温至试样动作。记录试样在各升温速率下的响应时间。 4.21.3 要求 a) 干扰环境期间,试样不应发出火灾报警或故障信号; b) 可复位探测器试样对3℃/min升温速率的响应时间不应小于7min 13s,且与环境试验前响应时间相比变化不应超过2min 40s;对20℃/min升温速率的响应时间A1类探测器不应小于30s,除A1类外其他类探测器不应小于1min 0s,且与环境试验前响应时间相比变化不应超过30s; c) 不可复位探测器试样的响应时间应符合表4规定。 4.21.4 试验设备 试验设备应满足GB/T 17626.4的相关规定。 4.22 浪涌(冲击)抗扰度试验4.22.1 目的检验探测器对附近闪电或供电系统的电源切换及低电压网络、包括大容性负载切换等产生的电压瞬变(电浪涌)干扰的适应性。 4.22.2 方法 4.22.2.1 将试样按GB/T 17626.5中第7章规定进行试验布置,按4.1.2规定使试样处于正常监视状态。 4.22.2.2 按GB/T 17626.5中第8章规定的试验方法对试样施加表11所示条件下的干扰试验,期间观察并记录试样状态。 表11 浪涌(冲击)抗扰度试验条件
4.22.2.3 上述试验完成后,按4.1.5规定,分别以3℃/min和20℃/min的升温速率升温至试样动作。记录试样在各升温速率下的响应时间。 4.22.3 要求 a) 干扰环境期间,试样不应发出火灾报警或故障信号; b) 可复位探测器试样对3℃/min升温速率的响应时间不应小于7min 13s,且与环境试验前响应时间相比变化不应超过2min 40s;对20℃/min升温速率的响应时间A1类探测器不应小于30s,除A1类外其他类探测器不应小于1min 0s,且与环境试验前响应时间相比变化不应超过30s; c) 不可复位探测器试样的响应时间应符合表4规定。 4.22.4 试验设备 试验设备应满足GB/T 17626.5的相关规定。 4.23 S型探测器附加试验4.23.1 目的检验S型探测器在低于动作温度下限环境下的稳定性。 4.23.2 方法 4.23.2.1 检查试样在5.2、5.4、5.7和5.8项试验中测得的响应时间是否符合表12规定。 4.23.2.2 按4.1.2规定使试样处于正常监视状态。针对不同类别探测器,在表13规定初始温度环境下稳定后,将试样在10s内按最小响应时间方位放入气流速度为0.8m/s±0.1m/s、温度为表13规定气流温度的试验箱内,保持10min以上,观察并记录试样状态。 表12 S型探测器响应时间下限
表13 S型探测器附加试验温度
4.23.3 要求 a) 试样的响应时间不应小于表12规定的响应时间下限值; b) 试验期间,试样不应发出火灾报警或故障信号。 4.23.4 试验设备 试验设备应满足GB 16838的相关规定。 4.24 R型探测器附加试验4.24.1 目的检验R型探测器在温度较低的环境中对快速升温的响应能力。 4.24.2 方法 针对不同类别探测器,一只在最大响应时间方位上、另一只在最小响应时间方位上,从表14规定的初始温度,按4.1.5规定分另以10℃/min、20℃/min和30℃/min的升温速率升温至试样动作。记录试样在各升温速率下的响应时间。 表14 R型探测器附加试验初始温度
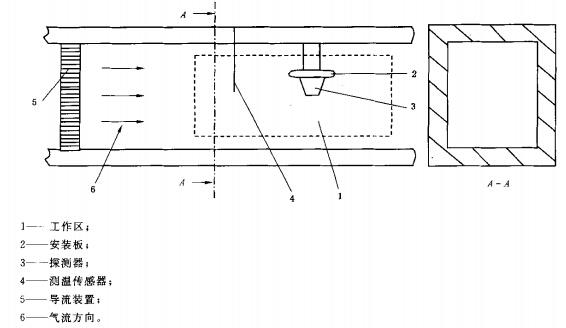
试样的响应时间应符合表4规定。 5 检验规则5.1 产品出厂检验5.2 型式检验 5.1 产品出厂检验5.1.1 制造商在产品出厂前应对探测器至少进行下述试验项目的检验:a) 响应时间试验; b) 高温响应试验; c) 电源参数波动试验; d) 碰撞(运行)试验; e) 低温(运行)试验; f) S型或R型探测器附加试验。 5.1.2 制造商应规定抽样方法、检验和判定规则。 5.2 型式检验5.2.1 型式检验项目为本标准第4章4.2~4.24规定的试验项目。5.2.2 有下列情况之一时,应时行型式检验: a) 新产品或老产品转厂生产时的试制定型鉴定; b) 正式生产后,产品的结构、主要部件或元器件、生产工艺等有较大的改变可能影响产品性能或正式投产满5年; c) 产品停产一年以上,恢复生产; d) 出厂检验结果与上次型式检验结果差异较大; e) 发生重大质量事故。 5.2.3 检验结果按GB 12978中规定的型式检验结果判定方法进行判定。 6 标志6.1 总则6.2 产品标志 6.3 质量检验标志 6.1 总则6.1.1 标志在探测器安装维护过程中应清晰可见。6.1.2 标志不应贴在螺丝或其他易被拆卸的部件。 6.2 产品标志6.2.1 每只探测器应清晰标志如下信息:a) 产品名称和类别(如A1、A1R、A1S、A2、B等),如果探测器的类别可以现场设置,则用符合P代替类别标志(见3.8); b) 本标准标准号; c) 制造商名称或商标; d) 型号; e) 接线端子标注; f) 制造日期、产品编号、产地和探测器软件版本号。 对于可拆卸探测器,探头上的标志应包含a)、b)、c)、d)和f)项,底座上的标志应至少包含d)和e)项。 6.2.2 产品标志信息中如使用不常用符号或缩写时,应在探测器的使用说明书说明。 6.3 质量检验标志探测器应有质量检验标志。附录 A(规范性附录)标准温箱检验探测器响应时间的试验设备是专用的标准温箱。温箱的风道截面为正方形,并有一个水平工作区域,如图A.1所示,探测器安装在风道工作区域的顶板上,并使它与风道的两个侧壁对称。风道中的气流流速在试验过程中应始终为0.8m/s±0.1m/s(25℃时测量值),并能分别以0.2℃/min、1℃/mi、3℃/mi、5℃/mi、10℃/min、20℃/min、30℃/min的升温速率升温;测温误差为±2℃,响应时间测量误差±1s。应保证探测器附近的气流不受风道底面和侧壁的影响,探测器不应受到加热器的直接辐射作用。 测温元件距离风道工作区域风道顶板应大于25mm,并且测温元件在水平方向上位于探测器的迎风侧距探测器至少50mm。测温元件的时间常数应小于2s。
图A.1 标准温箱工作区域示意图 |
1. 本站所有资源来源于用户上传和网络,仅作为演示数据,如有侵权请邮件联系站长!
2. 盗版,破解有损他人权益和违法作为,请各位站长支持正版!
2. 盗版,破解有损他人权益和违法作为,请各位站长支持正版!

国家标准(强制)